Запчасти Case IH AUSTOFT (A01[25A]) - FERTILIZER BIN

Схема запчастей Case IH AUSTOFT - (A01[25A]) - FERTILIZER BIN
11
9
15
26
24
12
7
22
8
18
4
1
16
21
6
2
6
20
12
13
17
19
25
3
10
23
11
14
5
FIT
1:1
100%

Артикул

Название

Примечание

Количество

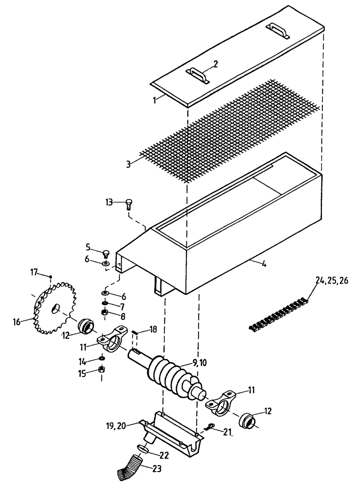
1

87239362

LID

2шт.

2

87238399

HANDLE

4шт.

3

87239521

SCREEN

MESH

2шт.

4

87239197

HOPPER

BIN

2шт.

5

FM12030

BOLT

8шт.

6

WA120000

WASHER

16шт.

7

WB120000

WASHER

8шт.

8

NA112000

NUT

8шт.

9

42-06369

AUGER

(LHS)

1шт.

10

42-06353

AUGER

(RHS)

1шт.

11

42-06321

BEARING

housing

4шт.

12

42-06320

BEARING

4шт.

13

FM110040

BOLT

8шт.

14

WB100000

WASHER

8шт.

15

NA110000

NUT

16шт.

16

87240398

SPROCKET ASSY.

2шт.

17

FE106012

SCREW,M6 x 12mm

4шт.

18

42-06372

KEY

2шт.

19

87239359

BOX

TROUGH (LHS)

1шт.

20

87239367

BOX

TROUGH (RHS)

1шт.

21

42-11151

CLIP

R

8шт.

22

00135784

HOSE CLAMP

2шт.

23

42-06354

HOSE

2шт.

24

42-06246

ASSEMBLY

CHAIN

1шт.

25

42-06326

CONNECTING LINK

1шт.

26

42-06327

HALF-LINK

1шт.

Выбрано товаров: 0