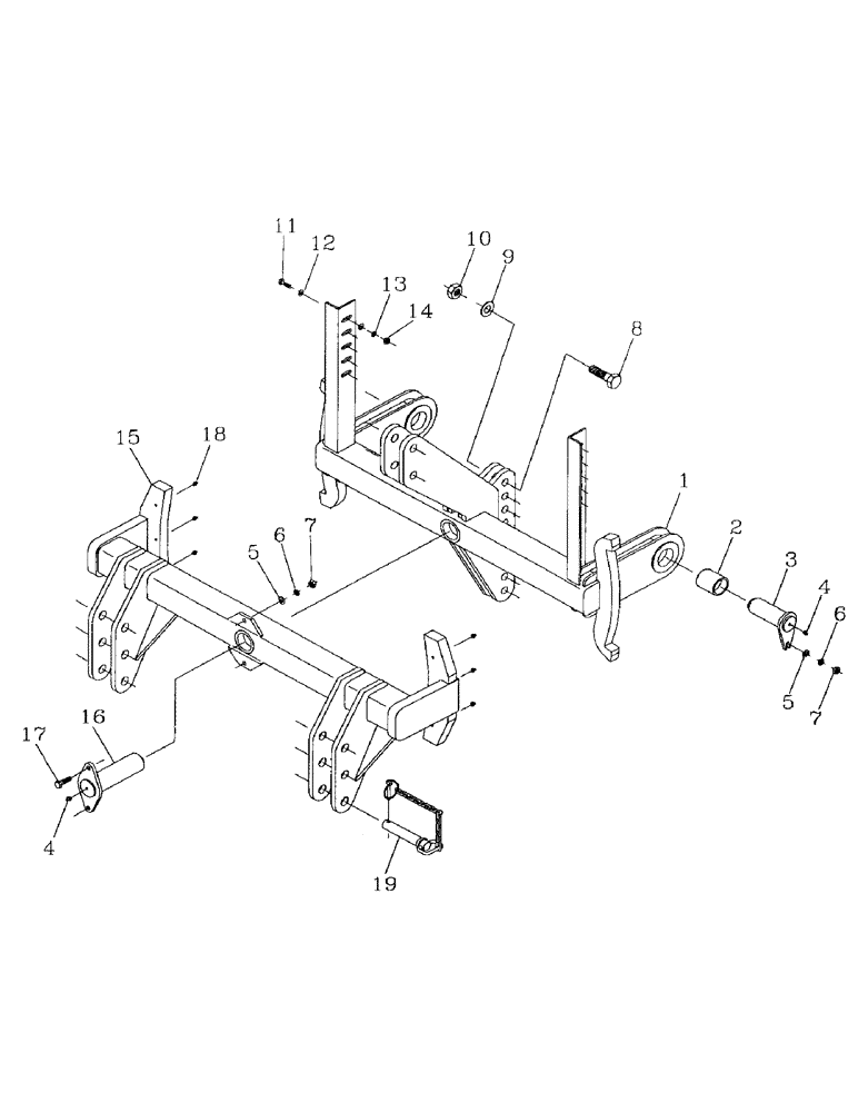
Запчасти Case IH AUSTOFT (A01-03) - FRONT HITCH Mainframe & Functioning Components

Схема запчастей Case IH AUSTOFT - (A01-03) - FRONT HITCH Mainframe & Functioning Components
16
19
12
7
4
9
17
1
3
8
5
5
6
7
10
13
14
4
18
11
2
15
6
FIT
1:1
100%

Артикул

Название

Примечание

Количество

1

42-06595

HITCH

1шт.

2

42-06521

BUSHING

BUSH

2шт.

3

87239004

PIN

2шт.

4

00152827

LUBE NIPPLE

GREASE NIPPLE

3шт.

5

WA120000

WASHER

4шт.

6

WB120000

WASHER

4шт.

7

NA112000

NUT

4шт.

8

FM124100

BOLT

2шт.

9

WA240000

WASHER

2шт.

10

NC124000

NUT

NUT

2шт.

11

FM110030

BOLT

2шт.

12

WA100000

WASHER

4шт.

13

WB100000

WASHER

2шт.

14

NA110000

NUT

2шт.

15

42-06554

HITCH ASSY

HITCH (pivoting)

1шт.

16

87239023

PIN

1шт.

17

FM112035

BOLT

2шт.

18

00132702

LUBE NIPPLE

GREASE NIPPLE

6шт.

19

00608226

PIN

2шт.

Выбрано товаров: 0