Запчасти Case IH AUSTOFT (C01-03) - LORSBAN TANK Engine & Engine Attachments

Схема запчастей Case IH AUSTOFT - (C01-03) - LORSBAN TANK Engine & Engine Attachments
6
17
15
14
6
10
4
23
8
10
1
13
16
18
15
16
11
12
7
3
22
11
5
20
6
6
12
14
2
7
6
7
13
19
9
7
21
FIT
1:1
100%

Артикул

Название

Примечание

Количество

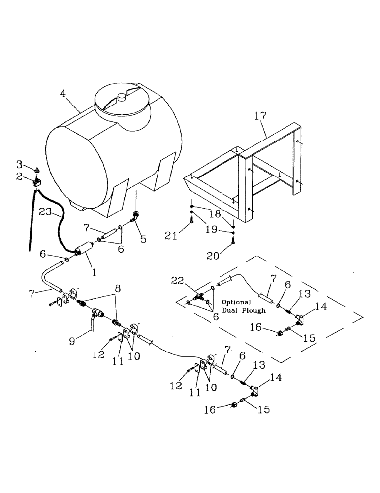
1

00198012

WATER PUMP

PUMP

1шт.

2

00198014

SWITCH

1шт.

3

00198015

COVER ASSY

COVER

1шт.

4

00180036

SEAL

TANK

1шт.

5

00139799

ELBOW

1шт.

6

00152125

HOSE CLAMP

CLAMP

1шт.

7

00154521

HOSE

1шт.

8

00139800

HYD CONNECTOR

NIPPLE

2шт.

9

00180721

PUMP, HYDROSTATIC

BALL VALVE

1шт.

10

00405108

CLAMP

4шт.

11

00409572

COVER PLATE

4шт.

12

FA106040

BOLT

8шт.

13

00181137

DEFLECTOR

DIRECTOR

1шт.

14

00181139

BODY

1шт.

15

00181140

JET

SPRAY JET

1шт.

16

00181138

CAP

SPRAY CAP

1шт.

17

87240984

CLAMP BRACKET

MOUNT

1шт.

18

00605807

WASHER

4шт.

19

00605826

WASHER

4шт.

20

00601494

BOLT

3шт.

21

00601498

BOLT

1шт.

22

00180929

TEE

1шт.

23

87254817

HARNESS

1шт.

Выбрано товаров: 0