Запчасти Case IH 150 (22) - GRAIN HOPPER UNIT

Схема запчастей Case IH 150 - (22) - GRAIN HOPPER UNIT
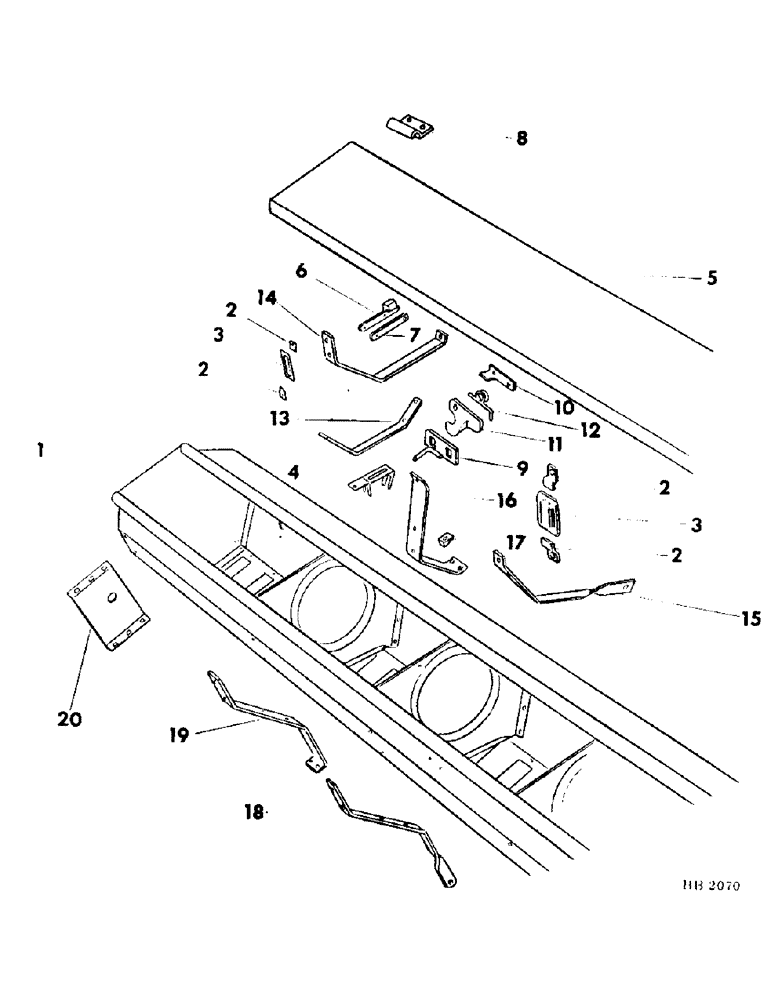
8
15
2
12
2
3
18
10
9
13
7
2
16
2
17
4
5
11
14
19
20
6
3
FIT
1:1
100%

Артикул

Название

Примечание

Количество

1

607501R91

HOPPER ASSY, grain, 10X8

1шт.

1

606081R94

HOPPER ASSY, grain, 20X8

1шт.

1

594633R91

HOPPER ASSY, grain, 10X10

1шт.

1

605399R93

HOPPER ASSY, grain, 14X10

1шт.

1

605400R93

HOPPER ASSY, grain, 16X10

1шт.

1

594634R91

HOPPER ASSY, grain, 8X12

1шт.

1

608935R92

HOPPER ASSY, grain, 10X12

1шт.

1

608947R92

HOPPER ASSY, grain, 14X12

1шт.

1

605401R93

HOPPER ASSY, grain, 10X14 and 8X18

1шт.

1

605402R92

HOPPER ASSY, grain, 12X14

1шт.

88542

BOLT,Hex, 1/4"-20 x 1/2", Gr 5

1/4-20 x 1/2 hex-hd

2шт.

113-206

BOLT,Hex, 3/8" - 16 x 3/4", Gr 5, Full Thd

3/8-16 x 3/4 hex-hd, 15 used 10X8, 10X10 and 8X12, 18 used 20X8, 14X10, 16X10, 10X12, 14X12, 10X14, 12X14 and 8X18

1шт.

180122

BOLT,Hex, 3/8" - 16 x 1", Gr 5

3/8-16 x 1 hex-hd

4шт.

598809R1

CARRIAGE BOLT,Sht Sq Nk, 3/8" - 16 x 3/4", Gr 5

BOLT, 3/8-16 x 3/4 carriage

1шт.

495967R1

CARRIAGE BOLT,Short NK, 3/8"-16 x 1", G5, Full Thd

BOLT, 3/8-16 x 1 carriage

1шт.

173-210

SCREW,Sl Rnd Hd, #10 - 24 x 3/8"

#10-24 X 3/8 rd-hd std mach, 5 used on 10X14 & 8X18

1шт.

120375

NUT,Hex, 1/4" - 20, Gr 5

2шт.

120361

NUT,Hex Mach Screw, #10 - 24

1 per screw #10-24

1шт.

120377

NUT,3/8" - 16, Gr 5

1 used per bolt 3/8"-16, G5

1шт.

492-11025

LOCK WASHER,1/4"

WASHER, LOCK, 1/4"

2шт.

120382

LOCK WASHER,Helical Spring, 3/8"

WASHER, LOCK, , 1 per bolt 3/8"

1шт.

120217

LOCK WASHER,#10

WASHER, LOCK, , 1 per screw #10

1шт.

2

603229R1

RETAINER, vision window upper

2шт.

2

604320R1

CLIP

RETAINER, vision window lower

2шт.

85700996

SCREW,Phillips Drive, Pan HD, 1/4" - 20 x 1/2"

1/4-20 x 1/2 rd-hd sltd

4шт.

120375

NUT,Hex, 1/4" - 20, Gr 5

4шт.

492-11025

LOCK WASHER,1/4"

WASHER, LOCK, 1/4"

4шт.

3

603264R1

GLASS

WINDOW, seed vision

2шт.

4

603294R91

BRACKET ASSY, worm

1шт.

180077

BOLT,Hex, 5/16" - 18 x 3/4", Gr 5

5/16-18 x 3/4 hex-hd

2шт.

120376

NUT,5/16"-18, G5

2шт.

80681

LOCK WASHER,5/16"

WASHER, LOCK, 5/16"

2шт.

5

607502R91

COVER ASSY, grain hopper, 10X8

1шт.

5

606079R91

COVER ASSY, grain hopper, 20X8

1шт.

5

594639R91

COVER ASSY, grain hopper, 10X10 & 8X12

1шт.

5

605394R91

COVER ASSY, grain hopper, 14X10, 10X14 and 8X18

1шт.

5

605393R91

COVER ASSY, grain hopper, 16X10, 14X12 and 12X14

1шт.

5

608940R91

COVER ASSY, grain hopper, 10X12

1шт.

6

603176R11

STRAP ASSY, cover hold open upper

1шт.

432-1216

COTTER PIN,3/16" x 1"

Pin, Split (Cotter), 3/16" x 1"

1шт.

7

605334R1

BAR, cover hold open lower

1шт.

104068

RIVET, 3/16 x 5/8 small b-hd But Hd, 3/16" x 5/8"

1шт.

607893R1

WASHER

13/64 x 1/2 x 16 ga

2шт.

432-1216

COTTER PIN,3/16" x 1"

Pin, Split (Cotter), 3/16" x 1"

1шт.

8

603026R1

HINGE

cover, 4 used 10X8, 10X10 & 8X12 6 used 20X8, 14X10, 16X10, 10X12, 14X12, 10X14, 12X14 and 8X18

1шт.

120583

SCREW,Sl Rnd Hd, 1/4" - 20 x 5/8"

1/4-20 x 5/8 rd-hd sltd machine, 2 used per hinge

1шт.

120375

NUT,Hex, 1/4" - 20, Gr 5

1 used per screw 1/4"-20, G5

1шт.

492-11025

LOCK WASHER,1/4"

WASHER, LOCK, , 1 used per screw 1/4"

1шт.

9

604445R91

STOP

ASSY, grain hopper cover latch

1шт.

598795R1

CARRIAGE BOLT,Sht Sq Nk, 1/4" - 20 x 3/4", Gr 5

BOLT, 1/4-20 x 3/4 carriage

2шт.

120375

NUT,Hex, 1/4" - 20, Gr 5

2шт.

492-11025

LOCK WASHER,1/4"

WASHER, LOCK, 1/4"

2шт.

10

604451R1

ANGLE

cover latch

1шт.

85700996

SCREW,Phillips Drive, Pan HD, 1/4" - 20 x 1/2"

1/4-20 tr-hd sltd mach

1шт.

120375

NUT,Hex, 1/4" - 20, Gr 5

1шт.

492-11025

LOCK WASHER,1/4"

WASHER, LOCK, 1/4"

1шт.

11

604454R2

LATCH

cover fastener

1шт.

604447R1

BUSHING

cover fastener latch

1шт.

272519

SCREW

1/4-20 x 1 tr-hd-sltd-mach

1шт.

120375

NUT,Hex, 1/4" - 20, Gr 5

1шт.

492-11025

LOCK WASHER,1/4"

WASHER, LOCK, 1/4"

1шт.

12

604448R1

SPRING

cover latch

1шт.

13

606366R1

BRACE, inside hopper, 1 used 10X8, 10X10, 8X12 and 10X12, 3 used 20X8, 14X10, 16X10, 14X12, 10X14 and 8X18

1шт.

180126

BOLT,Hex, 3/8" - 16 x 1 1/2", Gr 5

3/8-16 x 1-1/2 hex-hd, 2 used 10X12, 6 used on 20X8, 14X10, 16X10, 14X12, 10X14 & 8X18

1шт.

120377

NUT,3/8" - 16, Gr 5

1 per bolt 3/8"-16, G5

1шт.

120382

LOCK WASHER,Helical Spring, 3/8"

WASHER, LOCK, , 1 per bolt 3/8"

1шт.

14

603401R1

BRACE, main inside hopper, 2 used 10X12

1шт.

180122

BOLT,Hex, 3/8" - 16 x 1", Gr 5

3/8-16 x 1 hex-hd

4шт.

180124

BOLT,Hex, 3/8" - 16 x 1 1/4", Gr 5

3/8-16 x 1-1/4 hex-hd

14шт.

180126

BOLT,Hex, 3/8" - 16 x 1 1/2", Gr 5

3/8-16 x 1-1/2 hex-hd

6шт.

120377

NUT,3/8" - 16, Gr 5

1 used per bolt 3/8"-16, G5

1шт.

120382

LOCK WASHER,Helical Spring, 3/8"

WASHER, LOCK, , 1 per bolt 3/8"

1шт.

614452R1

WASHER

13/32 x 1-1/4 x 11 ga

4шт.

15

605329R2

BRACE, hopper front, 20X8, 14X10, 16X10, 10X12, 14X12, 10X14 12X14 and 8X18

1шт.

180122

BOLT,Hex, 3/8" - 16 x 1", Gr 5

3/8-16 x 1 hex-hd

1шт.

180175

BOLT,Hex, 1/2" - 13 x 1 1/4", Gr 5

1/2-13 x 1-1/4 hex-hd

1шт.

120377

NUT,3/8" - 16, Gr 5

1шт.

120378

NUT,Hex, 1/2" - 13, Gr 5

NUT, 1/2"-13, G5

1шт.

120382

LOCK WASHER,Helical Spring, 3/8"

WASHER, LOCK, 3/8"

1шт.

120384

WASHER,1/2"

LOCK, 1/2"

1шт.

16

605331R2

BRACE, hopper front, 1 used 10X8, 10X10 and 8X12, 2 used 20X8 14X10, 16X10, 10X12, 14X12, 10X14, 12X14 and 8X18

1шт.

180122

BOLT,Hex, 3/8" - 16 x 1", Gr 5

3/8-16 x 1 hex-hd, 1 per brace

1шт.

180126

BOLT,Hex, 3/8" - 16 x 1 1/2", Gr 5

3/8-16 x 1-1/2 hex-hd, 4 used per brace

1шт.

120377

NUT,3/8" - 16, Gr 5

1 used per bolt 3/8"-16, G5

1шт.

120382

LOCK WASHER,Helical Spring, 3/8"

WASHER, LOCK, , 1 per bolt 3/8"

1шт.

17

603901R1

WASHER

tapered, 4 used 10X8, 10X10 and 8X12, 8 used 20X8, 14X10 16X10, 10X12, 14X12, 10X14, 12X14 and 8X18

1шт.

18

605330R1

BRACE, rear hopper, 20X8, 14X10, 16X10, 10X12, 14X12, 10X14, 12X14 and 8X18

1шт.

180122

BOLT,Hex, 3/8" - 16 x 1", Gr 5

3/8-16 x 1 hex-hd, 2 per brace

1шт.

180126

BOLT,Hex, 3/8" - 16 x 1 1/2", Gr 5

3-8-16 x 1-1/2 hex-hd

2шт.

180175

BOLT,Hex, 1/2" - 13 x 1 1/4", Gr 5

1/2-13 x 1-1/4 hex-hd

1шт.

120377

NUT,3/8" - 16, Gr 5

2шт.

120378

NUT,Hex, 1/2" - 13, Gr 5

NUT, 1/2"-13, G5

1шт.

120382

LOCK WASHER,Helical Spring, 3/8"

WASHER, LOCK, 3/8"

2шт.

120384

WASHER,1/2"

LOCK, 1/2"

1шт.

19

605332R1

BRACE, rear hopper, 1 used 10X8, 10X10 & 8X12, 2 used 20X8, 14X10 16X10, 10X12, 14X12, 10X14, 12X14 and 8X18

1шт.

180122

BOLT,Hex, 3/8" - 16 x 1", Gr 5

3/8-16 x 1 hex-hd, 2 per brace except 1-10X12, 10X10, 8X12

1шт.

180124

BOLT,Hex, 3/8" - 16 x 1 1/4", Gr 5

3/8-16 x 1-1/4, 1 per brace

1шт.

180126

BOLT,Hex, 3/8" - 16 x 1 1/2", Gr 5

3/8-16 x 1-1/2 hex-hd, 3-8X12, 10X10, 4-20X8, 14X10, 16X10, 10X12, 14x12, 10X14, & 8X18

1шт.

120377

NUT,3/8" - 16, Gr 5

1 per bolt 3/8"-16, G5

1шт.

120382

LOCK WASHER,Helical Spring, 3/8"

WASHER, LOCK, , 1 per bolt 3/8"

1шт.

20

605347R1

SUPPORT, hopper end LH, shown

1шт.

20

605348R1

SUPPORT, hopper end RH

1шт.

598809R1

CARRIAGE BOLT,Sht Sq Nk, 3/8" - 16 x 3/4", Gr 5

BOLT, 3/8-16 x 3/4 carriage

6шт.

495967R1

CARRIAGE BOLT,Short NK, 3/8"-16 x 1", G5, Full Thd

BOLT, 3/8-16 x 1 carriage

1шт.

120377

NUT,3/8" - 16, Gr 5

12шт.

120382

LOCK WASHER,Helical Spring, 3/8"

WASHER, LOCK, 3/8"

12шт.

Выбрано товаров: 106