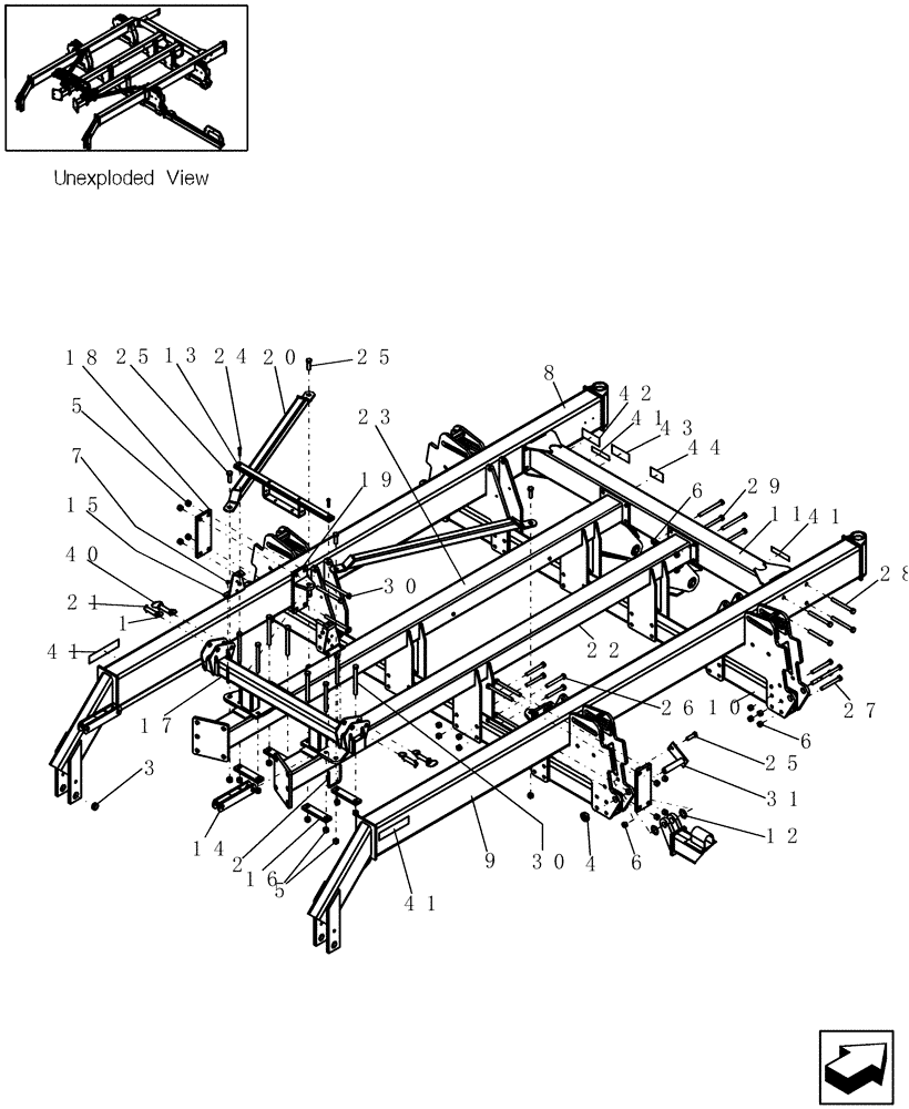
Запчасти Case IH 30 (39.100.01) - MAIN FRAME - HITCH (39) - FRAMES AND BALLASTING

Схема запчастей Case IH 30 - (39.100.01) - MAIN FRAME - HITCH (39) - FRAMES AND BALLASTING
9
18
31
27
29
26
3
4
17
23
30
21
6
43
44
25
42
13
10
12
6
25
40
2
5
25
20
30
15
5
14
41
41
16
24
19
22
41
11
28
7
41
1
6
8
FIT
1:1
100%

Артикул

Название

Примечание

Количество

1

6425

LINCH PIN

7/16" x 1 3/8"

2шт.

2

1030501

U-BOLT

us 3/8"-16 x 4" x 5" zp 1" of thread

2шт.

3

1268054C1

BUSHING,38.18mm ID x 45.47mm OD x 19.05mm L

tension 1 3/4" x 1 1/2" x 3/4" lg

4шт.

4

87010729

JAM NUT,Jam, 1 1/2"-6, G5

4шт.

5

86754

NUT,3/4"-10, GB

20шт.

6

280375

NUT,3/4"-10, GC

68шт.

7

231-1446

NUT,3/8" - 16, Gr 5

6шт.

8

87673439

FRAME

main with truss LH

1шт.

9

87666076

FRAME

main with truss RH

1шт.

10

86984011

TUBE,101.60 mm W x 152.40 mm H x 3200.50 mm L

3/8" x 4" x 6" with holes

2шт.

11

87665742

TUBE,2283.6 mm L

with cross

1шт.

12

350338A1

WASHER

1 9/16" x 2 1/2" x 14 GA

8шт.

13

351435A1

TUBE

coupler

1шт.

14

351439A1

PIVOT,Uses 2 - 1" pins

link

2шт.

For TBH Cart and Disc Drills

1шт.

14

GE-197

LINKAGE,Uses 1 each of 1" and 3/4" pins

mount, pivot link

2шт.

For TBH Cart and Hoe Drills

1шт.

15

351634A1

BRACKET

mounting

2шт.

16

351638A1

BAR

bolting

4шт.

17

351645A1

HITCH

1шт.

18

351647A1

BAR

bolting

2шт.

19

351650A1

WELDABLE LUG

hitch

2шт.

20

351654A1

BRACKET

wing

2шт.

21

351935A1

PIN

draw, 1" x 3 1/2"

2шт.

Includes 6425

1шт.

22

351940A2

TUBE

truss hitch RH

1шт.

23

351941A2

TUBE

truss hitch LH

1шт.

24

88436

BOLT,Hex, 3/8" - 16 x 2", Gr 5

2шт.

25

9706701

BOLT,Hex, 3/4" - 10 x 2 1/2", Gr 5

8шт.

26

86508735

BOLT,Hex, 3/4" - 10 x 6", Gr 8

16шт.

27

426-12104

BOLT,Hex, 3/4" - 10 x 6-1/2", Gr 8

32шт.

28

86557052

BOLT,Hex, 3/4" - 10 x 7 1/2", Gr 8

8шт.

29

426-12128

BOLT,Hex, 3/4" - 10 x 8", Gr 8

8шт.

30

426-12136

BOLT,Hex, 3/4" - 10 x 8-1/2", Gr 8

16шт.

31

425500A2

PIVOT PIN

1 1/2" od x x 5 5/8" ul

4шт.

40

412769A1

HITCH PIN

1" x 3 1/2" usable

2шт.

Includes linchpin

1шт.

41

311864A1

REFLECTOR

Retroreflective Amber 1.375" x 7.25"

4шт.

42

350336A1

DECAL

Danger - opener safety lock

1шт.

43

350335A1

DECAL

wing lock-up valve

1шт.

44

312479A1

DECAL

warning pictorial

1шт.

Выбрано товаров: 41