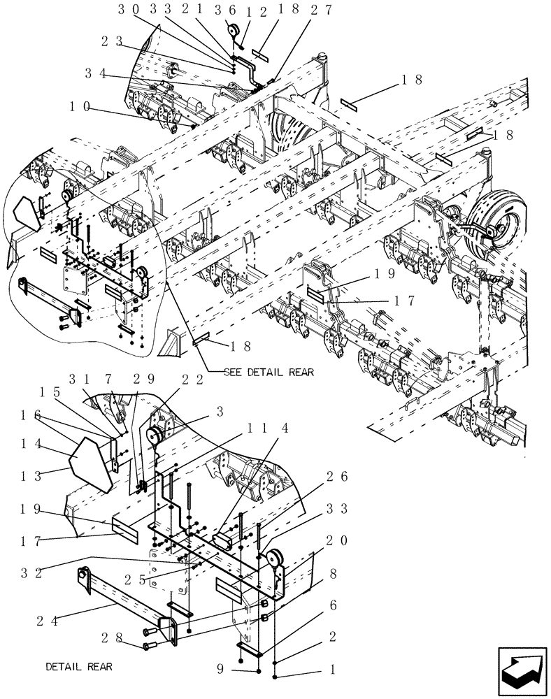
Запчасти Case IH 30 (55.404.01) - TRANSPORT LIGHTING AND REFLECTOR DECALS (55) - ELECTRICAL SYSTEMS

Схема запчастей Case IH 30 - (55.404.01) - TRANSPORT LIGHTING AND REFLECTOR DECALS (55) - ELECTRICAL SYSTEMS
18
28
22
15
13
7
11
18
10
34
27
17
16
9
12
2
30
33
21
18
24
17
3
18
26
31
1
8
25
23
29
19
32
14
33
20
19
6
36
4
FIT
1:1
100%

Артикул

Название

Примечание

Количество

1

280431

NUT,1/2"-13, G5

2шт.

2

80679

LOCK WASHER,1/20.507 CST ZND

2шт.

3

51200040

LIGHT

assy. stop tail/signal red

2шт.

Includes 6815 and 86537133

1шт.

3

6815

LENS

red

2шт.

3

86537133

BULB,C6, #1157, 12.8V

2шт.

3

84129422

BULB

Double Contact, 1156DC

2шт.

4

86561136

MODULE

implement lighting control

1шт.

5

412917A1

HARNESS

seedtool lighting 31'

1шт.

6

1023957

LARGE PLATE

PLATE, LARGE backup

2шт.

7

85700996

SCREW,Phillips Drive, Pan HD, 1/4" - 20 x 1/2"

2шт.

8

86755

NUT,1"-8, GB

4шт.

9

87530607

NUT

1/2"-13, GB

4шт.

10

280375

NUT,3/4"-10, GC

28шт.

11

86050277

NUT,5/16"-18, GB

2шт.

12

87692877

MULTIPOLE CONNECTOR,Male, 2 Cavities

plastic 2c receptacle

2шт.

13

311858A1

DECAL

SMV Emblem

1шт.

15

311861A1

SUPPORT

SMV sign

1шт.

16

311862A1

PLATE

assembly, slow moving vehicle

1шт.

16

86547710

EMBLEM

KIT SMV

1шт.

16

412742A1

WARNING SIGN

smv steel back 4 holes

2шт.

17

311863A1

REFLECTOR

Retroreflective Red

4шт.

18

311864A1

REFLECTOR

Retroreflective Amber 1.375" x 7.25"

8шт.

19

311865A1

REFLECTOR

fluorescent orange

4шт.

20

351668A1

BRACKET

SDX transport light

1шт.

21

87442626

BRACKET

light with decal

2шт.

Includes decal 311864A1

1шт.

22

847590

BRACKET

socket, female, SMV emblem

1шт.

23

280963

NUT,Nut, 1/2-20 GR 5 ZND

2шт.

24

425181A1

SUPPORT

bolting main

1шт.

25

88206

BOLT,Hex, 3/8" - 16 x 1", Gr 5

4шт.

26

86505997

BOLT,Hex, 1/2" - 13 x 7 1/2", Gr 5

4шт.

27

9706701

BOLT,Hex, 3/4" - 10 x 2 1/2", Gr 5

4шт.

28

426-1640

BOLT,Hex, 1" - 8 x 2-1/2", Gr 8

4шт.

29

280497

CARRIAGE BOLT,Short Sq Nk, 5/16" - 18 x 3/4", Gr 5, Full Thd

2шт.

30

80679

LOCK WASHER,1/20.507 CST ZND

2шт.

31

7770

NUT,Hex, 1/4 - 20, Cl 5

2шт.

32

87016

WASHER,0.41" ID x 0.81" OD x 0.07" Thk

8шт.

33

87364

WASHER,0.53" ID x 1.06" OD x 0.1" Thk

6шт.

34

87381

WASHER,0.81" ID x 1.47" OD x 0.13" Thk

12шт.

35

6-11250

INSTRUCTION

transport light

1шт.

36

87564157

WARNING LIGHT

assembly amber

2шт.

Выбрано товаров: 42