Запчасти Case IH 40 (55.100.02) - FLOW REMOTE MODULE AND MOUNTING (55) - ELECTRICAL SYSTEMS

Схема запчастей Case IH 40 - (55.100.02) - FLOW REMOTE MODULE AND MOUNTING (55) - ELECTRICAL SYSTEMS
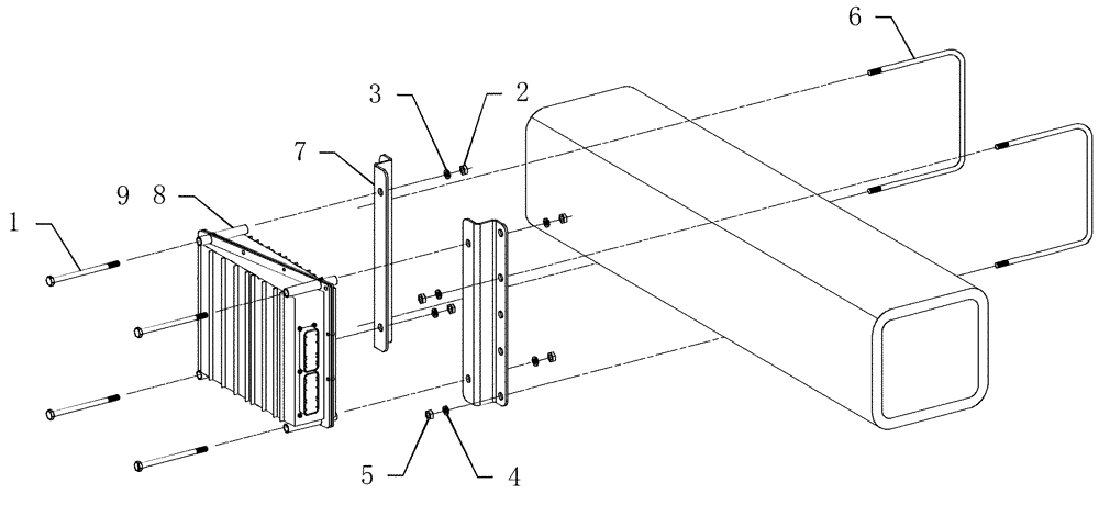
3
4
2
8
1
6
5
7
9
FIT
1:1
100%

Артикул

Название

Примечание

Количество

1

280492

BOLT,Hex, 1/4" - 20 x 3 1/2", Gr 5

4шт.

2

7770

NUT,Hex, 1/4 - 20, Cl 5

4шт.

3

80682

LOCK WASHER,1/4"

4шт.

4

80681

LOCK WASHER,5/16"

4шт.

5

9635082

NUT,5/16" - 18, Gr 5

4шт.

6

87416235

U-BOLT

us 5/16"-18 x 6 1/8" w x 6 3/4" d GR2 3/4" thread

2шт.

7

87415392

BRACKET

FlexControl remote mount

2шт.

8

15762

ECU

flow optical

1шт.

8

87659831R

REMAN-MODULE

Flow Optical

1шт.

8

87659831C

CORE-MODULE

Return Number

1шт.

9

86983903

MODULE

flow gateway remote optical sensor

1шт.

9

87659830R

REMAN-MODULE

flow gateway remote optical sensor

1шт.

9

87659830C

CORE-MODULE

Return Number

1шт.

10

86984457

HARNESS

Harness Flow Gateway 9 Input RS232

1шт.

Выбрано товаров: 14