Запчасти Case IH 400 (75.200.27) - PACKER GANG ASSY 12" SPACING, 4 STEEL WHEELS (75) - SOIL PREPARATION

Схема запчастей Case IH 400 - (75.200.27) - PACKER GANG ASSY 12" SPACING, 4 STEEL WHEELS (75) - SOIL PREPARATION
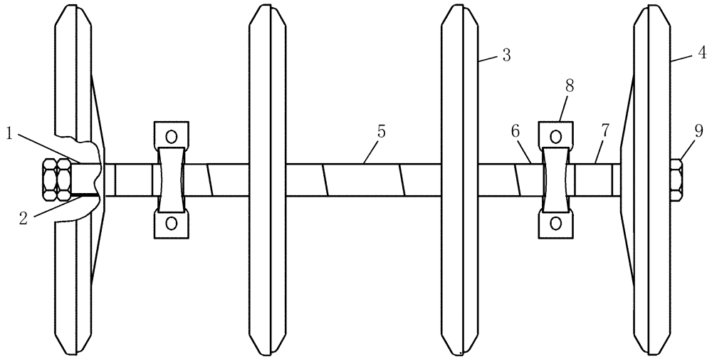
4
7
1
8
6
9
2
5
3
FIT
1:1
100%

Артикул

Название

Примечание

Количество

0

DS-306A

WHEEL ASSY

gang 12" spacing 4" x 3 1/2" steel

1шт.

0

DS-360A

WHEEL ASSY,552.45mm OD x 114.3mm W

gang 12" spacing 4" x 4 1/2" steel

1шт.

1

DR-524

SHAFT

gang 39 7/8" long

1шт.

Used on gang assemblies with 3.5" Press Wheels

1шт.

1

DR-597

SHAFT

gang 42 1/2"

1шт.

Used on gang assemblies with 4.5" Press Wheels

1шт.

2

DR-575

KEY

3/8" sq x 2 1/4" long

2шт.

3

DR-926

WHEEL

press 3 1/2" wide standard ( // ) spool

2шт.

Used on gang assemblies with 3.5" Press Wheels

1шт.

3

DS-400

WHEEL,552.45mm OD x 114.3mm W

press 4 1/2" steel standard ( // ) spool

2шт.

Used on gang assemblies with 4.5" Press Wheels

1шт.

4

DR-912

WHEEL,538.16mm OD x 88.9mm W

press 3 1/2" wide end ( !! ) spool

2шт.

Used on gang assemblies with 3.5" Press Wheels

1шт.

4

DS-401

WHEEL

press 4 1/2" steel end ( !! ) spool

2шт.

Used on gang assemblies with 4.5" Press Wheels

1шт.

5

DR-913

SPACER

press wheel 4 51/64" ( \\ )

2шт.

6

DS-305

SPACER

press wheel 1 21/32" ( \! )

2шт.

7

DS-306

SPACER

press wheel 2 5/16" ( !! )

2шт.

Used on gang assemblies with 3.5" Press Wheels

1шт.

7

DS-309

SPACER

press wheel 1 1/2" ( !! )

2шт.

Used on gang assemblies with 4.5" Press Wheels

1шт.

8

87414

LUBE NIPPLE,1/4" - 28

2шт.

8

87502149

BEARING HOUSING

pillow block

2шт.

8

6613

BALL BEARING,38.1mm ID x 80mm OD x 24mm W

1 1/2" bore

2шт.

8

6667

SET SCREW

1/4"-28 x 1/4" hl hex skt blk cp

2шт.

8

DR-004K

BEARING

kit packer - heavy duty triple lip seal

1шт.

Includes two bearings and four machine bushings to do one gang frame assembly

1шт.

9

6368

JAM NUT,1-1/2"-12, Cl 5

jam 1 1/2"-12

4шт.

10

DR-275KV2

KIT

3 1/2" press wheel recap bolt on

1шт.

Refer to 75.200.44

1шт.

Used on gang assemblies with 3.5" Press Wheels

1шт.

Выбрано товаров: 31