Запчасти Case IH 400 (55.640.02) - NH3 CONTROLLER HARNESS (55) - ELECTRICAL SYSTEMS

Схема запчастей Case IH 400 - (55.640.02) - NH3 CONTROLLER HARNESS (55) - ELECTRICAL SYSTEMS
5
7
16
15
3
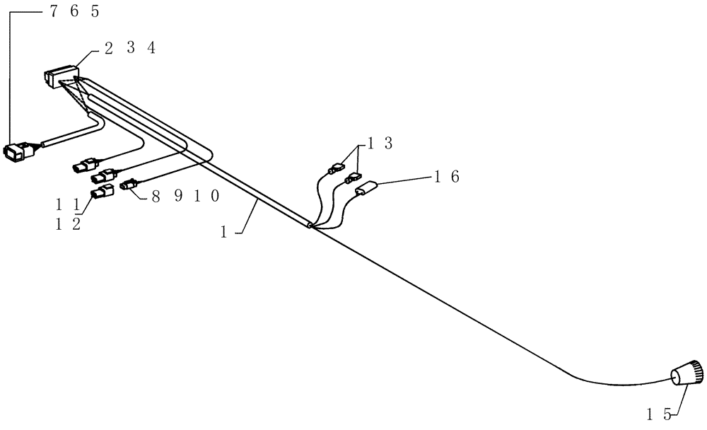
4
9
6
13
11
10
1
2
8
12
FIT
1:1
100%

Артикул

Название

Примечание

Количество

1

15623

HARNESS

nh3 controller

1шт.

2

87268798

MULTIPOLE CONNECTOR,Female, 30 Pole

30c plug b key

1шт.

3

87270687

ELEC. TERMINAL PIN,Female, 0.75 - 1.5 mm2

socket 16-20awg

27шт.

4

14999

ELEC CONNECTOR

plug, cavity, cinch

3шт.

5

223672A1

MULTIPOLE CONNECTOR,Male, 12 Pin

elec plastic 12c receptacle

1шт.

6

223676A1

WEDGE

elec lock 12c receptacle

1шт.

7

223950A1

ELEC. TERMINAL PIN,Nickel, 0.8 - 1.0mm

18-20awg copper nickel plated

12шт.

8

87696551

CONTACT HOUSING,Female, 3 Pole

cab plastic plug 3c

3шт.

9

51200009

STOP LOCK

3c plug

3шт.

10

223952A1

ELEC. TERMINAL PIN,Nickel, 0.8 - 1.0mm

socket 18-20awg

9шт.

11

87696545

CONTACT HOUSING,Male, 3 Pole

cab plastic rcp 3c

3шт.

12

225055C1

PLUG

connector 20awg

9шт.

13

425044A1

TERMINAL CONNECTOR,22 - 18 SAE

terminal disc 22-18awg 1/4" f

2шт.

15

15631

ELEC CONNECTOR,3 Pin

plastic 3c plug

1шт.

Includes contacts, grommet and connector

1шт.

100

87557087

CABLE TIE

CABLE STRAP 11" with stainless locking clip

10шт.

Not Shown

1шт.

100

425269A1

DUST CAP

30 conductor

1шт.

Not Shown

1шт.

100

470-11016

SCREW,Pan HD, #10 - 24 x 1"

1шт.

Not Shown

1шт.

Выбрано товаров: 21