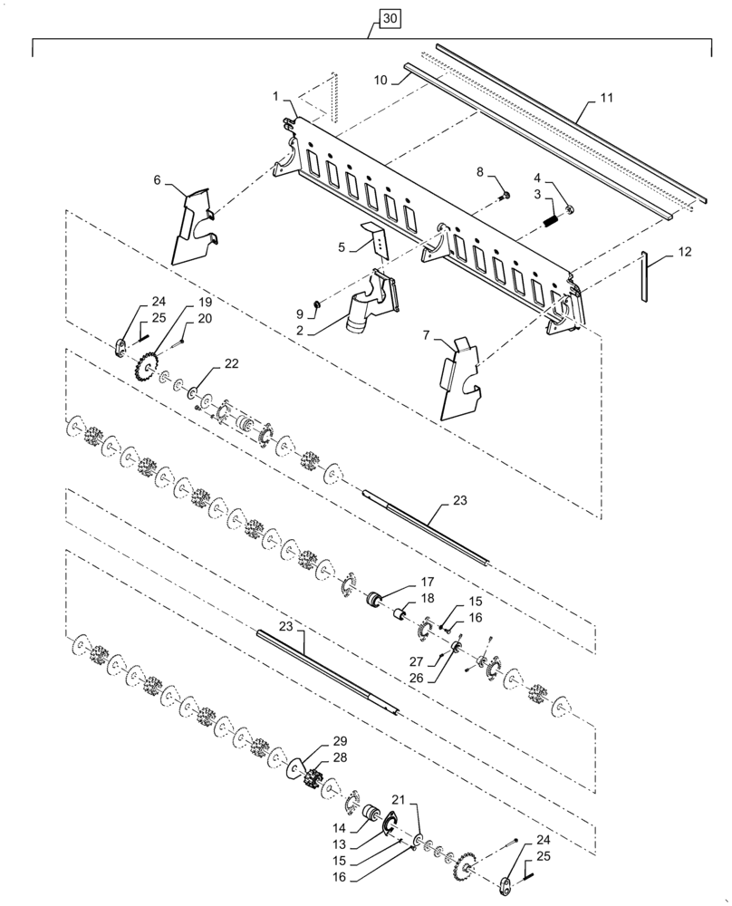
Запчасти Case IH 500 (60.110.AD[10]) - 30FT 7.5IN 4 SECT COARSE ROLLER (60) - PRODUCT FEEDING

Схема запчастей Case IH 500 - (60.110.AD[10]) - 30FT 7.5IN 4 SECT COARSE ROLLER (60) - PRODUCT FEEDING
3
11
19
28
14
5
1
23
4
15
22
15
8
26
7
25
20
12
24
6
10
29
21
16
16
13
18
23
24
9
2
25
17
30
27
FIT
1:1
100%

Артикул

Название

Примечание

Количество

1

84474886

DOOR

1шт.

2

84389803

CUP

12шт.

3

84389797

SPRING

12шт.

4

425-104

NUT,1/4"-20, Cl 5

12шт.

5

84389802

DOOR

12шт.

6

84394796

BRACKET

1шт.

7

84548698

BRACKET

1шт.

8

88832

CARRIAGE BOLT,Sq Nk, 1/4" - 20 x 3/4", Gr 5, Full Thd

28шт.

9

86624020

FLANGE NUT,Flg, 1/4"-20.G5

28шт.

10

84474891

SEAL

1шт.

11

84474890

GASKET

2шт.

12

84389800

SEAL

2шт.

13

84389768

FLANGE

8шт.

14

84389769

BUSHING

2шт.

15

80682

LOCK WASHER,1/4"

6шт.

16

88542

BOLT,Hex, 1/4"-20 x 1/2", Gr 5

6шт.

17

84389786

BUSHING

2шт.

18

84389787

JOURNAL

2шт.

19

84389789

SPROCKET

2шт.

20

80754

COTTER PIN,3/16" OD x 1-1/2" OAL

2шт.

21

87613191

WASHER,0.66" ID x 1.5" OD x 0.06" Thk

2шт.

22

86624189

WASHER,0.66" ID x 1.31" OD x 0.15" Thk

6шт.

23

84389737

SHAFT

2шт.

24

84474921

ARM

2шт.

25

87020817

LOCK PIN,3/16" OD x 1-1/2" L, Slotted

2шт.

26

84485534

COLLAR

2шт.

27

84523394

KEYWAY

4шт.

28

84389771

METER

12шт.

29

84389785

SIDE PLATE

24шт.

30

47498074

ROLLER

ROLLER, 30FT 7.5IN 4 SECT COARSE INCL 1 - 29

1шт.

Выбрано товаров: 30