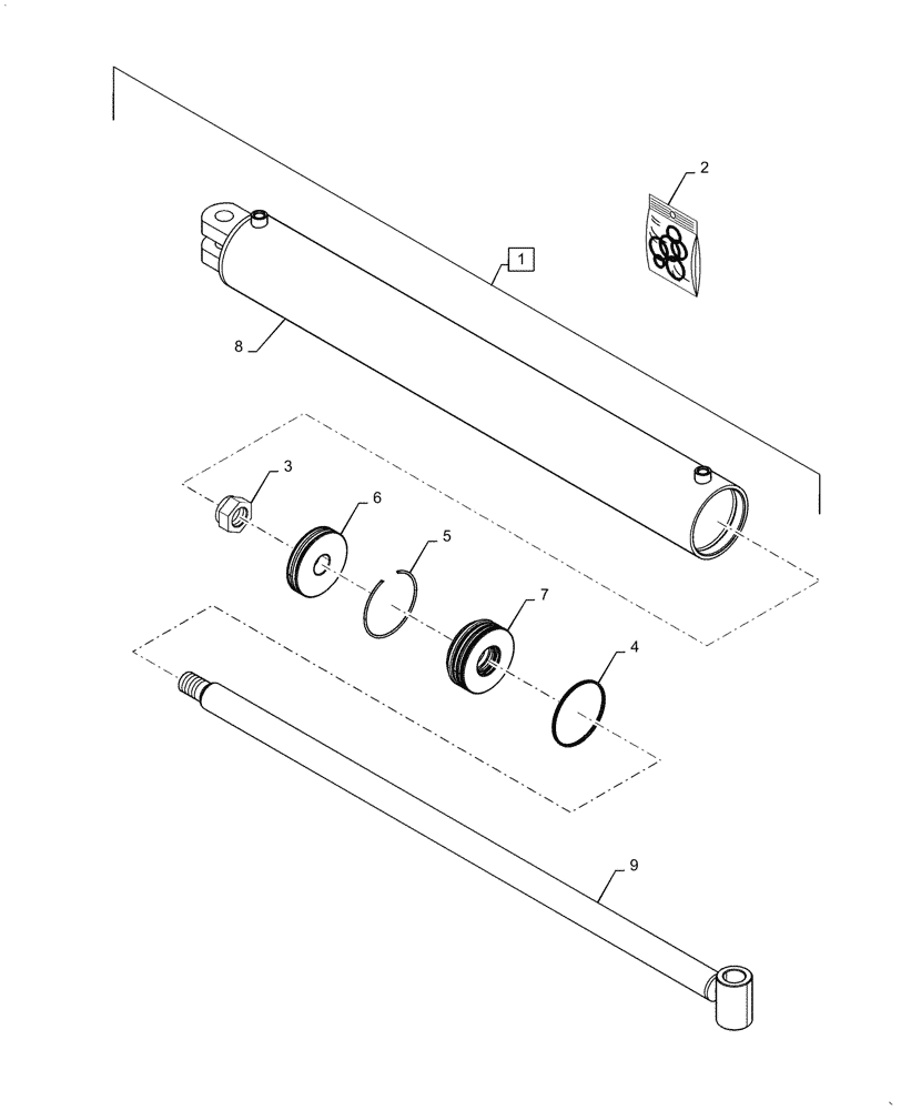
Запчасти Case IH 500 (35.560.AA[05]) - HYDRAULIC CYLINDER 5 X 42 3000 PSI (35) - HYDRAULIC SYSTEMS

Схема запчастей Case IH 500 - (35.560.AA[05]) - HYDRAULIC CYLINDER 5 X 42 3000 PSI (35) - HYDRAULIC SYSTEMS
1
4
6
7
8
5
2
3
9
FIT
1:1
100%

Артикул

Название

Примечание

Количество

1

47394300

HYDRAULIC CYLINDER

5 x 42 3000 PSI Incl 3-9

1шт.

2

47447714

SEAL KIT

Cylinder

1шт.

3

47447663

NUT

Piston

1шт.

4

47604939

RING

Retaining External

1шт.

5

47604942

RING

Retaining Internal

1шт.

6

47447696

PISTON

Cylinder

1шт.

7

47731139

HYDRAULIC CYLINDER

Cylinder Head

1шт.

8

47604959

TUBE

Cylinder

1шт.

9

47604960

ROD

Cylinder

1шт.

Выбрано товаров: 0