Запчасти Case IH 5200 (08) - FEEDSHAFT ROTATION INDICATOR

Схема запчастей Case IH 5200 - (08) - FEEDSHAFT ROTATION INDICATOR
8
19
9
30
20
28
18
24
31
2
14
5
4
24
11
21
13
23
32
29
12
10
22
3
25
26
27
1
27
FIT
1:1
100%

Артикул

Название

Примечание

Количество

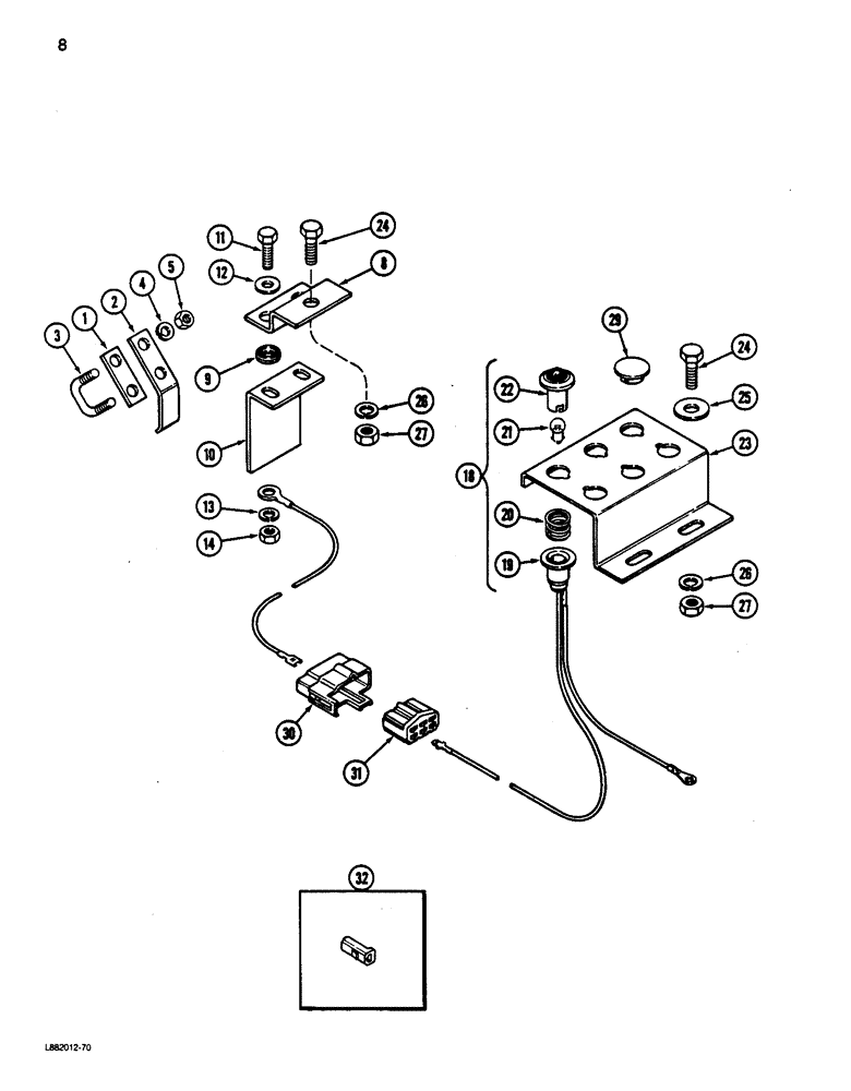
1

816792C1

STRAP

BRACKET - indicator retaining

1шт.

2

816791C1

CLIP

- indicator retaining

1шт.

3

11261R

U-BOLT

- 1/4 inch NC:

1шт.

4

192-19

LOCK WASHER,Helical Spring, 0.256" ID, CST, ZND

WASHER, LOCK, 1/4"

2шт.

5

120375

NUT,Hex, 1/4" - 20, Gr 5

2шт.

8

816789C1

BRACKET

- indicator

1шт.

9

117960

GROMMET,5/16" ID x .719" x .188"

- 5/16 x 23/32 x 7/16 inch

2шт.

10

816790C1

ANGLE

RACKET - indicator contact

1шт.

11

113-103

BOLT,Hex, 5/16" - 18 x 1", Gr 5

2шт.

12

619855R1

WASHER

ASHER - flat, 11/32 x 3/4 x 3/64 inch

2шт.

13

80681

LOCK WASHER,5/16"

WASHER, LOCK, 5/16"

2шт.

14

120376

NUT,5/16"-18, G5

2шт.

18

676922R91

LAMP

AMP ASSEMBLY - indicator

1шт.

19

NSS

NOT SOLD SEPARAT

SOCKET ASSEMBLY - lamp (Order 676922R91)

1шт.

20

NSS

NOT SOLD SEPARAT

SPRING - lamp

1шт.

21

9417863

BULB,C2F, #1895, 14V

- lamp, No. 1895

1шт.

22

NSS

NOT SOLD SEPARAT

LENS - lamp

1шт.

23

816788C1

PANEL

ANEL - indicator lamp

1шт.

24

113-207

BOLT,Hex, 3/8" - 16 x 1", Gr 5

3шт.

25

20803R1

WASHER

ASHER - flat, 13/32 x 1 x 7/64 inch

2шт.

26

192-21

LOCK WASHER,3/8"

WASHER, LOCK, 3/8"

3шт.

27

120377

NUT,3/8" - 16, Gr 5

3шт.

29

816848C1

PLUG

LUG - panel filler

5шт.

30

405002C1

MULTIPOLE CONNECTOR,Male, 7 Pin

ONNECTOR - wire

1шт.

31

892136C1

ELEC CONNECTOR,Female

ONNECTOR - wire

1шт.

32

188395R1

WIRE CONNECTOR,Male

ONNECTOR - wire

1шт.

Выбрано товаров: 26