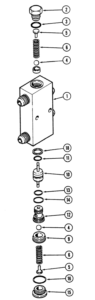
Запчасти Case IH 5300 (8-36) - ALTERNATING CHECK VALVE (08) - HYDRAULICS

Схема запчастей Case IH 5300 - (8-36) - ALTERNATING CHECK VALVE (08) - HYDRAULICS
5
10
12
9
3
6
1
16
13
15
4
4
14
2
5
18
11
6
FIT
1:1
100%

Артикул

Название

Примечание

Количество

0

142864C95

VALVE

ALTERNATING CHECK

1шт.

1

NSS

NOT SOLD SEPARAT

BODY ASSEMBLY, Valve

1шт.

2

NSS

NOT SOLD SEPARAT

PLUG Centering Spring

1шт.

3

167269

O-RING,0.097" Thk x 0.755" ID, -910, Cl 6, 90 Duro

1шт.

4

211-1016

BALL,12.7mm OD, Gr 24

2шт.

5

85145C1

PIN

RETAINER

2шт.

6

372649R1

SPRING

TRIP LEVER

2шт.

9

374172R1

NUT

CHECK VALVE BALL RETAINER

1шт.

10

NSS

NOT SOLD SEPARAT

PISTON ASSEMBLY, Valve

1шт.

11

9992298

O-RING,0.07" Thk x 0.489" ID, -14, Cl 6, 90 Duro

1шт.

12

374087R31

RETAINER

ASSY, CHECK VALVE BALL

1шт.

13

238-6017

O-RING,0.07" Thk x 0.676" ID, -17, Cl 6, 90 Duro

1шт.

14

9991976

O-RING,0.07" Thk x 0.739" ID, -18, Cl 6, 90 Duro

1шт.

15

374088R1

PLUG

CHECK VALVE LARGE

1шт.

16

167266

O-RING,0.116" Thk x 0.924" ID, -912, Cl 6, 90 Duro

1шт.

18

142865C1

SEAL

CHECK VALVE PISTON TEFLON

1шт.

Выбрано товаров: 16