Запчасти Case IH 5300 (9-036) - HAND LIFT (09) - CHASSIS

Схема запчастей Case IH 5300 - (9-036) - HAND LIFT (09) - CHASSIS
6
24
1
17
23
14
21
25
27
32
33
5
13
30
12
15
29
20
31
22
19
14
9
3
26
2
10
7
11
30
28
24
16
4
23
18
13
8
34
FIT
1:1
100%

Артикул

Название

Примечание

Количество

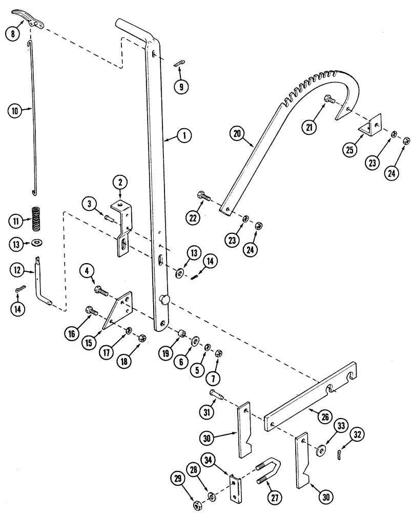
1

606059R91

LEVER ASSY.

W/GUIDE - HAND LIFT

1шт.

2

606148R1

LEVER GUIDE

1шт.

3

45-518

RIVET,But Hd, 5/16" x 1 1/8"

2шт.

4

87689

BOLT,1/2"-13 x 1.813" OAL, Gr 5

1шт.

5

80679

LOCK WASHER,1/20.507 CST ZND

1шт.

6

495-81287

WASHER,13.49mm ID x 31.75mm OD x 3.4mm Thk

1шт.

7

280431

NUT,1/2"-13, G5

1шт.

8

PO15296

HANDLE

LEVER

1шт.

9

80753

COTTER PIN,1/4" x 1 1/2"

1шт.

10

604434R1

ROD

DETENT

1шт.

11

2302

SPRING

detent

1шт.

12

M92872

LIFTING ROD

FLANGE

1шт.

13

495-81024

WASHER,17/32" x 1 1/4" x .060"

2шт.

14

80756

COTTER PIN,1/8" x 3/4"

2шт.

15

815521C1

BAR

HAND LIFT LEVER PIVOT

1шт.

16

87670

BOLT,1/2" - 13 x 1-1/4", Full Thd, Gr 5

2шт.

17

80679

LOCK WASHER,1/20.507 CST ZND

2шт.

18

280431

NUT,1/2"-13, G5

2шт.

19

373080R1

SPACER,1/2" Pipe x 1/2"

1шт.

20

815522C1

PIVOT PLATE

SECTOR, HAND LIFT

1шт.

21

87909

BOLT,Hex, 1/2" - 13 x 1", Gr 5

1шт.

22

87670

BOLT,1/2" - 13 x 1-1/4", Full Thd, Gr 5

1шт.

23

80679

LOCK WASHER,1/20.507 CST ZND

2шт.

24

280431

NUT,1/2"-13, G5

2шт.

25

815523C1

ANGLE

SECTOR SUPPORT

1шт.

26

815524C1

BAR

LIFT ADJUSTING

1шт.

27

603392R1

BOLT,U, 5/8" - 11 x 3 9/16"

V 5/8" 1 5/8"w 3 9/16"

1шт.

28

12034871

WASHER

5/8"

2шт.

29

280374

NUT,Hex, 5/8" - 11, Gr 5

2шт.

30

815526C1

BAR

ROCKSHAFT LIFT

2шт.

31

427-10161

CLEVIS PIN,15.88mm OD x 40.89mm L

1шт.

32

87395

COTTER PIN,1/8" OD x 1-1/4" OAL

1шт.

33

495-81026

WASHER,21/32" x 1 1/2" x .060"

1шт.

34

603393R1

CHANNEL

lift arm clamping

1шт.

Выбрано товаров: 34