Запчасти Case IH 5400 (9-100) - COULTER ARM AND DISKS (AFTER 02/01/2001) (09) - CHASSIS

Схема запчастей Case IH 5400 - (9-100) - COULTER ARM AND DISKS (AFTER 02/01/2001) (09) - CHASSIS
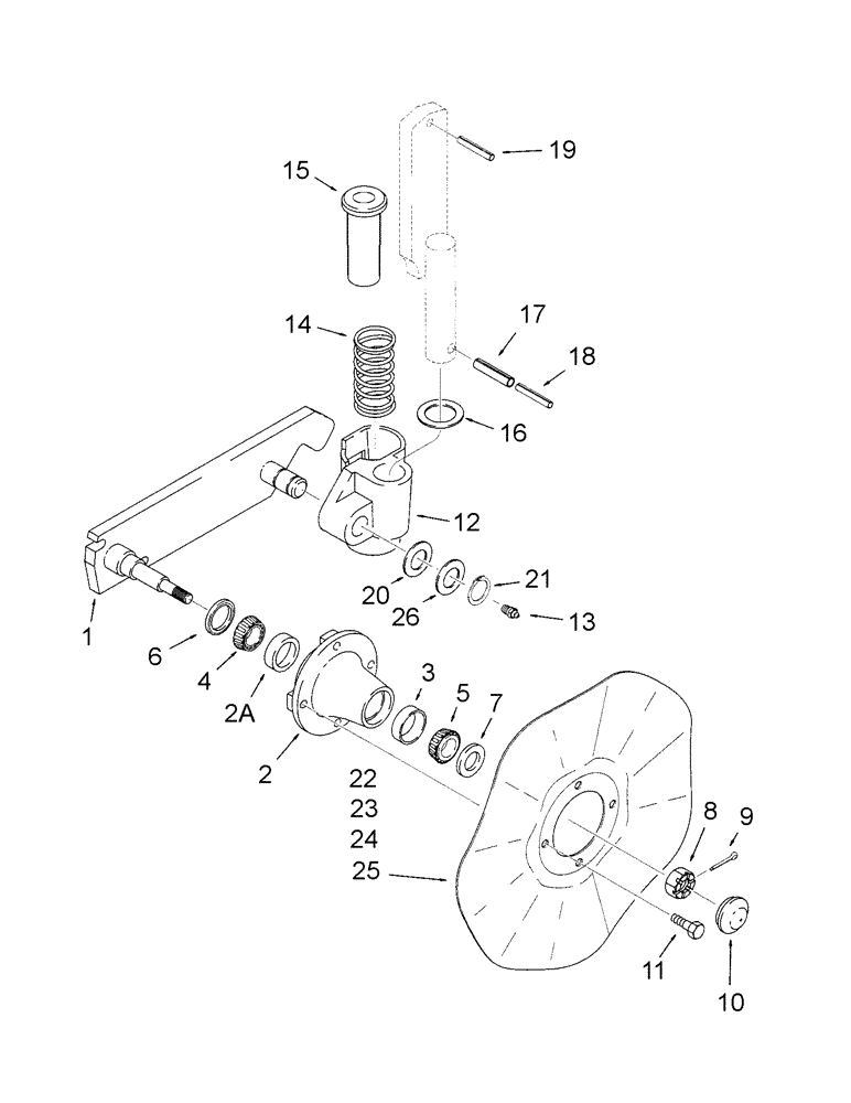
9
5
24
6
17
2
2a
25
21
12
26
18
14
7
16
1
19
10
23
20
15
4
22
8
13
3
11
FIT
1:1
100%

Артикул

Название

Примечание

Количество

0

425558A1

ARM ASSY.

COULTER W/HUB & PIVOT HD

1шт.

1

142287A1

ARM

COULTER 1.25" Dia.

1шт.

1

142285A1

HUB ASSY.

4 bolt w/ cups

1шт.

1

425559A1

ARM ASSY.

AND PIVOT CASTING HEAVY DUTY

1шт.

1

425552A1

ARM ASSY.

HEAVY DUTY 1.375" Dia.

1шт.

2

142285A1

HUB ASSY.

4 bolt w/ cups

1шт.

2a

36723

BEARING CUP,59.16mm OD x 11.81mm W

#LM67010

1шт.

3

36725

BEARING CUP,45.26mm OD x 12.06mm W

#LM11910

1шт.

4

651819R91

BEARING ASSY,1.2508" ID x 2.329" OD x 0.625"

assembly, inner wheel

1шт.

5

36724

BEARING CONE,19.07mm ID x 16.64mm W

#LM11949

1шт.

6

663004R91

OIL SEAL

Oil

1шт.

7

87381

WASHER,0.81" ID x 1.47" OD x 0.13" Thk

1шт.

8

86632554

SLOTTED NUT,3/4"-16, G5

1шт.

9

88350

COTTER PIN,5/32" x 1-1/2"

1шт.

10

142278A1

DUST CAP

1шт.

11

87848

BOLT,Hex, 1/2" - 20 x 1", Gr 5

4шт.

12

425553A1

PIVOT ASSY.

CASTING HEAVY DUTY

1шт.

Includes two bushings 425554A1

1шт.

12

425554A1

BUSHING,9.53mm ID x 53.98mm OD x 25.4mm L

1.531 OD x 1.375 ID x 1 THICK

2шт.

13

80715

CHAIN

1шт.

14

425551A1

COIL SPRING

2.472 OD X 5.875 .468 WIRE DIA

1шт.

15

425555A1

SLEEVE

CAP SPRING AND GUIDE HEAVY DUTY

1шт.

16

495-81226

WASHER,46.02mm ID x 63.5mm OD x 3.35mm Thk

1шт.

17

38-12440

LOCK PIN,3/8" x 2 1/2", Slotted

1шт.

18

438-11440

LOCK PIN,7/32" x 2 1/2", Slotted

1шт.

19

86624061

LOCK PIN,9.53mm OD x 50.8mm L, Slotted

1шт.

20

425556A1

BUSHING

M 2.125 OD X 1.375 ID X .135 T

1шт.

21

100-16137

SNAP RING,#137. Ext

1шт.

22

140450A2

PLOW DISC

COULTER, 16IN BUBBLE

1шт.

23

140445A2

PLOW DISC

COULTER, 17IN FLUTED

1шт.

24

140447A2

PLOW DISC

COULTER, 18 IN. 8 WAVE

1шт.

25

129195A2

PLOW DISC

SALFORD COULTER, 17.6IN 13 WAVE

1шт.

26

425557A1

BUSHING

M 2.125 OD X 1.375 ID X .075 T

1шт.

Выбрано товаров: 33