Запчасти Case IH 5400 (9-24) - ELECTRONIC ACREAGE COUNTER (ASN JAG0880757) (09) - CHASSIS

Схема запчастей Case IH 5400 - (9-24) - ELECTRONIC ACREAGE COUNTER (ASN JAG0880757) (09) - CHASSIS
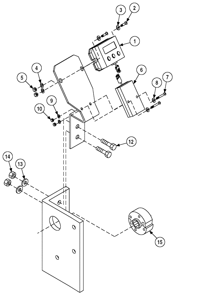
13
7
1
12
8
2
4
10
14
9
5
6
3
15
FIT
1:1
100%

Артикул

Название

Примечание

Количество

1

318815A1

COUNTER

acre assy

1шт.

2

470-10812

SCREW,Pan HD, #8 - 32 x 3/4"

2шт.

3

280299

WASHER,0.19" ID x 0.44" OD x 0.05" Thk

2шт.

4

87812

LOCK WASHER,#8

2шт.

5

225-11108

NUT,#8-32

2шт.

6

318819A2

SENSOR

counter acre reed assy

1шт.

7

470-10820

SCREW,Slotted Pan Hd, #8-32 x 1 1/4"

2шт.

8

280299

WASHER,0.19" ID x 0.44" OD x 0.05" Thk

2шт.

9

87812

LOCK WASHER,#8

2шт.

10

225-11108

NUT,#8-32

2шт.

11

316656A1

PLATE

support

1шт.

12

9707516

BOLT,1/2"-13 x 1-3/4", Cl 5

2шт.

13

80700

WASHER,0.56" ID x 1.38" OD x 0.11" Thk

2шт.

14

86512371

SERRATED NUT,Flg, USR, 1/2"-13

2шт.

15

318821A2

MAGNET

actuator whl 1 1/8" round

1шт.

Выбрано товаров: 15