Запчасти Case IH 5500 (9-26) - ELECTRONIC ACREAGE COUNTER (ASN JAG0880757) (09) - CHASSIS

Схема запчастей Case IH 5500 - (9-26) - ELECTRONIC ACREAGE COUNTER (ASN JAG0880757) (09) - CHASSIS
3
5
7
14
15
10
4
11
1
9
12
13
2
6
8
FIT
1:1
100%

Артикул

Название

Примечание

Количество

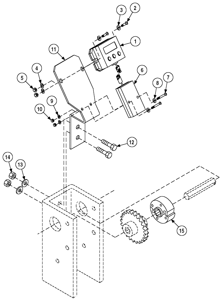
1

318815A1

COUNTER

acre assy

1шт.

2

470-10812

SCREW,Pan HD, #8 - 32 x 3/4"

2шт.

3

280299

WASHER,0.19" ID x 0.44" OD x 0.05" Thk

2шт.

4

87812

LOCK WASHER,#8

2шт.

5

225-11108

NUT,#8-32

2шт.

6

318819A2

SENSOR

counter acre reed assy

1шт.

7

470-10820

SCREW,Slotted Pan Hd, #8-32 x 1 1/4"

1шт.

8

280299

WASHER,0.19" ID x 0.44" OD x 0.05" Thk

2шт.

9

87812

LOCK WASHER,#8

2шт.

10

225-11108

NUT,#8-32

2шт.

11

316656A1

PLATE

support

1шт.

12

9707516

BOLT,1/2"-13 x 1-3/4", Cl 5

2шт.

13

87364

WASHER,0.53" ID x 1.06" OD x 0.1" Thk

4шт.

14

86512371

SERRATED NUT,Flg, USR, 1/2"-13

2шт.

15

318820A1

MAGNET

7/8" hex rd sw act

1шт.

16

435437A1

CABLE TIE,3/16" x 7 1/4"

CABLE STRAP

1шт.

Выбрано товаров: 16