Запчасти Case IH 620 (C-08) - ENDWISE TRANSPORT, HYDRAULIC SYSTEM

Схема запчастей Case IH 620 - (C-08) - ENDWISE TRANSPORT, HYDRAULIC SYSTEM
17
17
19
17
12
11
14
20
17
15
17
14
14
1
26
17
17
5
13
11
11
21
12
27
11
16
12
17
11
4
15
23
6
11
17
1
10
17
3
11
11
20
2
15
7
17
18
15
20
22
9
19
16
2
12
2
24
8
19
3
23
3
25
FIT
1:1
100%

Артикул

Название

Примечание

Количество

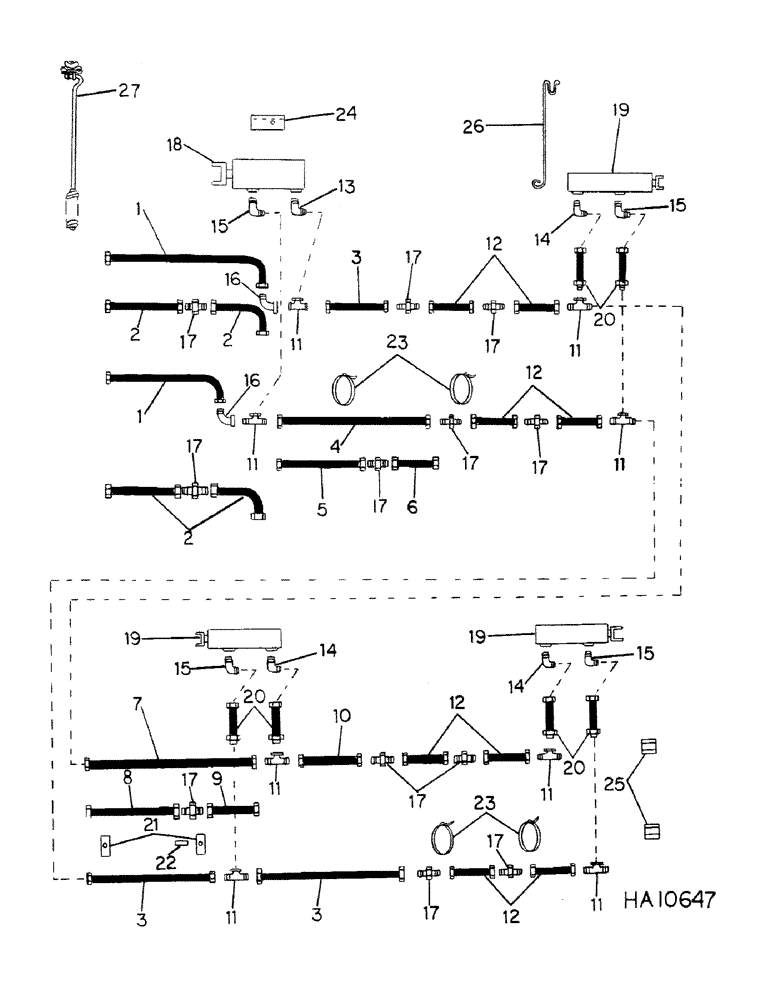
1

HOSE ASSY, 162 inch hydraulic, 2 used leading machine, for service order 2, 675984R91 hose assy and 1, 9402787 union

1шт.

2

675984R91

HOSE

ASSY, 80 inch hydraulic, 2 used leading machine

1шт.

3

1140447C1

HOSE ASSY.

HOSE ASSY, 75 inch hydraulic, 1 used leading machine, 2 used 2nd, 3rd or 4th machine

1шт.

4

HOSE ASSY, 93 inch hydraulic, 1 used leading machine, for service order 1, 179411C1 hose, 1, 851788C2 hose and 1, 9402787 union

1шт.

5

179411C1

HOSE

ASSY, 61 inch hydraulic, 1 used leading machine, replaces 675987R91

1шт.

6

851788C2

HYDRAULIC HOSE,0.50" ID x 34.00", SAE 100R2

HOSE ASSY, 34 inch 100 R2 dble hydraulic, 1 used leading machine

1шт.

7

HOSE ASSY, 103 inch hydraulic, 1 used 2nd, 3rd or 4th machine, for service order 1, 675984R91 hose, 1, 851789C2 hose and 1, 9402787 union

1шт.

8

851789C2

HOSE

ASSY, 20.5 inch 100 R2 dlbe hydraulic, 1 used 2nd, 3rd or 4th machine

1шт.

9

675984R91

HOSE

ASSY, 80 inch hydraulic, 1 used 2nd, 3rd or 4th machine

1шт.

10

179411C1

HOSE

ASSY, 61 inch hydraulic, 1 used 2nd, 3rd or 4th machine, replaces 6759879R1

1шт.

11

9410307

TEE,37 Degree, 3/4"-16 x 3/4"-16, Fem Sw Br

37 deg flared tube swivel 4, used each machine

1шт.

570828R1

O-RING,0.087" Thk x 0.644" ID, -908, Cl 6, 90 Duro

1/2 OD tube class 6

1шт.

12

851789C2

HOSE

ASSY, 20.5 100 R2 dble hydraulic, 2, 24 x 6, 20 x 7, 4, 28 x 6, 24 x 7

1шт.

13

819965C1

ELBOW

ASSY, flow restrictor, 1 used leading machine, for use w/cylinder 844025C92

1шт.

13

1277963C1

ELBOW

flow restrictor, for use w/cylinder 1272402C91

1шт.

14

819966C1

ELBOW

ASSY, flow restrictor, 1, used leading machine, 2 used 2nd, 3rd or 4th machine, for use w/cylinder 844025C92

1шт.

14

1277964C1

ELBOW

flow restrictor, for use w/cylinder 1272402C91

1шт.

15

556656R1

ELBOW,90 Degree, 3/4"-16, 37 Degree x 1/2"-14, NPTF

37 deg flared tube 90 deg, 2 per machine, for use w/cylinder 844025C92

1шт.

15

9410977

ELBOW,90 Degree, 3/4"-16, 37 Degree x 3/4"-16, O-Ring

1/2 hed fld adj 90D, in cylinder 1272402C91

1шт.

16

9410281

ELBOW,90 Degree, 3/4"-16, 37 Degree x 3/4"-16, 37 Degree Fem Sw

hyd 37 deg flared tube 90 deg, 2, used leading machine

1шт.

17

9402787

UNION,3/4"-16, 37 Degree x 3/4"-16, 37 Degree

hyd 37 deg flared hose, 4 used leading unit, 3 used 2nd, 3rd, or 4th unit use as reqd when connecting 841789C2, hose

1шт.

18

844027C92

CYLINDER

ASSY, 4.0 x 8 DA, monarch, 1, used leading unit, replaced by 1272844C91, for component breakdown see CYL-1 parts catalog

1шт.

18

844057C91

SEAL KIT

o-ring and seal service

1шт.

18

1272844C91

CYLINDER

ASSY, 4 x 8, victor fluid, 1.375 diameter, replaces 844027C92, for component breakdown see CYL-1 parts catalog

1шт.

18

80117C1

KIT

o-ring and seal service

1шт.

19

844025C92

CYLINDER

ASSY, 2.5 x 8 DA w/pipe thread ports, monarch, optional w/843125C91, for component breakdown see CYL-1 parts catalog

1шт.

19

844042C91

PACKAGE

KIT, o-ring and seal service

1шт.

19

843125C91

CYLINDER

ASSY, 2.5 x 8 ram, w/pipe thread ports, opt to use 844025C92, 1, used leading unit, 2 used 2nd, 3rd or 4th machine, for service refer to CYL-1 parts catalog

1шт.

19

843219C1

KIT

o-ring and seal service

1шт.

19

1272402C91

CYLINDER,Double Acting, 31.7mm Rod, 203.2mm Stroke

ASSY, hydraulic, w/o-ring ports, see CYL-1 parts catalog for component breakdown, optional w/1286321C91

1шт.

19

79975C1

SEAL KIT

KIT, o-ring and seal service

1шт.

19

1286321C91

CYLINDER ASSY.

CYLINDER ASSY, hydraulic, ram w/o-rings ports, see CYL-1 parts catalog for component breakdown, optional w/1272402C91

1шт.

19

843219C1

KIT

o-ring and seal service

1шт.

22973R1

PIN,1" x 4 1/2"

1 x 4.500 hd type 1

1шт.

21162R1

WASHER

1.031 x 2.000 x .164, 1 per pin

1шт.

432-1624

COTTER PIN,1/4" x 1 1/2"

Pin, Split (Cotter), , 1 per pin 1/4" x 1 1/2"

1шт.

20

819872C1

TUBE,0.5" OD, 5" Length

elbow, 2, used leading machine, 4 used 2nd, 3rd or 4th machine

1шт.

21

379045R1

CLAMP

hose, 2 used 2nd, 3d or 4th machine

1шт.

413-528

BOLT,Hex, 5/16" - 18 x 1-3/4", Gr 5

5/16-18 x 1-3/4 hex hd, 2 per clamp

1шт.

120376

NUT,5/16"-18, G5

1 per bolt 5/16"-18, G5

1шт.

80681

LOCK WASHER,5/16"

WASHER, LOCK, , 1 used per bolt 5/16"

1шт.

22

22055R1

SPACER,1/4" Pipe x .594"

clamp, 2 used 2nd, 3rd or 4th machine

1шт.

23

813579C1

CABLE TIE

STRAP, hose tie, 3 per machine

1шт.

24

819825C1

CHANNEL

hydraulic lockout 1, used leading & trailing unit when using 843125C91, cyl change length of 819825C1 channel to 10.2 in

1шт.

21992R1

HEADED PIN,5/16" x 2 3/4"

PIN, 5/16 x 2-3/4 STD hd dld PLTD

1шт.

610784R1

SPLIT PIN/SAFETY PIN,2.4mm OD x 60.345mm OAL

PIN, qa cotter

1шт.

25

9403372

CAP,37 Degree, 3/4"-16

hyd 37 deg flared tube, 2 used 2nd, 3rd or 4th machine

1шт.

26

651793R2

SUPPORT

ROD, hydraulic hose support 1, used leading unit

1шт.

180124

BOLT,Hex, 3/8" - 16 x 1 1/4", Gr 5

3/8-16 x 1-1/4 hex hd

1шт.

120377

NUT,3/8" - 16, Gr 5

1шт.

120382

LOCK WASHER,Helical Spring, 3/8"

WASHER, LOCK, 3/8"

1шт.

20803R1

WASHER

.406 x 1.000 x .105

1шт.

27

SUPPORT, hose hydraulic, 1, used leading unit, for service parts refer to hydraulic hose support

1шт.

Выбрано товаров: 53