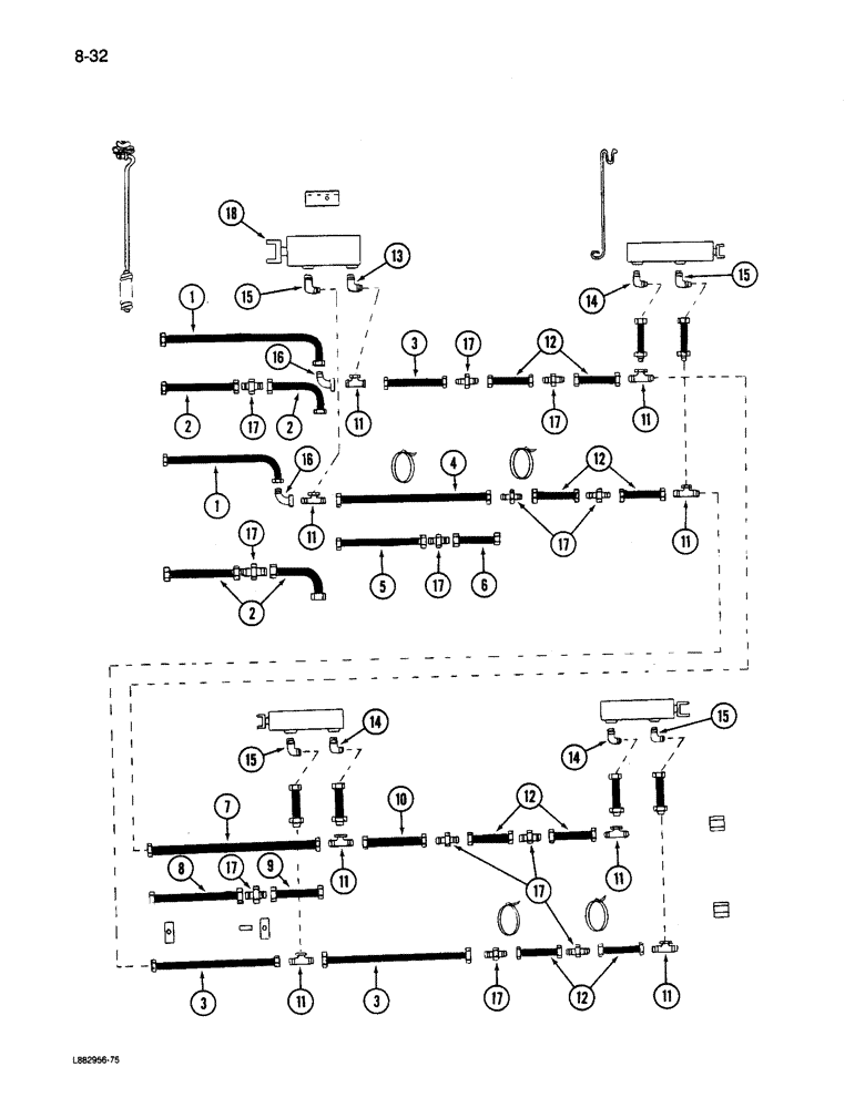
Запчасти Case IH 6200 (8-32) - HYDRAULIC SYSTEM ENDWISE TRANSPORT (08) - HYDRAULICS

Схема запчастей Case IH 6200 - (8-32) - HYDRAULIC SYSTEM ENDWISE TRANSPORT (08) - HYDRAULICS
15
17
2
3
4
3
15
8
15
14
9
1
14
11
17
2
17
10
1
12
11
7
11
16
17
17
2
14
5
13
16
15
17
3
11
17
12
11
18
11
12
11
11
12
17
17
6
FIT
1:1
100%

Артикул

Название

Примечание

Количество

1

NSS

NOT SOLD SEPARAT

HOSE ASSEMBLY - hydraulic, 162 (Leading drill) (Order 2-675984R91 hose and 1-9402787 connector)

2шт.

2

675984R91

HOSE

ASSEMBLY - 3/8 x 80 inch (Leading drill)

2шт.

3

1140447C1

HOSE ASSY.

HOSE ASSEMBLY - hydraulic, 75 inch long (Leading drill)

1шт.

3

1140447C1

HOSE ASSY.

HOSE ASSEMBLY - hydraulic, (Second, third or fourth drill)

2шт.

4

NSS

NOT SOLD SEPARAT

HOSE ASSEMBLY - hydraulic, 93 inch long (Leading drill) (Order 1-179411C1, 1-851788C2 hose and 1-9402787 connector)

1шт.

5

179411C1

HOSE

ASSEMBLY - 3/8 x 61 inch (Leading drill) (Replaces 675987R91)

1шт.

6

851788C2

HYDRAULIC HOSE,0.50" ID x 34.00", SAE 100R2

HOSE ASSEMBLY - hydraulic, 34 inch long (Leading drill)

1шт.

7

NSS

NOT SOLD SEPARAT

HOSE ASSEMBLY - hydraulic, 103 inch long (second, third and fourth drill)(Order 1-675984R91, 1-851789C2 hose and 1-9702787 connector)

1шт.

8

851789C2

HOSE

- hydraulic, 20-1/2 inches long (second, third or fourth drill)

1шт.

9

675984R91

HOSE

ASSEMBLY - 3/8 x 80 inch (second, third or fourth drill)

1шт.

10

179411C1

HOSE

ASSEMBLY - 3/8 x 61 inch (second, third or fourth drill) (Replaces 675987R91)

1шт.

11

9410307

TEE,37 Degree, 3/4"-16 x 3/4"-16, Fem Sw Br

- swivel, 3/4-16 inch flared

4шт.

570828R1

O-RING,0.087" Thk x 0.644" ID, -908, Cl 6, 90 Duro

- 41/64 ID x 3/32 inch

4шт.

12

851789C2

HOSE

- hydraulic, 20-1/2 inches long (24x6, 20x7)

2шт.

12

851789C2

HOSE

- hydraulic, 20-1/2 inches long (28x6, 24x7)

4шт.

13

819965C1

ELBOW

- flow restrictor (Leading drill) (Used with cylinder 844025C92)

1шт.

13

1277963C1

ELBOW

- flow restrictor (Used with cylinder 1272402C91)

1шт.

14

819966C1

ELBOW

- flow restrictor (Leading drill) (Use with cylinder 844025C92)

1шт.

14

819966C1

ELBOW

- flow restrictor (Second, third or fourth drill) (Use with cylinder 844025C92)

2шт.

14

1277964C1

ELBOW

- flow restrictor (Leading drill) (Use with cylinder 1272402C91)

1шт.

14

1277964C1

ELBOW

- flow restrictor (Second, third or fourth drill) (Use with cylinder 1272402C91)

2шт.

15

556656R1

ELBOW,90 Degree, 3/4"-16, 37 Degree x 1/2"-14, NPTF

- 90 degree (Use with cylinder 844025C92)

2шт.

15

9410977

ELBOW,90 Degree, 3/4"-16, 37 Degree x 3/4"-16, O-Ring

- 90 degree adjustable, 1/2 inch tube 3/4-16 thread (Use with cylinder 1272402C91)

2шт.

16

9410281

ELBOW,90 Degree, 3/4"-16, 37 Degree x 3/4"-16, 37 Degree Fem Sw

- 90 degree swivel, 1/2 inch tube 3/4-16 thread (Leading drill)

2шт.

17

9402787

UNION,3/4"-16, 37 Degree x 3/4"-16, 37 Degree

CONNECTOR - 3/4-16 inch flared (Leading drill)

4шт.

17

9402787

UNION,3/4"-16, 37 Degree x 3/4"-16, 37 Degree

CONNECTOR - 3/4-16 inch flared (Second, third or fourth drill)

3шт.

17

9402787

UNION,3/4"-16, 37 Degree x 3/4"-16, 37 Degree

CONNECTOR - 3/4-16 inch flared (Connecting hose 841789C2)

1шт.

18

844027C92

CYLINDER

ASSEMBLY - hydraulic (Leading drill) (Replaced by 1272844C91) (See Note)

1шт.

844057C91

SEAL KIT

- service, O-ring and seal

1шт.

18

1272844C91

CYLINDER

ASSEMBLY - hydraulic (Replaces 844027C92) (See Note)

1шт.

80117C1

KIT

- service, O-ring and seal

1шт.

Выбрано товаров: 31