Запчасти Case IH 6300 (8-26) - HYDRAULIC SYSTEM, ENDWISE TRANSPORT, CONTINUED (08) - HYDRAULICS

Схема запчастей Case IH 6300 - (8-26) - HYDRAULIC SYSTEM, ENDWISE TRANSPORT, CONTINUED (08) - HYDRAULICS
11
14
15
12
13
8
11
16
11
17
10
17
11
1
12
9
1
5
17
11
11
15
2
17
18
4
17
15
14
16
3
12
12
3
17
6
15
3
17
17
7
17
2
2
11
17
14
FIT
1:1
100%

Артикул

Название

Примечание

Количество

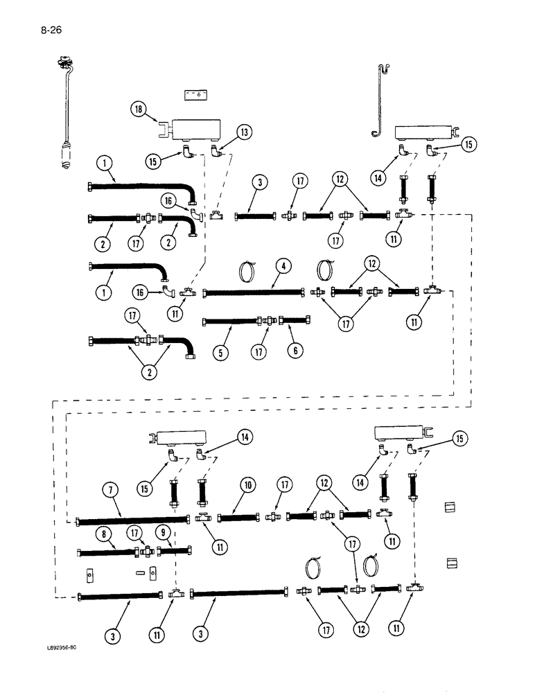
1

NSS

NOT SOLD SEPARAT

HOSE ASSEMBLY - hydraulic, 162 inch (Leading drill) (Order 2-1310502C1 hose and 1-9402787 connector)

2шт.

2

H331637

HYDRAULIC HOSE,9.52 mm ID x 2082.80 mm, SAE 100R1

(Leading drill) 9.52 mm ID x 2082.80 mm, SAE 100R1

2шт.

3

1140447C1

HOSE ASSY.

HOSE ASSEMBLY - hydraulic, 75 inch long (Leading drill)

1шт.

3

1140447C1

HOSE ASSY.

HOSE ASSEMBLY - hydraulic (Second, third or fourth drill)

2шт.

4

NSS

NOT SOLD SEPARAT

HOSE ASSEMBLY - hydraulic, 93 inch long (Leading drill) (Order 1-179411C1 hose, 1-851788C2 hose and 1-9402787 connector)

1шт.

5

179411C1

HOSE

ASSEMBLY - 3/8 x 61 inch (Leading drill)

1шт.

6

L100703

HOSE

ASSEMBLY - hydraulic, 34 inch long (Leading drill)

1шт.

7

NSS

NOT SOLD SEPARAT

HOSE ASSEMBLY - hydraulic, 103 inch long (Second, third and fourth drill) (Order 1-1310502C1 hose, 1-851789C2 hose and 1-9402787 connector)

1шт.

8

851789C2

HOSE

- hydraulic, 20-1/2 inches long (Second, third or fourth drill)

1шт.

9

H331637

HYDRAULIC HOSE,9.52 mm ID x 2082.80 mm, SAE 100R1

(Second, third or fourth drill) 9.52 mm ID x 2082.80 mm, SAE 100R1

1шт.

10

179411C1

HOSE

ASSEMBLY - 3/8 x 61 inch (Second, third or fourth drill)

1шт.

11

218-840

TEE,37 Degree, 3/4"-16 x 3/4"-16, Fem Sw Br

- swivel, 3/4-16 inch flared

4шт.

237-6008

O-RING,0.087" Thk x 0.644" ID, -908, Cl 6, 90 Duro

8-1, 90 Duro, .644" ID x .087" Thk

4шт.

12

851789C2

HOSE

- hydraulic, 20-1/2 inches long (24x6, 20x7)

2шт.

12

851789C2

HOSE

- hydraulic, 20-1/2 inches long (28x6, 24x7)

4шт.

13

1277963C1

ELBOW

- flow restrictor (Used with cylinder 1272402C91)

1шт.

14

1277964C1

ELBOW

- flow restrictor (Leading drill) (Use with cylinder 1272402C91)

1шт.

14

1277964C1

ELBOW

- flow restrictor (Second, third or fourth drill) (Use with cylinder 1272402C91)

2шт.

15

218-5106

90 ELBOW,90 Degree Elbow, 3/4" - 16 Male JIC x 3/4" - 16 Male ORB

- 90 degree adjustable, 1/2 inch tube 3/4-16 thread (Use with cylinder 1272402C91)

2шт.

16

218-5230

ELBOW,90 Degree, 3/4"-16, 37 Degree x 3/4"-16, 37 Degree Fem Sw

- 90 degree swivel, 1/2 inch tube 3/4-16 thread (Leading drill)

2шт.

17

218-434

HYD CONNECTOR,3/4" - 16 Male JIC x 3/4" - 16 Male JIC

CONNECTOR - 3/4-16 inch flared (Leading drill)

4шт.

17

218-434

HYD CONNECTOR,3/4" - 16 Male JIC x 3/4" - 16 Male JIC

CONNECTOR - 3/4-16 inch flared (Second, third or fourth drill)

3шт.

17

218-434

HYD CONNECTOR,3/4" - 16 Male JIC x 3/4" - 16 Male JIC

CONNECTOR - 3/4-16 inch flared (Connecting hose 841789C2)

1шт.

18

REF

INSTRUCTION

CYLINDER ASSEMBLY - hydraulic (See Page 8-41)

1шт.

Выбрано товаров: 24