Запчасти Case IH 6300 (9-002) - MAIN FRAME, CONTINUED (09) - CHASSIS/ATTACHMENTS

Схема запчастей Case IH 6300 - (9-002) - MAIN FRAME, CONTINUED (09) - CHASSIS/ATTACHMENTS
4
14
15
6
8
13
5
12
4
15
19
18
7
2
6
14
11
5
4
1
3
9
10
9
17
16
5
FIT
1:1
100%

Артикул

Название

Примечание

Количество

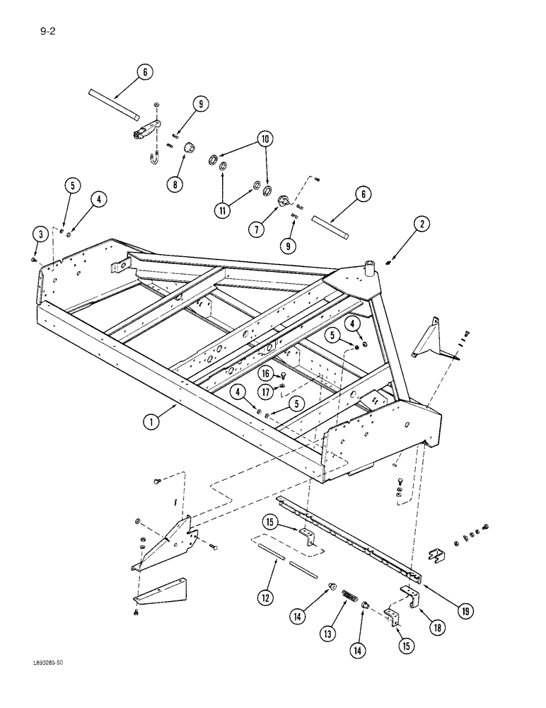
1

819084C93

FRAME

ASSEMBLY - main (16x6)

1шт.

1

819085C93

FRAME

ASSEMBLY - main (20x6)

1шт.

1

819086C93

FRAME

ASSEMBLY - (24x6, 20x7)

1шт.

1

819087C93

FRAME

ASSEMBLY - main (28x6, 24x7)

1шт.

REF

INSTRUCTION

DECAL - caution (See Page 9-163)

1шт.

2

219-86

LUBE NIPPLE,1/8" NPTF

FITTING - grease, straight, self-tapping, 1/8 inch

1шт.

3

434-612

CARRIAGE BOLT,Sht Sq Nk, 3/8" - 16 x 3/4", Gr 5

BOLT - round head square neck, 3/8 NC x 3/4 inch

1шт.

4

425-106

NUT,3/8"-16, Cl 5

1шт.

5

492-11038

LOCK WASHER,3/8"

1шт.

6

603164R1

ROCKSHAFT

BAR - rockshaft, 94-5/16 inch

1шт.

6

815971C1

BAR

- rockshaft, (16 x 6)

1шт.

6

NSS

NOT SOLD SEPARAT

BAR - rockshaft, 64-3/8 inch (20 x 6) (Order 603919R1 and, Serial Range: cut-length)

2шт.

6

603919R1

BAR

- rockshaft, 71-1/2 inch

1шт.

6

NSS

NOT SOLD SEPARAT

BAR - rockshaft, 73-7/8 inch (24x6, 20x7) (Order 603164R1 and, Serial Range: cut-length)

2шт.

6

NSS

NOT SOLD SEPARAT

BAR - rockshaft, 85-3/8 inch (28x6, 24x7) (Order 603164R1 and, Serial Range: cut-length)

2шт.

7

603114R1

TRUNNION

- rockshaft end (2 per bar)

1шт.

102907

SET SCREW,Sq Hd, 7/16"-14 x 1"

SCREW - square head cup point, set 7/16 NC x 7/8 inch

2шт.

8

815086C1

TRUNNION

- rockshaft intermediate (4 used 16x6; 6 used 20x6, 24x6. 28x6, 20x7, 24x7)

1шт.

9

603196R1

CHANNEL

- trunnion retaining (8 used 16x6; 12 used 20x6, 24x6, 28x6, 20x7, 24x7)

1шт.

10

23696R1

WASHER

- flat, 1-27/32 x 2-3/4 x 1/16 inch

1шт.

11

495-81216

WASHER,1.41" ID x 2.25" OD x 0.04" Thk

- flat, 1-13/32 x 2-1/4 x 1/32 inch

1шт.

12

816851C1

ROD

- drawbar pivot (16x6)

1шт.

12

816852C1

ROD

- drawbar pivot (20x6)

1шт.

12

816849C1

ROD

- drawbar pivot (24x6, 20x7)

1шт.

12

816853C1

ROD

- drawbar pivot (28x6, 24x7)

1шт.

13

16046D

SPRING

- drawbar lock pivot rod

1шт.

14

815264C1

BUSHING,19.43mm ID x 24.89mm OD x 31.24mm L

- drawbar lock

1шт.

15

1976316C1

ANGLE

- pivot rod support (6 used 16x6; 9 used 20x6, 24x6, 20x7, 24x7, 28x6)

1шт.

16

113-2427

BOLT,Hex, 1/2" - 13 x 5/8", Gr 5, Full Thd

- hex, 1/2 NC x 5/8 inch

1шт.

17

80679

LOCK WASHER,1/20.507 CST ZND

WASHER, LOCK, 1/2"

1шт.

18

816775C1

ANGLE

- pivot rod end cover

2шт.

19

816113C1

ANGLE

BRACKET - furrow opener spacing, left (16x6)

1шт.

19

816114C1

ANGLE

BRACKET - furrow opener spacing, right (16x6)

1шт.

19

816115C1

ANGLE

BRACKET - furrow opener spacing, left (20x6)

1шт.

19

816116C1

ANGLE

BRACKET - furrow opener spacing, right (20x6)

1шт.

19

816117C1

ANGLE

BRACKET - furrow opener spacing, left (24x6)

1шт.

19

816118C1

ANGLE

BRACKET - furrow opener spacing, right (24x6)

1шт.

19

816119C1

ANGLE

BRACKET - furrow opener spacing, left (20x7)

1шт.

19

816120C1

ANGLE

BRACKET - furrow opener spacing, right (20x7)

1шт.

19

816121C1

ANGLE

BRACKET - furrow opener spacing, left (24x7)

1шт.

19

816122C1

ANGLE

BRACKET - furrow opener spacing right (24x7)

1шт.

19

816902C1

ANGLE

BRACKET - furrow opener spacing, left (28x6)

1шт.

19

816903C1

ANGLE

BRACKET - furrow opener spacing, right (28x6)

1шт.

Выбрано товаров: 43