Запчасти Case IH 6300 (9-004) - MAIN FRAME (09) - CHASSIS/ATTACHMENTS

Схема запчастей Case IH 6300 - (9-004) - MAIN FRAME (09) - CHASSIS/ATTACHMENTS
43
36
29
34
25
26
44
21
30
37
31
22
33
40
35
21
41
49
32
24
53
28
39
20
22
52
51
50
20
27
23
FIT
1:1
100%

Артикул

Название

Примечание

Количество

20

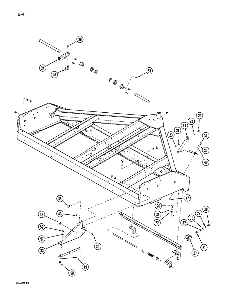
113-433

BOLT,Hex, 1/2" - 13 x 3/4", Gr 5, Full Thd

1шт.

21

80679

LOCK WASHER,1/20.507 CST ZND

WASHER, LOCK, 1/2"

1шт.

22

178374R1

WASHER

- flat, 17/32 x 1-1/4 x 3/64 inch

1шт.

23

425-108

NUT,1/2" - 13, Gr 5

NUT, , Hex 1/2"-13, G5

1шт.

24

815281C2

ARM

ASSEMBLY - rockshaft lift (1 used per furrow opener)

1шт.

25

815284C1

BOLT,3/8" - 16 x 2 1/2"

U-BOLT - lift arm

1шт.

26

482256R1

BEARING LOCK NUT,Flg, USR, 3/8"-16

- hex flange lock, 3/8 inch NC

1шт.

27

815753C2

SUPPORT

BRACKET - drawbar release

1шт.

28

413-620

BOLT,Hex, 3/8" - 16 x 1-1/4", Gr 5

- hex, 3/8 NC x 1-1/4 inch

1шт.

29

492-11038

LOCK WASHER,3/8"

2шт.

30

495-61041

WASHER,10.31mm ID x 25.4mm OD x 1.6mm Thk

2шт.

31

425-106

NUT,3/8"-16, Cl 5

1шт.

32

126032

WING NUT,3/8"-16

NUT - wing, 3/8 inch NC

1шт.

33

818400C2

SUPPORT

ASSEMBLY - footboard pivot, right

1шт.

33

818399C2

SUPPORT

ASSEMBLY - footboard pivot, left

1шт.

34

413-512

BOLT,Hex, 5/16" - 18 x 3/4", Gr 5

- hex, 5/16 NC x 3/4 inch

2шт.

35

434-612

CARRIAGE BOLT,Sht Sq Nk, 3/8" - 16 x 3/4", Gr 5

BOLT - round head square neck, 3/8 NC x 3/4 inch

6шт.

36

413-612

BOLT,Hex, 3/8" - 16 x 3/4", Gr 5

6шт.

37

492-11031

LOCK WASHER,5/16"

WASHER, LOCK, 5/16"

2шт.

39

495-81042

WASHER,25/32" x 1 1/2" x .120"

- flat, 25/32 x 1-1/2 x 3/32 inch

2шт.

40

495-81114

WASHER,8.74mm ID x 19.05mm OD x 1.7mm Thk

- flat, 11/32 x 3/4 x 1/16 inch

2шт.

41

425-105

NUT,5/16"-18, G5

- hex, 5/16 inch NC

2шт.

43

432-1624

COTTER PIN,1/4" x 1 1/2"

Pin, Split (Cotter), 1/4" x 1-1/2"

2шт.

44

818398C1

FILLER

PANEL - frame end front right

1шт.

44

818397C1

FILLER

PANEL - frame end front left

1шт.

49

818474C1

FILLER

PANEL - frame end rear right

1шт.

49

818473C1

FILLER

PANEL - frame end rear left

1шт.

50

434-48

CARRIAGE BOLT,Sht Sq Nk, 1/4" - 20 x 1/2", Gr 5

Bolt, Carriage, Short NK, 1/4"-20 x 1/2", G5, Full Thd

6шт.

51

492-11025

LOCK WASHER,1/4"

WASHER, LOCK, 1/4"

6шт.

52

425-104

NUT,1/4"-20, Cl 5

- hex, 1/4 inch NC

6шт.

53

485-14414

SET SCREW,Sq Hd, 7/16"-14 x 7/8"

SCREW - square head cup point, set 7/16 NC x 7/8 inch

2шт.

Выбрано товаров: 31