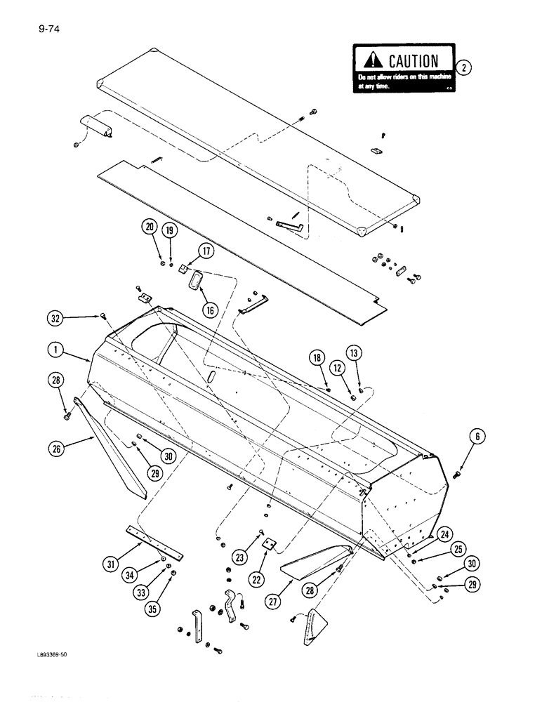
Запчасти Case IH 6300 (9-074) - GRAIN AND FERTILIZER HOPPER, CONTINUED (09) - CHASSIS/ATTACHMENTS

Схема запчастей Case IH 6300 - (9-074) - GRAIN AND FERTILIZER HOPPER, CONTINUED (09) - CHASSIS/ATTACHMENTS
26
30
24
35
12
30
19
6
29
1
27
17
28
33
34
22
23
13
16
25
31
20
32
28
2
18
29
FIT
1:1
100%

Артикул

Название

Примечание

Количество

1

819068C93

HOPPER

ASSEMBLY - grain and fertilizer (16x6)

1шт.

1

819075C93

HOPPER

ASSEMBLY - grain and fertilizer (20x6)

1шт.

1

819076C93

HOPPER

ASSEMBLY - grain and fertilizer (24x6, 20x7)

1шт.

1

819082C93

HOPPER

ASSEMBLY - grain and fertilizer (28x6, 24x7)

1шт.

2

REF

INSTRUCTION

DECAL - caution, no riders (See Page 9-163)

1шт.

6

413-812

BOLT,Hex, 1/2" - 13 x 3/4", Gr 5

- hex, 1/2 NC x 3/4 inch (16x6, 20x6, 24x6, 20x7)

2шт.

6

413-812

BOLT,Hex, 1/2" - 13 x 3/4", Gr 5

- hex, 1/2 NC x 3/4 inch (24x7, 28x6)

4шт.

12

425-108

NUT,1/2" - 13, Gr 5

NUT, , Hex 1/2"-13, G5

1шт.

13

80679

LOCK WASHER,1/20.507 CST ZND

WASHER, LOCK, 1/2"

1шт.

16

603264R1

GLASS

WINDOW - seed vision

2шт.

17

604320R1

CLIP

- seed vision window

4шт.

18

470-12510

SCREW,Slotted Pan Hd, 1/4"-20 x 5/8"

- pan head slotted, 1/4 NC x 5/8 inch

4шт.

19

492-11025

LOCK WASHER,1/4"

WASHER, LOCK, 1/4"

4шт.

20

425-104

NUT,1/4"-20, Cl 5

- hex, 1/4 inch NC

4шт.

22

815115C1

PLATE

COVER - fertilizer indicator access hole (16x6)

1шт.

22

815115C1

PLATE

COVER - fertilizer indicator access hole (20x6, 24x6, 28x6, 20x7, 24x7)

2шт.

23

434-512

CARRIAGE BOLT,Sht Sq Nk, 5/16" - 18 x 3/4", Gr 5

BOLT - round head square neck, 5/16 NC x 3/4 inch

2шт.

24

492-11031

LOCK WASHER,5/16"

WASHER, LOCK, 5/16"

2шт.

25

425-105

NUT,5/16"-18, G5

- hex, 5/16 inch NC

2шт.

26

816074C2

BRACE

- hopper diagonal, left

1шт.

27

816075C2

BRACE

- hopper diagonal, right

1шт.

28

413-816

BOLT,Hex, 1/2" - 13 x 1", Gr 5

7шт.

29

80679

LOCK WASHER,1/20.507 CST ZND

WASHER, LOCK, 1/2"

7шт.

30

425-108

NUT,1/2" - 13, Gr 5

NUT, , Hex 1/2"-13, G5

7шт.

31

816683C1

BAR

- reinforcing (20x6, 24x6, 28x6, 20x7, 24x7)

2шт.

32

413-616

BOLT,Hex, 3/8" - 16 x 1", Gr 5

- hex, 3/8 NC x 1 inch

14шт.

33

492-11038

LOCK WASHER,3/8"

14шт.

34

495-61041

WASHER,10.31mm ID x 25.4mm OD x 1.6mm Thk

14шт.

35

425-106

NUT,3/8"-16, Cl 5

14шт.

Выбрано товаров: 29