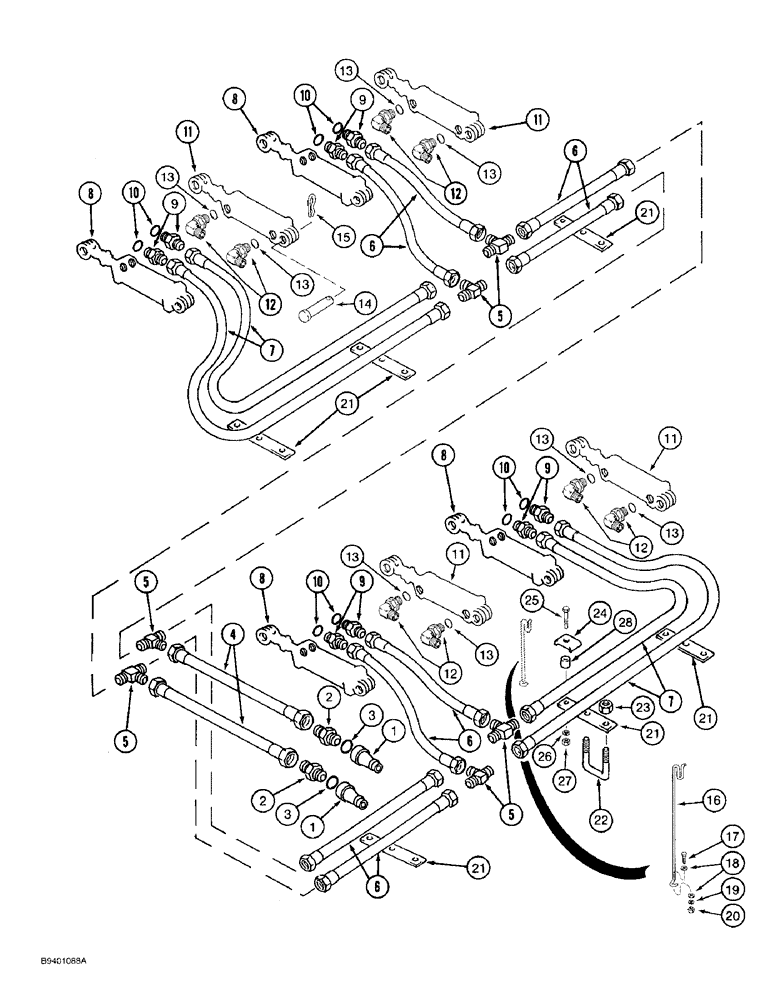
Запчасти Case IH 7100 (8-20) - LIFT HYDRAULIC SYSTEM, FOUR DRILL COMBINATION, USES SINGLE HOSE FROM CROSS TO CYLINDER (08) - HYDRAULICS

Схема запчастей Case IH 7100 - (8-20) - LIFT HYDRAULIC SYSTEM, FOUR DRILL COMBINATION, USES SINGLE HOSE FROM CROSS TO CYLINDER (08) - HYDRAULICS
15
9
21
23
9
9
4
21
21
2
13
11
8
12
22
19
24
13
7
10
6
5
9
27
5
13
8
25
21
13
5
2
8
10
12
5
14
8
12
13
6
10
3
10
28
3
20
16
1
13
11
26
6
18
11
7
12
1
6
13
21
17
11
13
FIT
1:1
100%

Артикул

Название

Примечание

Количество

1

395149R1

QUICK MALE COUPLING

COUPLER - hose, male, 7/8-14 thread poppet type

2шт.

1

1272399C2

QUICK MALE COUPLING

COUPLER - hose, male, 7/8-14 thread self sealing type (ISO standard)

2шт.

1a

1341843C1

QUICK MALE COUPLING

COUPLER - hose, male, 7/8-14 thread self sealing type

2шт.

2

218-5058

HYD CONNECTOR,9/16" - 18 Male JIC x 3/4" - 18 Male ORB

ADAPTER - straight, 9/16-18 flare x 3/4-16 inch O-ring boss

2шт.

3

237-6008

O-RING,0.087" Thk x 0.644" ID, -908, Cl 6, 90 Duro

8-1, 90 Duro, .644" ID x .087" Thk

2шт.

4

1284369C1

HYDRAULIC HOSE

HOSE - hydraulic, 3/8 x 130 inch

2шт.

5

218-593

TEE,9/16"-18, 37 Degree

- 9/16-18 inch flare

6шт.

6

813006C2

HYDRAULIC HOSE

HOSE - hydraulic, 3/8 x 85 inch

6шт.

7

1284314C1

HYDRAULIC HOSE

HOSE - hydraulic, 3/8 x 235 inch

4шт.

8

145353C91

HYDRAULIC CYLINDER

CYLINDER ASSEMBLY - IA Ind., 2-1/2 x 8 inch, 3/4-16 inch dual rear ports (See page 8-53)

2шт.

9

218-5058

HYD CONNECTOR,9/16" - 18 Male JIC x 3/4" - 18 Male ORB

ADAPTER - straight, 9/16-18 flare x 3/4-16 inch O-ring boss

8шт.

10

237-6008

O-RING,0.087" Thk x 0.644" ID, -908, Cl 6, 90 Duro

8-1, 90 Duro, .644" ID x .087" Thk

1шт.

11

1272145C91

CYLINDER ASSY.

CYLINDER ASSEMBLY - IA Ind., 2-1/2 x 8 inch, 3/4-16 inch front and rear ports (See page 8-59)

2шт.

12

218-5128

ELBOW,90° Elbow, 9/16" - 18 Male JIC x 3/4" - 16 Male ORB

- 90 degree, 9/16-18 flare x 3/4-16 inch adj O-ring

8шт.

13

237-6008

O-RING,0.087" Thk x 0.644" ID, -908, Cl 6, 90 Duro

8-1, 90 Duro, .644" ID x .087" Thk

1шт.

14

810751C1

PIN

- headed, 1 x 3-1/2 inch

8шт.

15

1980543C1

HAIR PIN COTTER

PIN - cotter, quick attachable, 5/32 inch diameter

8шт.

15a

1268367C2

STOP

- cylinder assembly, not shown (See page 8-45)

4шт.

16

651793R2

SUPPORT

ROD - hose support

1шт.

17

413-1032

BOLT,Hex, 5/8" - 11 x 2", Gr 5

- hex, 5/8 NC x 2 inch

1шт.

18

495-81027

WASHER,21/32" x 1 1/2" x .120"

- flat, 21/32 x 1-1/2 x 7/64 inch

2шт.

19

492-11062

BEARING WASHER,5/8"

WASHER, LOCK, 5/8"

1шт.

20

425-1010

NUT,5/8"-11, G5

1шт.

21

819854C1

BAR

- hose support

6шт.

22

811627C2

U-BOLT

- hose support

6шт.

23

425-1010

NUT,5/8"-11, G5

12шт.

24

379045R1

CLAMP

- hose

6шт.

25

413-528

BOLT,Hex, 5/16" - 18 x 1-3/4", Gr 5

- hex, 5/16 NC x 1-3/4 inch

6шт.

26

492-11031

LOCK WASHER,5/16"

WASHER, LOCK, 5/16"

6шт.

27

425-105

NUT,5/16"-18, G5

- hex, 5/16 inch NC

6шт.

28

618631R1

SPACER

- hose clamp

6шт.

Выбрано товаров: 31