Запчасти Case IH 8500 (9-198) - PRESS WHEEL FRAME CUSHION PARTS, UNITS WITH 7 INCH ROW SPACING, 33 FOOT WIDE DRILL (09) - CHASSIS/ATTACHMENTS

Схема запчастей Case IH 8500 - (9-198) - PRESS WHEEL FRAME CUSHION PARTS, UNITS WITH 7 INCH ROW SPACING, 33 FOOT WIDE DRILL (09) - CHASSIS/ATTACHMENTS
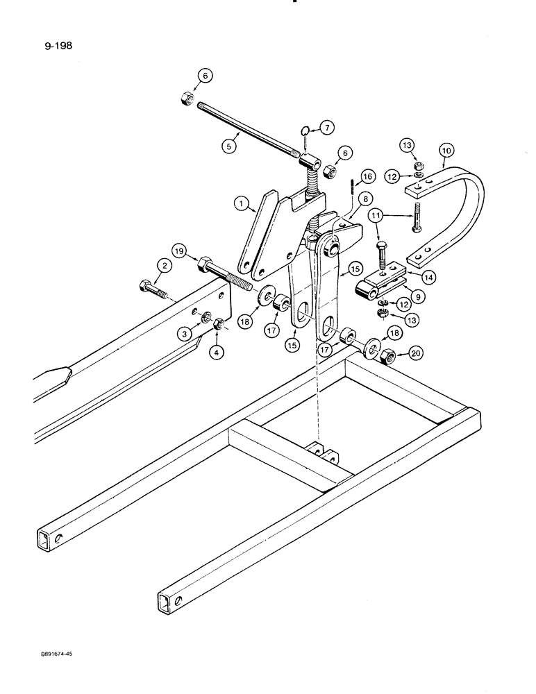
1
8
3
11
19
9
10
13
12
4
13
7
12
15
18
6
20
18
14
15
2
6
17
5
16
17
FIT
1:1
100%

Артикул

Название

Примечание

Количество

1

1337392C1

ADJUSTMENT SCREW

BRACKET AND ADJUSTING SCREW - press wheel

1шт.

used with drill frame sections number 1, 2, 3 and 4

4шт.

2

271729

BOLT,Hex, 5/8" - 11 x 3 1/2", Gr 5

- hex head, 5/8" - 11 NC x 3-1/2"

8шт.

3

492-11062

BEARING WASHER,5/8"

WASHER, LOCK, 5/8"

8шт.

4

280374

NUT,Hex, 5/8" - 11, Gr 5

- hex, 5/8" - 11 NC

8шт.

5

1337398C1

ROD,3/4" - 10 x 17 1/2"

HANDLE - adjusting screw

4шт.

6

280954

NUT,3/4"-10, G5

8шт.

7

1337334C1

PIN

- hitch, Klik type, 1/4" diameter x 2"

4шт.

8

1960455C1

TRUNNION

BRACKET - mounting, adjusting screw to press wheel frame

4шт.

9

1337394C2

SUPPORT

BRACKET- pivot mount, spring, lower

4шт.

10

1337393C1

SPRING

- cushion, press wheel

4шт.

11

413-1048

BOLT,Hex, 5/8" - 11 x 3", Gr 5

- hex head, 5/8" - 11 NC x 3"

16шт.

12

492-11062

BEARING WASHER,5/8"

WASHER, LOCK, 5/8"

16шт.

13

280374

NUT,Hex, 5/8" - 11, Gr 5

- hex, 5/8" - 11 NC

16шт.

14

1960458C1

SHIM

- press wheel cushion spring

4шт.

15

1960481C1

BAR

- cushion spring travel limiter

8шт.

16

19506R1

PIN,3/16" x 2", Coiled

8шт.

17

1960459C1

BUSHING

- travel limiter bar

8шт.

18

1960480C1

WASHER

- flat, travel limiter bar

8шт.

19

20300R1

SCREW,Hex, 3/4"-10 x 6", G5

BOLT - hex head, 3/4" - 10 NC x 6"

4шт.

20

9413971

LOCK NUT,3/4"-10, GB

NUT - hex, self-locking, 3/4" - 10 NC

4шт.

Выбрано товаров: 21