Запчасти Case IH 8500 (8-16) - HYDRAULIC PUMP MOUNTING, WITH SLIDE ADJUSTABLE SUPPORT PARTS (08) - HYDRAULICS

Схема запчастей Case IH 8500 - (8-16) - HYDRAULIC PUMP MOUNTING, WITH SLIDE ADJUSTABLE SUPPORT PARTS (08) - HYDRAULICS
2a
2
10
4
8
1
9
7
1a
6
3
12
11
5
11
FIT
1:1
100%

Артикул

Название

Примечание

Количество

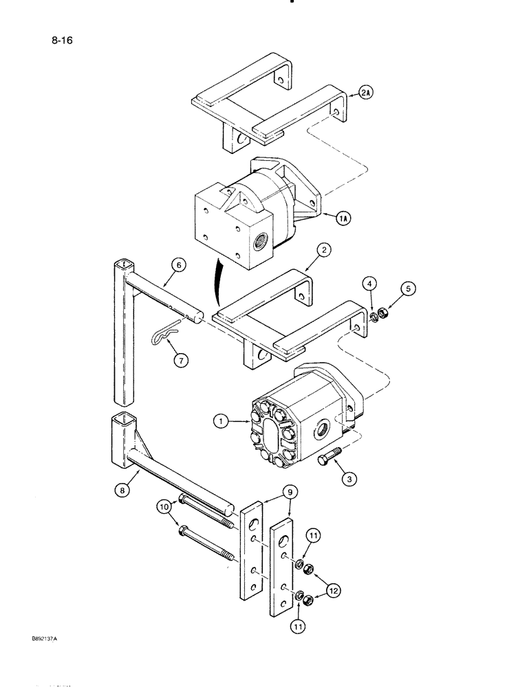
1

85036C91

PUMP

ASSEMBLY - hydraulic, fan drive, parts list page 8-11

1шт.

1343578C1R

REMAN-HYD PUMP

8500, Reman For New P/N 85036C91

1шт.

1343578C1C

CORE-HYDRAULIC PUMP

Return Number

1шт.

1a

1343578C1

PUMP

ASSEMBLY - hydraulic, fan drive, parts list page 8-13

1шт.

1343578C1R

REMAN-HYD PUMP

8500

1шт.

1343578C1C

CORE-HYDRAULIC PUMP

Return Number

1шт.

2

1969315C1

BRACKET

- pump mounting, used with 89036C91 pump

1шт.

2a

1969315C2

BRACKET

- pump mounting, used with 1343578C1 pump

1шт.

3

413-828

BOLT,Hex, 1/2" - 13 x 1-3/4", Gr 5

2шт.

4

80679

LOCK WASHER,1/20.507 CST ZND

WASHER, LOCK, 1/2"

2шт.

5

425-108

NUT,1/2" - 13, Gr 5

NUT, , Hex 1/2"-13, G5

2шт.

6

1969319C1

SLIDE

BRACKET - pump adjusting, upper

1шт.

7

486830R1

COTTER PIN

PIN - cotter, hair type, 3/16 inch diameter

2шт.

8

1969322C1

SLIDE

BRACKET - pump adjusting, lower

1шт.

9

1969325C1

BAR

BRACKET - mounting, lower adjusting, Serial Range: bracket-drawbar

2шт.

10

413-880

BOLT,Hex, 1/2" - 13 x 5", Gr 5

- hex, 1/2 NC x 5 inch

2шт.

11

80679

LOCK WASHER,1/20.507 CST ZND

WASHER, LOCK, 1/2"

2шт.

12

425-108

NUT,1/2" - 13, Gr 5

NUT, , Hex 1/2"-13, G5

2шт.

Выбрано товаров: 18