Запчасти Case IH 8600 (9-014) - HOPPER AND COVER (09) - CHASSIS/ATTACHMENTS

Схема запчастей Case IH 8600 - (9-014) - HOPPER AND COVER (09) - CHASSIS/ATTACHMENTS
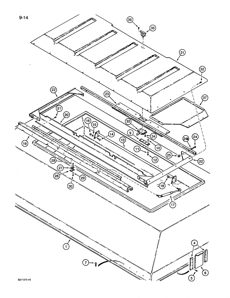
12
22
7
33
13
9
24a
16
36
23
17
37
25
20
19
1
35
31
6
18
28
21
29
4
26
10
27
15
11
30
22
5
34
14
32
24
FIT
1:1
100%

Артикул

Название

Примечание

Количество

1

841220C2

HOPPER

- grain and fertilizer

1шт.

4

88840C1

GUIDE

- clean out door

4шт.

5

160035

SCREW,Cross Pan Hd, #10 - 32 x 3/8"

- machine, pan head, No. 10 -32 NF x 3/8 inch

16шт.

6

841501C1

DOOR

- clean out, hopper

2шт.

7

850679C1

SELF-TAP SCREW,Hex Wash Hd, 5/16"-18 x 3/4"

SCREW - self-tapping, 5/16 inch - 18 NC x 3/4 inch

15шт.

9

843097C1

PLATE

- striker, cover latch

1шт.

10

598795R1

CARRIAGE BOLT,Sht Sq Nk, 1/4" - 20 x 3/4", Gr 5

BOLT - carriage head, 1/4 inch - 20 NC x 3/4 inch

4шт.

11

192-19

LOCK WASHER,Helical Spring, 0.256" ID, CST, ZND

WASHER, LOCK, 1/4"

4шт.

12

120375

NUT,Hex, 1/4" - 20, Gr 5

4шт.

13

841252C1

ANCHOR

BRACKET - mounting, cover support spring

1шт.

14

113-103

BOLT,Hex, 5/16" - 18 x 1", Gr 5

4шт.

15

80681

LOCK WASHER,5/16"

WASHER, LOCK, 5/16"

4шт.

16

120376

NUT,5/16"-18, G5

4шт.

17

841248C1

SPRING

- gas, cover support

2шт.

18

938017R1

FLANGE NUT,Flg, USR, 5/16"-18

- hex, flange lock, 5/16 inch - 18 NC

4шт.

19

842846C1

FRAME ASSY

FRAME AND HINGE - cover, rear

1шт.

20

841978C1

COVER

- hinge, rear

1шт.

21

1337040C1

SELF-TAP SCREW,Hex Wshr Hd, 1/4" - 20 x 3/4"

- self-tapping, 1/4 inch - 20 NC x 3/4 inch

9шт.

22

842847C2

FRAME

- cover, side

2шт.

23

842845C2

FRAME

- cover, front latch

1шт.

24

180083

BOLT,Hex, 5/16" - 18 x 1 1/2", Gr 5

- hex head, 5/16 inch - 18 NC x 1/1/2 inch

8шт.

24a

120393

BEARING WASHER,5/16", SAE

WASHER - flat, 5/16 inch

8шт.

25

938017R1

FLANGE NUT,Flg, USR, 5/16"-18

- hex, flange lock, 5/16 inch - 18 NC

8шт.

26

604403R2

CLAMP

- hinge, lower

5шт.

27

604404R2

CLAMP

- hinge, upper

5шт.

28

598796R1

CARRIAGE BOLT,Sht Sq Nk, 1/4" - 20 x 1", Gr 5

BOLT - carriage head, 1/4 inch - 20 NC x 1 inch

10шт.

29

842797C1

SEALING WASHER

- special sealing, 1/4 inch

10шт.

30

938016R1

FLANGE NUT,Flg, USR, 1/4"-20

- hex, flange lock, 1/4 inch - 20 NC

10шт.

31

842769C2

COVER

- hopper

1шт.

32

1337040C1

SELF-TAP SCREW,Hex Wshr Hd, 1/4" - 20 x 3/4"

- self-tapping, 1/4 inch - 20 NC x 3/4 inch

27шт.

33

842864C1

LATCH

- hopper cover

1шт.

34

828230C2

SCREW,Hex Washer, #10 - 24 x 1/2"

- pan head, self-tapping, No. 10 - 32 NF x 1/2 inch

4шт.

35

841814C1

HANDLE

- cover latch

1шт.

36

27193R1

SELF-TAP SCREW,Cross Oval Hd, #10 x 3/4"

SCREW - oval head, self-tapping, No. 10 - 32 NF x 3/4 inch

2шт.

37

1337973C1

PLATE

PANEL - decal, seed and fertilizer chart, see pages 9-105 and 9-107 for decals

1шт.

38

REF

INSTRUCTION

ROPE - hopper cover frame to spring mounting bracket, 1/4 inch x 120 inch long polyproplene, purchase locally, not shown

1шт.

Выбрано товаров: 36