Запчасти Case IH ATX (10-52) - PRIMARY MANIFOLD STAND, REAR TOW - SINGLE (09) - CHASSIS/ATTACHMENTS

Схема запчастей Case IH ATX - (10-52) - PRIMARY MANIFOLD STAND, REAR TOW - SINGLE (09) - CHASSIS/ATTACHMENTS
8
17
18
25
4
7
20
1
11
26
2
21
15
19
6
14
23
17
22
12
24
13
9
16
10
3
FIT
1:1
100%

Артикул

Название

Примечание

Количество

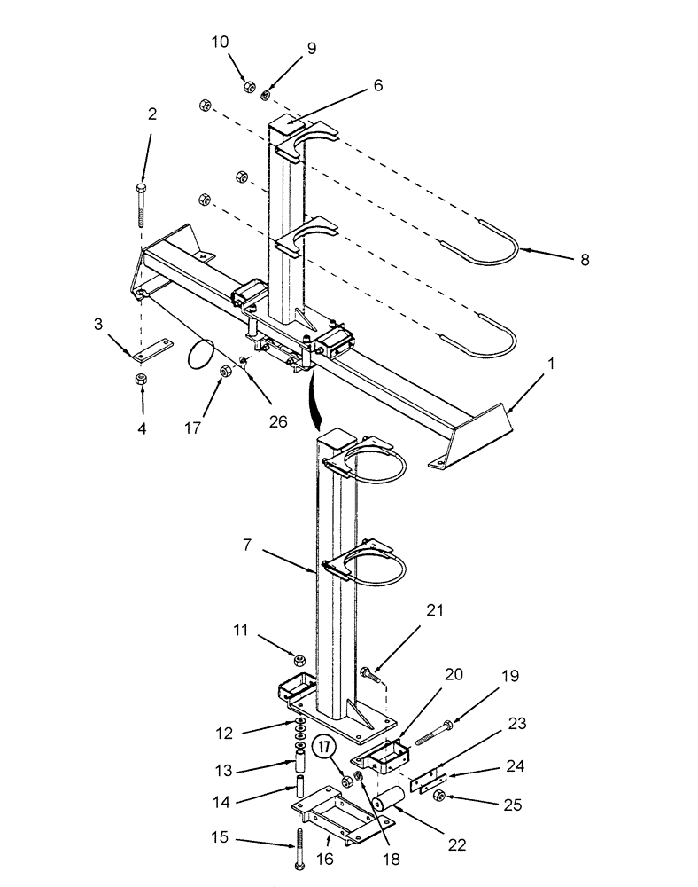
1

1027631

MOUNTING PARTS

MANIFOLD RAIL, PRIMARY

1шт.

2

86505997

BOLT,Hex, 1/2" - 13 x 7 1/2", Gr 5

4шт.

3

1021679

LARGE PLATE

PLATE, LARGE BACKUP

2шт.

4

87530607

NUT

1/2"-13, GB

4шт.

6

290107A1

STAND

manifold primary roller

1шт.

7

290088A1

STAND

MANIFOLD PRIMARY

1шт.

8

1033298

U-BOLT

UR .375 5.188W 7.313D UNC YZD 1.5'' THREAD

2шт.

9

80680

LOCK WASHER,3/8 0.381 CST ZND

4шт.

10

9628503

NUT,3/8"-16, G5

4шт.

11

231-1446

NUT,3/8" - 16, Gr 5

4шт.

12

80702

WASHER,0.44" ID x 1" OD x 0.08" Thk

1шт.

13

1030354

TUBE,0.645" ID, 0.875" OD

tube

4шт.

14

1030355

SPACER

tube

4шт.

15

80012047

BOLT,Hex, 3/8" - 16 x 4", Grade 5

4шт.

16

1030361

MOUNTING PARTS

lower

1шт.

17

9628503

NUT,3/8"-16, G5

5шт.

18

80680

LOCK WASHER,3/8 0.381 CST ZND

4шт.

19

86505980

BOLT,Hex, 3/8" - 16 x 4 1/2", Gr 5

4шт.

20

1030360

MOUNTING PARTS

upper

2шт.

21

86625179

SCREW,Hex, #10 - 24 x 3/4"

4шт.

22

1030356

ROLLER

Nylatron

4шт.

23

1030386

WIPER

RUBBER

2шт.

24

1030385

BAR

back

2шт.

25

1026591

LOCK NUT

HEX, No. 10 NC

4шт.

26

1030788

CABLE

GROUND

1шт.

Выбрано товаров: 25