Запчасти Case IH ATX (10-72) - EZ FLOW HEADERS - HOSE CONNECTORS - CULTIVATOR AND TOW BEHIND SEEDER (09) - CHASSIS/ATTACHMENTS

Схема запчастей Case IH ATX - (10-72) - EZ FLOW HEADERS - HOSE CONNECTORS - CULTIVATOR AND TOW BEHIND SEEDER (09) - CHASSIS/ATTACHMENTS
15
13
28
18
10
24
20
16
27
11
26
8
24
2
14
4
13
20
9
6
7
21
17
12
5
12
1
3
22
FIT
1:1
100%

Артикул

Название

Примечание

Количество

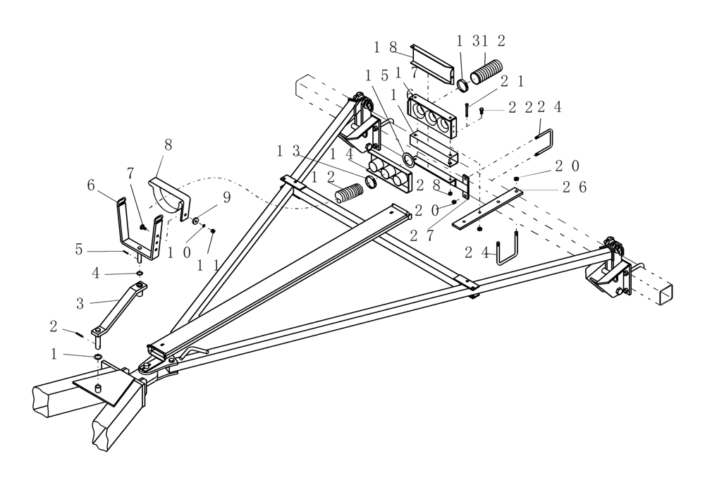
1

87325444

WASHER,1.02" ID x 1.5" OD x 0.07" Thk

1 1/64" id 1 1/2" 14ga

1шт.

2

70921559

ROLL PIN,7.94mm OD x 41.27mm L

1шт.

3

GD-293

HYDRAULIC SWIVEL

hose support

1шт.

4

3443

WASHER,0.75" ID x 1.25" OD x 0.07" Thk

3/4" id 14ga

1шт.

5

300868

ROLL PIN,6mm OD x 36mm L, Slotted

1шт.

6

GD-294

SUPPORT

hose strap

1шт.

7

86508773

CARRIAGE BOLT,Sq Nk, 3/8" - 16 x 1 1/4", Gr 5, Full Thd

1шт.

8

9990

SUPPORT

strap hose

1шт.

9

GD-295

WASHER

clamp

1шт.

10

80680

LOCK WASHER,3/8 0.381 CST ZND

1шт.

11

9628503

NUT,3/8"-16, G5

1шт.

12

86992286

HOSE,2.50" ID x 100.00'

Spiral PVC Black Order Multiples of 100 Feet

1шт.

13

214-1444

HOSE CLAMP,58.6mm - 82.5mm

1шт.

14

GD-673

FITTING

hose connector 2 1/2"

1шт.

15

6177

OIL SEAL

quick connect 2 1/2" id

1шт.

16

GE-393

SPACER

quick connect

1шт.

17

GD-672A

HOLDER

quick connect 2 1/2" female

1шт.

Includes two 413-620, four 425-146, two 5625 and four 4630

1шт.

18

GD-254

COVER

plate hose connect

1шт.

20

280980

NUT,7/16"-14, GC

1шт.

21

88444

BOLT,Hex, 3/8" - 16 x 2 3/4", Gr 5

1шт.

22

88206

BOLT,Hex, 3/8" - 16 x 1", Gr 5

1шт.

24

5089

U-BOLT

us 7/16"-14 4 1/8" w 5 3/8" d GR2

1шт.

26

GD-699

BRACKET, SUPPORTING

long

1шт.

27

GD-671

SUPPORT

connector

1шт.

28

88902

NUT,3/8"-16

1шт.

100

GE-518K

HOSE KIT

hose - 2 1/2"

1шт.

Not Shown

1шт.

Includes splice tube GE-518 and two 214-1444 hose clamps

1шт.

100

GE-518

TUBE

splice hose - 2 1/2"

1шт.

Выбрано товаров: 30