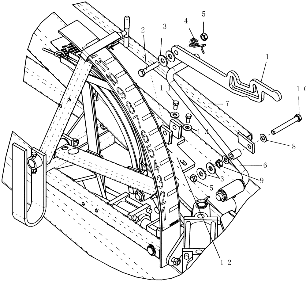
Запчасти Case IH ATX700 (01.041.3) - STOP, DEPTH HANDLE LATCH INSTALLATION (12) - FRAME

Схема запчастей Case IH ATX700 - (01.041.3) - STOP, DEPTH HANDLE LATCH INSTALLATION (12) - FRAME
8
10
7
3
11
12
5
9
13
2
5
4
1
6
3
FIT
1:1
100%

Артикул

Название

Примечание

Количество

1

87697471

LATCH

lockshaft handle

1шт.

2

87972

BOLT,Hex, 1/2" - 13 x 2 1/2", Gr 5

2шт.

3

80700

WASHER,0.56" ID x 1.38" OD x 0.11" Thk

17шт.

4

87714922

TORSION SPRING

3.18" wire RH SS

1шт.

5

86992215

LOCK NUT,1/2"-13, GC

15шт.

6

87503821

HANDLE

lockshaft release

1шт.

7

87503824

LINK

tension lockshaft release

1шт.

8

5868

WASHER,0.5" ID x 1" OD x 0.06" Thk

1/2" id 1" 16ga

2шт.

9

87333862

NUT

1/2"-13, GB

1шт.

10

88965

BOLT,Hex, 1/2"-13 x 4", G5, Full Thd

1шт.

11

86500692

BOLT,Hex, 3/8" - 16 x 3/4", Gr 8, Full Thd

2шт.

12

87716959

BRACKET

latch retrofit

1шт.

13

80702

WASHER,0.44" ID x 1" OD x 0.08" Thk

2шт.

Выбрано товаров: 0