Качественные детали и логистика
Оригинальные и аналоговые запчасти с доставкой по России, Казахстану и Беларуси
©2022 PartSell ООО "Система" ИНН 2463123282 ОГРН 1212400004838
Центральный офис: г. Красноярск, Академика Киренского, д.87, пом.4
Телефон: 8 (800) 777-65-74 Email: zakaz@partsell.ru
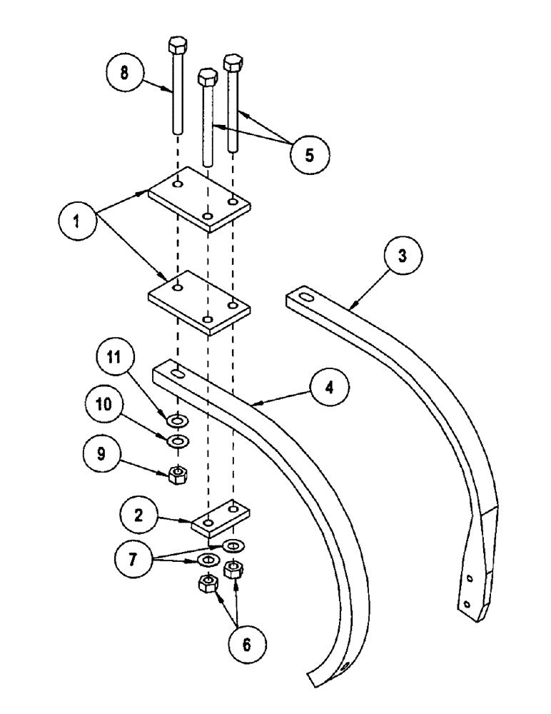
(B48) - SOLID MOUNT SHANK ASSEMBLY
№
Артикул
Название
Примечание
Количество
1
1020731
PLATE
- bolting
2шт.
2
1020732
1шт.
3
1030504
SHANK
- side mount
4
1021262
- W/SL O/top 1.25 x 2
5
413-12128
BOLT,Hex, 3/4" - 10 x 8", Gr 5
.75 X 8 UNC GR5 YZD
6
425-1012
NUT,3/4"-10, G5
7
492-11075
LOCK WASHER,3/4"
3/4"
8
426-10128
BOLT,Hex, 5/8" - 11 x 8", Gr 8
.625 X 8 UNC GR8 YZD
9
425-1010
NUT,5/8"-11, G5
10
492-11062
BEARING WASHER,5/8"
WASHER, LOCK, 5/8"
11
1013004
WASHER
- flat: SAE .63 ZP
Выбрано товаров: 0