Запчасти Case IH CONCORD (B76) - HYDRAULICS, DEPTH

Схема запчастей Case IH CONCORD - (B76) - HYDRAULICS, DEPTH
???
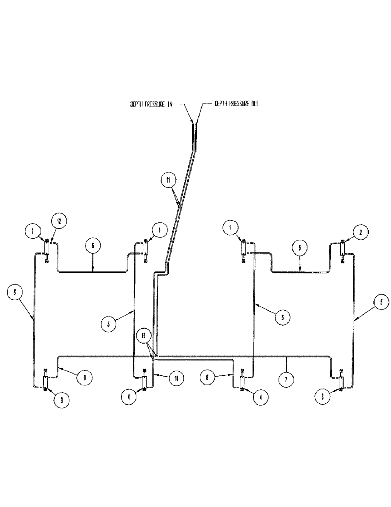
2
2
11
5
5
13
12
7
3
5
10
6
9
1
3
6
1
5
???
???
FIT
1:1
100%

Артикул

Название

Примечание

Количество

1

1026897

HYDRAULIC CYLINDER

CYL HYD 3.75 X 8.00 IOWA

2шт.

2

1026896

HYDRAULIC CYLINDER

CYL HYD 3.50 X 8.00 IOWA

2шт.

3

1026895

HYDRAULIC CYLINDER

CYL HYD 3.25 X 8.00 IOWA

2шт.

4

1026898

HYDRAULIC CYLINDER

CYL HYD 4.00 X 8.00 IOWA

2шт.

5

1017750

HYDRAULIC HOSE

HOSE HYD .5 X 198 FL - 4410

4шт.

5

1017746

HYDRAULIC HOSE

HOSE HYD .5 X 178 FL - all 4 rank models

4шт.

5

1021280

HYDRAULIC HOSE

HOSE HYD .5 X 154 FL - 4010-3R

4шт.

5

1015396

HYDRAULIC HOSE,12.7mm ID x 3810mm L, SAE 100R17

HOSE HYD .5 X 150 FL - 3010-3R

4шт.

6

1021376

HOSE ASSY.

HOSE .50 x 260-8 JICFSW both - 4410

2шт.

6

1017746

HYDRAULIC HOSE

HOSE HYD .5 X 178 FL - 2310, 2710

2шт.

6

1017100

HYDRAULIC HOSE

HOSE HYD .5 X 204 FL - 3010-4R, 3310

2шт.

6

1021281

HYDRAULIC HOSE

HOSE HYD .5 X 215 FL - 3710

2шт.

6

1023092

HOSE ASSY.

HOSE .50 x 234-8 JICFSW both - 4010-4R, 4010-3R

2шт.

6

1017750

HYDRAULIC HOSE

HOSE HYD .5 X 198 FL - 3010-3R

2шт.

7

1021282

HYDRAULIC HOSE

HOSE HYD .5 X 280 FL - 4010-3R, 4010-4R, 4410

1шт.

7

1017140

HYDRAULIC HOSE

HOSE .50 x 222-8 JICFSW both - 2310

1шт.

7

1017101

HYDRAULIC HOSE

HOSE HYD .5 X 228 FL - 2710

1шт.

7

1015220

HYDRAULIC HOSE

HOSE HYD .5 X 240 FL - 3010-4R, 3010-3R

1шт.

7

1015392

HYDRAULIC HOSE

HOSE HYD .5 X 256 FL - 4410

1шт.

7

1021376

HOSE ASSY.

HOSE .50 x 260-8 JICFSW both - 3710

1шт.

8

1021280

HYDRAULIC HOSE

HOSE HYD .5 X 154 FL - 4 rank models, 4010 -3R

1шт.

8

1015396

HYDRAULIC HOSE,12.7mm ID x 3810mm L, SAE 100R17

HOSE HYD .5 X 150 FL - 3010-3R

1шт.

9

1020975

HYDRAULIC HOSE

HOSE HYD .5 X 188 FL - 4010-3R, 4010-4R, 4410

1шт.

9

1015390

HYDRAULIC HOSE

HOSE HYD .5 X 132 FL - 2310

1шт.

9

1015393

HYDRAULIC HOSE

HOSE HYD .5 X 144 FL - 2710

1шт.

9

1021280

HYDRAULIC HOSE

HOSE HYD .5 X 154 FL - 3010-4R

1шт.

9

1023091

HYDRAULIC HOSE

HOSE HYD .5 X 162 FL - 3310

1шт.

9

1017749

HYDRAULIC HOSE

HOSE HYD .5 X 168 FL - 3710

1шт.

9

1014813

HYDRAULIC HOSE

HOSE HYD .5 X 156 FL - 3010-3R

1шт.

10

90879C1

HYDRAULIC HOSE,12.70 mm ID x 2030.00 mm, SAE 100R1

All Models 12.70 mm ID x 2030.00 mm, SAE 100R1

1шт.

11

1017135

HYDRAULIC HOSE

HOSE HYD .5 X 312 FL - all 4 rank models

2шт.

11

1021370

HYDRAULIC HOSE

HOSE HYD .5 X 285 FL - 4010 -3R

2шт.

11

1021370

HYDRAULIC HOSE

HOSE HYD .5 X 285 FL - 3010 -3R

2шт.

12

218-5106

90 ELBOW,90 Degree Elbow, 3/4" - 16 Male JIC x 3/4" - 16 Male ORB

STL 90DEG .5MB .5MJ

16шт.

13

218-594

TEE,3/4"-16, 37 Degree

FIT STL .5MJ

2шт.

Выбрано товаров: 35