Запчасти Case IH CONCORD (B58) - EDGE-ON ANDERSON OPENER, 10" DRY

Схема запчастей Case IH CONCORD - (B58) - EDGE-ON ANDERSON OPENER, 10" DRY
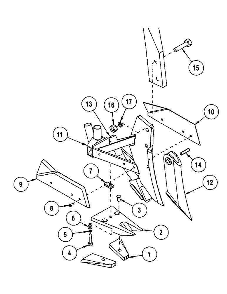
3
12
5
1
8
16
13
14
10
9
6
15
7
17
2
4
11
FIT
1:1
100%

Артикул

Название

Примечание

Количество

1

1030570

LARGE PLATE

INSERT - chrome

2шт.

2

1030055

BASE PLATE

PLATE BASE A-10 PLN

1шт.

3

1030571

SCREW

- F-H-S-C: .38 x 1.00 NC

2шт.

4

413-524

BOLT,Hex, 5/16" - 18 x 1-1/2", Gr 5

1шт.

5

492-11031

LOCK WASHER,5/16"

WASHER, LOCK, 5/16"

1шт.

6

1011583

WASHER

- flat: .31 ZP

2шт.

7

1030568

NUT

EXTRUDED PANEL .31 PNT

1шт.

8

1030567

RIVET

: 8-8 buttonhead 8/32

6шт.

9

1030052

SHIELD

- right hand

1шт.

10

1030051

SHIELD

- left hand

1шт.

11

1032062

SUPPORT

WLDMT - frame A-10 edge-on dry

1шт.

12

306355A1

TIP

- chrome A-Edge-On

1шт.

13

1032070

TUBE

- edge on dry (Not a service part)

1шт.

14

0100344

SPLIT PIN/SAFETY PIN

ROLL PIN .375 X 1.5 YZD HVY

1шт.

15

413-832

BOLT,Hex, 1/2" - 13 x 2", Gr 5

2шт.

16

425-108

NUT,1/2" - 13, Gr 5

NUT, 1/2"-13, G5

2шт.

17

80679

LOCK WASHER,1/20.507 CST ZND

WASHER, LOCK, 1/2"

2шт.

Выбрано товаров: 17