Запчасти Case IH CONCORD (B84) - HYDRAULICS, WING LIFT, DUAL

Схема запчастей Case IH CONCORD - (B84) - HYDRAULICS, WING LIFT, DUAL
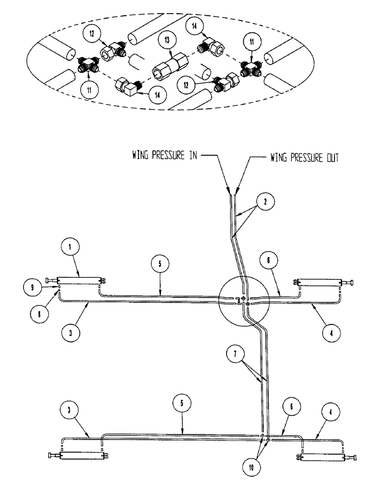
4
5
11
10
4
3
6
9
8
1
12
2
7
3
14
11
14
13
12
6
5
FIT
1:1
100%

Артикул

Название

Примечание

Количество

1

350720A1

HYDRAULIC CYLINDER

KIT HYD 4.00 X 30.0 IOWA (Includes 1016796, 1019844, 218-5106, 350401A1, 1015478 and 6-70060) - 3612 4R, Years: -31-OCT-02, Serial Range: -CBJ0008107

4шт.

1

1015203

CYLINDER ASSY.

CYL - hyd: 5.00 x 30 x 2.00 rod - 4012 4R, 4412 3 & 4R

4шт.

2

1015804

HYDRAULIC HOSE

HOSE HYD .5 X 240 FL

2шт.

2

1024422

HOSE

.50 x 260-8 JICFSW/-8NPTM - 4412 3R

2шт.

3

1015222

HYDRAULIC HOSE

HOSE HYD .5 X 90 FL - 36/40/4412 4R

2шт.

4

1015802

HYDRAULIC HOSE

HOSE HYD .5 X 50 FL

2шт.

5

1024421

HYDRAULIC HOSE

HOSE HYD .5 X 60 FL

2шт.

6

1015802

HYDRAULIC HOSE

HOSE HYD .5 X 50 FL

2шт.

7

90879C1

HYDRAULIC HOSE,12.70 mm ID x 2030.00 mm, SAE 100R1

36/40/4412 4R 12.70 mm ID x 2030.00 mm, SAE 100R1

2шт.

7

1015802

HYDRAULIC HOSE

HOSE HYD .5 X 50 FL - 4412 3R

2шт.

8

1019844

FITTING

STL .5MJ .5FJ RESTRICTOR

4шт.

9

218-5106

90 ELBOW,90 Degree Elbow, 3/4" - 16 Male JIC x 3/4" - 16 Male ORB

STL 90DEG .5MB .5MJ

8шт.

10

218-594

TEE,3/4"-16, 37 Degree

FIT STL .5MJ

2шт.

11

218-654

4 WAY CONNECTION,3/4"-16, 37 Degree

FIT STL .5MJ

2шт.

12

218-845

TEE,37 Degree, 3/4"-16 x 3/4"-16, Fem Sw Run

1/2-37 DEG FL-SWIVEL RUN

2шт.

13

1014997

FITTING

FIT STL .375MP.375MP CHK VLVE

1шт.

14

1026787

ADAPTER

FIT STL .375MP .5FJX

2шт.

Выбрано товаров: 0