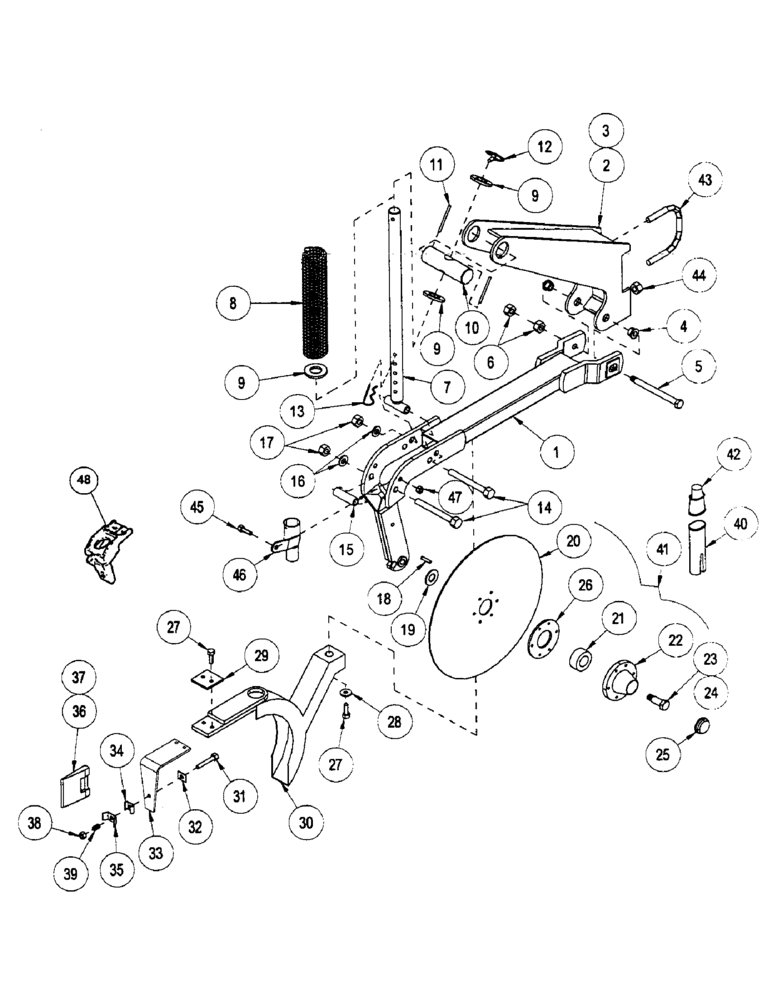
Запчасти Case IH CONCORD (B30) - OPENERS, CONVENTIONAL

Схема запчастей Case IH CONCORD - (B30) - OPENERS, CONVENTIONAL
2
20
10
35
27
9
23
21
39
34
37
27
12
42
9
5
41
16
4
44
25
13
19
14
32
18
48
33
46
2
29
30
40
22
9
31
47
26
8
28
15
36
17
36
7
24
1
45
6
43
11
FIT
1:1
100%

Артикул

Название

Примечание

Количество

1

1033330

BAR

DRAWBAR/W CONV MINI

1шт.

1

1033329

BAR

DRAWBAR/W CONV SHORT

1шт.

2

1033172

BRACKET

W/BUSHING SHORT

1шт.

2

1033173

BRACKET

W/BUSHING LONG

1шт.

3

1032453

BRACKET

WLDMT - bracket short

1шт.

3

1032454

BRACKET

WLDMT - bracket long

1шт.

4

1025881

BRONZE BUSHING,12.72mm ID x 23.8mm OD x 12.7mm L

BUSHING, flange

2шт.

5

1033335

BOLT

BOLT, special

1шт.

6

425-148

JAM NUT,Jam, 1/2"-13, G5

2шт.

7

1033314

ROD

WLDMT - rod

1шт.

8

1026500

SPRING

1шт.

9

495-21106

WASHER,1"

1.062

3шт.

10

1029528

BAR

PIVOT BAR

1шт.

11

438-11240

LOCK PIN,3/16" x 2 1/2", Slotted

Pin, 3/16" x 2 1/2", Slotted

2шт.

12

706777R91

PIN,6.35mm OD

ASSY, klik

1шт.

13

1970738C1

PIN QA COTTER

1шт.

14

413-872

BOLT,Hex, 1/2" - 13 x 4-1/2", Gr 5

- hex: .50 x 4.5 NC

2шт.

15

1263794C1

SPACER

- pipe

1шт.

16

80679

LOCK WASHER,1/20.507 CST ZND

WASHER, LOCK, 1/2"

2шт.

17

425-108

NUT,1/2" - 13, Gr 5

NUT, 1/2"-13, G5

2шт.

18

447-49

RIVET,FH, 1/4" x 9/16"

.25

12шт.

19

1250381C1

WASHER RETAINING

2шт.

ref: 19 Per Concord Eng. this p/n should be 1268381C1. NAPO TECH NOTES

1шт.

20

1344912C1

DISC

14 inch

2шт.

21

1268017C91

BALL BEARING,15.9mm ID x 45.23mm OD x 18.67mm W

ASSY, DISC

2шт.

21

1268017C91GV

BEARING

Value, Ball Bearing

2шт.

22

149170C2

FLANGED BEARING

bearing

2шт.

23

106-91020

LOCK BOLT,Locking, 5/8"-11 x 1 1/4", G5, Full Thd

BOLT, , Disc, RH Locking, 5/8"-11 x 1 1/4", G5, Full Thd

1шт.

24

1978957C1

BOLT,Hex, 5/8" - 11 x 1-1/4", LH Thd, Gr 5

disc retaining, LH (not shown)

1шт.

25

492709R2

CAP

DIRT

2шт.

26

1344952C1

GASKET

BEARING RETAINER

2шт.

27

281-14816

SELF-TAP SCREW,HWH, 5/16" - 18 x 1"

SCREW HEX WASHER HEAD: .3125 x 1 NC

3шт.

28

495-81117

WASHER,.344" x 1" x .120"

- flat: .3437 x 1 x .1093

1шт.

29

88893C1

PLATE

- scraper backup

1шт.

30

1279970C2

BOOT

F/O

1шт.

31

433-544

CARRIAGE BOLT,Sq Nk, 5/16" - 18 x 2 3/4", Gr 5

BOLT CRG .313 X 2.75 GR5 YZD

1шт.

32

97756C1

BACK PLATE

PLATE, backup

1шт.

33

100495A1

BAR

BRACKET SCRAPER MOUNT

1шт.

34

819808C1

HINGE

SCRAPER

1шт.

35

816668C1

LEDGER PLATE

SPREADER - scraper (Serial # CBK0015002 - CBK0015028)

1шт.

36

816665C1

BLADE

SCRAPER - right

1шт.

37

816666C1

BLADE

SCRAPER - left

1шт.

38

231-4115

NUT,5/16"-18, GB

NUT, LOCK, 5/16"-18, GB

1шт.

39

N62536

VALVE SPRING

SPRING - scraper

1шт.

40

842893C2

PLASTIC-RUBBER TUBE,42 mm OD x 219 mm L

TUBE SEED LOWER

1шт.

41

1344911C2

DISK DRILL

DISC ASSEMBLY

1шт.

42

101458A1

TUBE

SEED UPPER (Serial # CBK0015002 - CBK0015028)

1шт.

43

1016523

BOLT

-U: .50 x 4.53 x 3.00 ZP

1шт.

44

231-1448

NUT,1/2"-13, GB

- nylock: .50 NC GR6 ZP

2шт.

45

1011598

BOLT

- hex .31 x 1.00 NC GR5 ZP

1шт.

46

290820A1

ADAPTER

/W

1шт.

47

231-1445

NUT,5/16"-18, GB

NUT - nylock: .31 NC GR5 ZP

1шт.

48

816668C1

LEDGER PLATE

SPREADER - scraper (Serial # CBK0015002 - CBK0015028)

1шт.

Выбрано товаров: 53