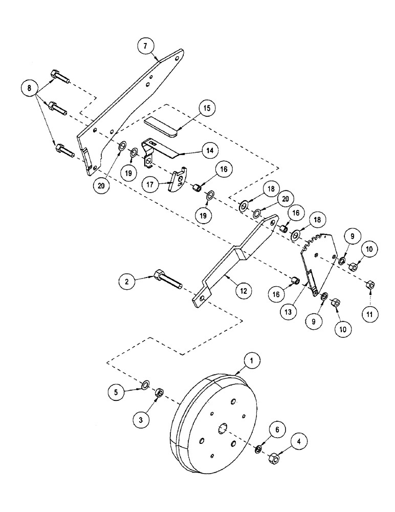
Запчасти Case IH CONCORD (B34) - DEPTH PRESS WHEEL , CONVENTIONAL TILL AND MULCH TILL

Схема запчастей Case IH CONCORD - (B34) - DEPTH PRESS WHEEL , CONVENTIONAL TILL AND MULCH TILL
18
3
19
16
20
15
10
7
12
18
16
11
4
5
17
10
16
9
6
1
20
14
9
8
2
13
19
FIT
1:1
100%

Артикул

Название

Примечание

Количество

1

247959A1

WHEEL ASSY

PRESS WHEEL 3 X 13

1шт.

2

413-1052

BOLT,Hex, 5/8" - 11 x 3-1/4", Gr 5

: .625 x 3.20

1шт.

3

577715R1

SPACER,16.69mm ID x 22.23mm OD x 10.32mm L

- press

1шт.

4

425-1010

NUT,5/8"-11, G5

1шт.

5

495-81032

WASHER,18.26mm ID x 31.75mm OD x 1.7mm Thk

flat: .7187 x 1.25 x .0468

1шт.

6

492-11062

BEARING WASHER,5/8"

WASHER, LOCK, 5/8"

1шт.

306007A1

NEEDLE BEARING,16mm ID x 40.25mm OD x 44.12mm W

1шт.

7

1976490C1

PLATE

- support

1шт.

8

413-832

BOLT,Hex, 1/2" - 13 x 2", Gr 5

3шт.

9

80679

LOCK WASHER,1/20.507 CST ZND

WASHER, LOCK, 1/2"

2шт.

10

425-108

NUT,1/2" - 13, Gr 5

NUT, 1/2"-13, G5

2шт.

11

231-4118

LOCK NUT,1/2"-13, GB

NUT: .50-13

1шт.

12

1333881C4

BAR

DRAWBAR - wheel (Replaces 1333881C3)

1шт.

13

357852A1

SECTOR

BRACKET - sector index (replaces 1973001C1)

1шт.

14

290804A1

ADJUSTER

LEVER - adjustment, depth (replaces 842696C2)

1шт.

15

290805A1

GRIP

- rubber, lever (Replaces 1958265C1)

1шт.

16

842699C1

SPACER

- adjustment bracket

3шт.

17

357853A1

CAM

- adjustment lever (Replaces 842698C1)

1шт.

18

495-81042

WASHER,25/32" x 1 1/2" x .120"

- flat: .7812 x 1.50 x .0937

2шт.

19

1960614C1

WASHER,20mm ID x 35mm OD x 1.58mm Thk

- wear, at lever and cam

2шт.

20

495-81036

WASHER,19.84mm ID x 31.75mm OD x 0.84mm Thk

- flat: .7812 x 1.25 x .0312

4шт.

Выбрано товаров: 21