Запчасти Case IH NFX (9-36) - SOLID MOUNT SHANK ASSEMBLY (09) - CHASSIS

Схема запчастей Case IH NFX - (9-36) - SOLID MOUNT SHANK ASSEMBLY (09) - CHASSIS
5
4
9
7
3
11
1
8
10
2
6
FIT
1:1
100%

Артикул

Название

Примечание

Количество

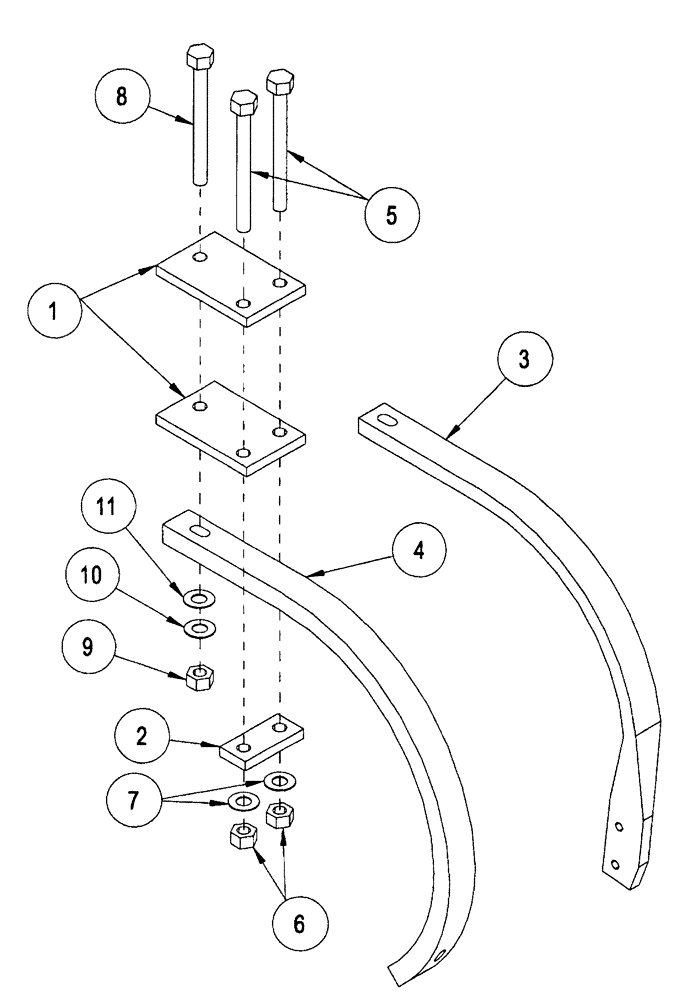
1

1020731

PLATE

bolting

2шт.

2

1020732

PLATE

bolting

1шт.

3

306350A1

SHANK

side mount, 1-1/4 x 2 inch

1шт.

4

1027750

SHANK

50-1/2° angle, 1-1/4 x 2 inch

1шт.

5

413-12128

BOLT,Hex, 3/4" - 10 x 8", Gr 5

hex, 3/4 NC x 8 inch, grade 5

2шт.

6

425-1012

NUT,3/4"-10, G5

2шт.

7

492-11075

LOCK WASHER,3/4"

3/4"

2шт.

8

426-10128

BOLT,Hex, 5/8" - 11 x 8", Gr 8

hex, 5/8 NC x 8 inch, grade 8

1шт.

9

425-1010

NUT,5/8"-11, G5

1шт.

10

492-11062

BEARING WASHER,5/8"

1шт.

11

495-11066

WASHER,5/8", SAE

flat, 21/32 x 1-5/16 x 3/32 inch

1шт.

Выбрано товаров: 11