Запчасти Case IH NFX (9-58) - EDGE-ON ANDERSON OPENER, SINGLE SHOOT (09) - CHASSIS

Схема запчастей Case IH NFX - (9-58) - EDGE-ON ANDERSON OPENER, SINGLE SHOOT (09) - CHASSIS
8
5
7
6
2
3
4
1
FIT
1:1
100%

Артикул

Название

Примечание

Количество

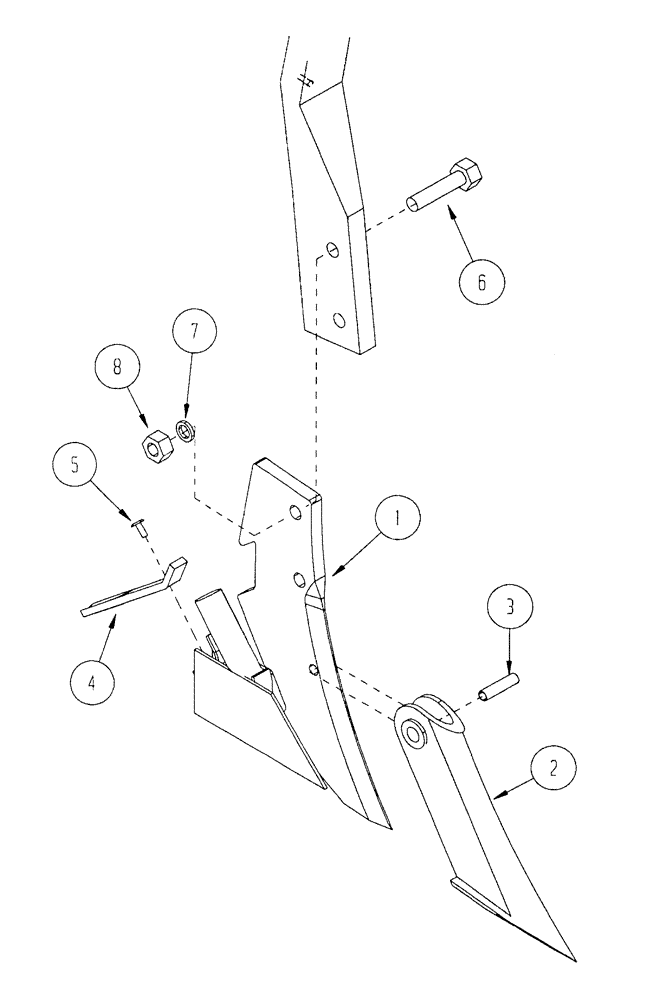
1032301

EDGE

OPENER, Anderson ASSY. single shoot, Includes Ref: 1-8

1шт.

1

1033280

FRAME

opener

1шт.

2

1030569

TIP

TIP chrome (if used)

1шт.

2

350951A1

TIP

opener, chrome carbide (if used)

1шт.

3

0100344

SPLIT PIN/SAFETY PIN

roll, 3/8 x 1-1/2 inch

1шт.

4

1033264

STOP

seed

1шт.

5

151-570

RIVET,Pop, 1/4" x 3/4"

button head, 1/4 x 3/4 inch

1шт.

6

413-832

BOLT,Hex, 1/2" - 13 x 2", Gr 5

2шт.

7

80679

LOCK WASHER,1/20.507 CST ZND

2шт.

8

425-108

NUT,1/2" - 13, Gr 5

2шт.

Выбрано товаров: 10