Запчасти Case IH NFX (9-88) - ABRASION KIT- MANIFOLD TUBES (09) - CHASSIS

Схема запчастей Case IH NFX - (9-88) - ABRASION KIT- MANIFOLD TUBES (09) - CHASSIS
2
1
3
FIT
1:1
100%

Артикул

Название

Примечание

Количество

350416A1

KIT

abrasion, manifold tubes, Includes Ref: 1-3

1шт.

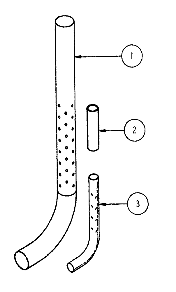
1

305969A1

TUBE,1638.3 mm Length

primary manifold, abrasion replacement

1шт.

2

1978964C1

HOSE

Pressure, 2-1/2 inch I.D., Abrasion Replacement

3шт.

3

290660A1

TUBE,63.5 mm Diameter

secondary manifold, dimpled short, abrasion replacement

5шт.

Выбрано товаров: 4