Запчасти Case IH SDX30 (6.080.1) - CONCORD AIR CART PIVOT BRACKETS Related Equipment

Схема запчастей Case IH SDX30 - (6.080.1) - CONCORD AIR CART PIVOT BRACKETS Related Equipment
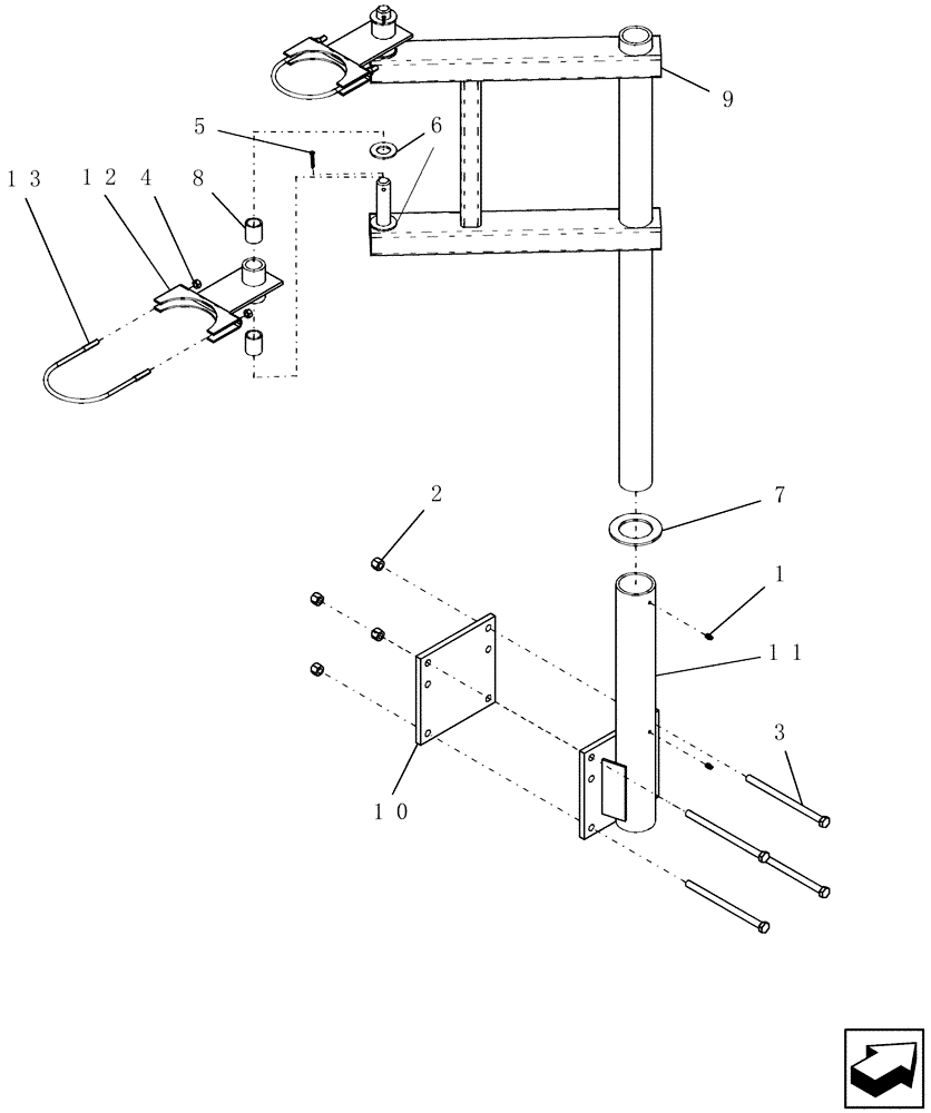
13
8
5
1
7
4
12
2
3
9
6
10
11
FIT
1:1
100%

Артикул

Название

Примечание

Количество

0

350863A1

PACKAGE

kit stand single primary manifold

1шт.

Includes: Ref. 1 - 13 In The Quantities Specified

1шт.

0

350855A1

PACKAGE

kit stand dual primary manifold

1шт.

Includes: Ref. Numbers 1 - 3, 5 - 7 and 9 - 11 In The Quantities Specified, Plus Eight Of Ref. #4, Eight Of Ref. #8, Four Of Ref. #12 and Four Of Ref. #13

1шт.

1

88775

LUBE NIPPLE,1/4"-28

2шт.

2

87530607

NUT

1/2"-13, GB

4шт.

3

280831

BOLT,Hex, 1/2" - 13 x 8", Gr 5

4шт.

4

9628503

NUT,3/8"-16, G5

4шт.

5

80754

COTTER PIN,3/16" OD x 1-1/2" OAL

2шт.

6

87367

WASHER,1.06" ID x 2" OD x 0.13" Thk

4шт.

7

1014154

THRUST WASHER

2.5 ID 4OD .188 YZD

1шт.

8

306246A2

BUSHING

polylube 1 1/4" od 1" id 1 1/2" lg, fibre

4шт.

9

350854A1

ARM ASSY.

PRIMARY MANIFOLD STAND

1шт.

10

350856A1

PLATE

Bolting

1шт.

11

350864A1

SUPPORT ASSY.

Stand/W Primary Manifold

1шт.

12

350869A1

MOUNTING PARTS

single primary manifold

2шт.

13

1033298

U-BOLT

UR .375 5.188W 7.313D UNC YZD 1.5'' THREAD

2шт.

Выбрано товаров: 17