Запчасти Case IH SDX30 (1.011.1) - MAIN FRAME (ASN CBJ0007001) - CONCORD HITCH (12) - FRAME

Схема запчастей Case IH SDX30 - (1.011.1) - MAIN FRAME (ASN CBJ0007001) - CONCORD HITCH (12) - FRAME
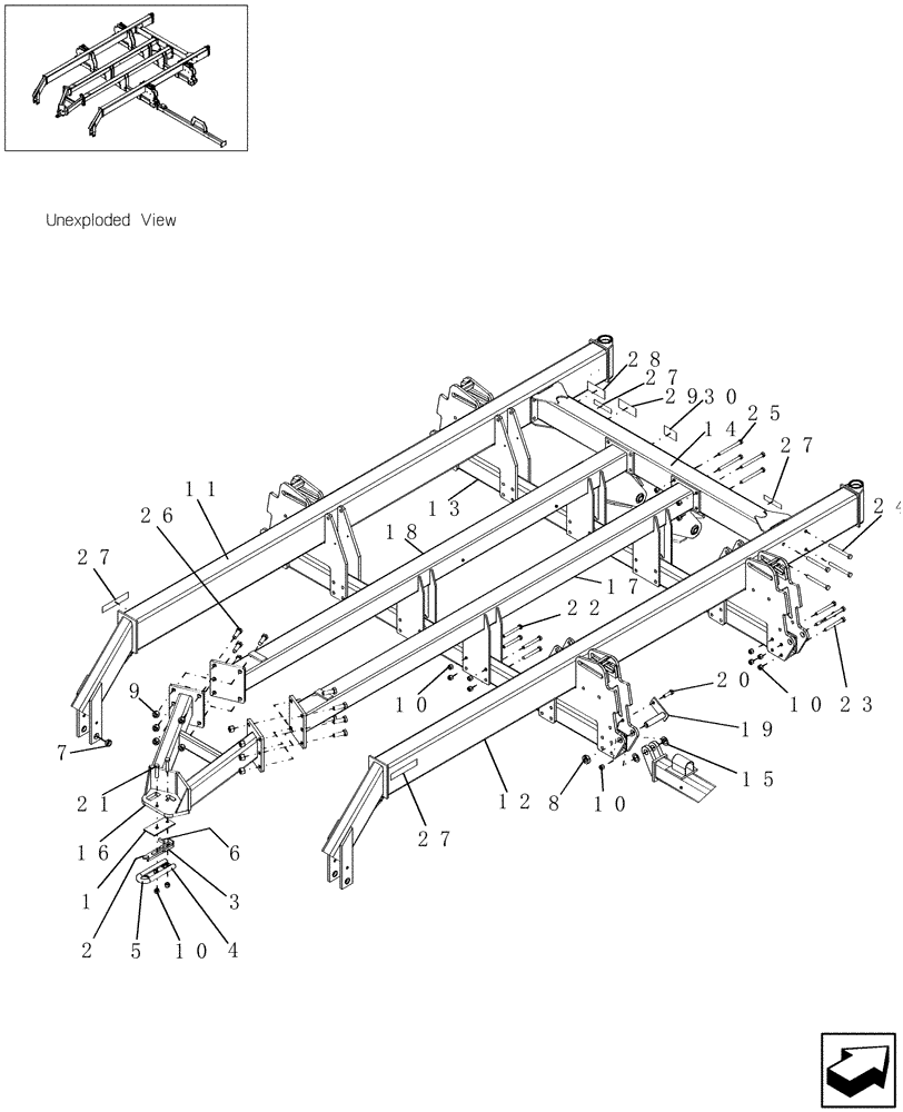
12
5
25
6
9
10
28
21
27
10
7
11
27
23
24
14
22
17
4
8
13
15
10
10
20
30
1
29
27
2
16
19
18
27
26
3
FIT
1:1
100%

Артикул

Название

Примечание

Количество

1

1032746

PLATE

top hitch

1шт.

Part of Hitch Assembly P/N 1032750

1шт.

2

1032747

BLOCK

hitch v-block

1шт.

Part of Hitch Assembly P/N 1032750

1шт.

3

1032748

HITCH BRACKET

angle

1шт.

Part of Hitch Assembly P/N 1032750

1шт.

4

1032749

HITCH

base

1шт.

Part of Hitch Assembly P/N 1032750

1шт.

5

1032750

HITCH

#PPI-200HOA PERFECT

1шт.

Includes: Ref. 1, 2, 3 and 4

1шт.

6

1032751

CUSHION

perfect hitch

1шт.

7

1268054C1

BUSHING,38.18mm ID x 45.47mm OD x 19.05mm L

tension 1 3/4" x 1 1/2" x 3/4" lg

4шт.

8

87010729

JAM NUT,Jam, 1 1/2"-6, G5

4шт.

9

86755

NUT,1"-8, GB

10шт.

10

280375

NUT,3/4"-10, GC

70шт.

11

306152A1

SUPPORT

main frame truss LH, Years: -01-AUG-08

1шт.

11

87673439

FRAME

main with truss LH, Start Year: 01-AUG-08

1шт.

12

306154A1

SUPPORT

main frame truss RH, Years: -01-AUG-08

1шт.

12

87666076

FRAME

main with truss RH, Start Year: 01-AUG-08

1шт.

13

86984011

TUBE,101.60 mm W x 152.40 mm H x 3200.50 mm L

3/8" x 4" x 6" with holes

2шт.

14

306270A2

TUBE,2283.6 mm Length

cross, Years: -01-AUG-08

1шт.

14

87665742

TUBE,2283.6 mm L

with cross, Start Year: 01-AUG-08

1шт.

15

350338A1

WASHER

1 9/16" x 2 1/2" x 14 GA

2шт.

16

351661A1

HITCH

rear

8шт.

17

351940A2

TUBE

truss hitch RH

1шт.

18

351941A2

TUBE

truss hitch LH

1шт.

19

425500A2

PIVOT PIN

1 1/2" od x x 5 5/8" ul

4шт.

20

9706701

BOLT,Hex, 3/4" - 10 x 2 1/2", Gr 5

4шт.

21

86508733

BOLT,Hex, 3/4" - 10 x 3 1/2", Gr 8

2шт.

22

86508735

BOLT,Hex, 3/4" - 10 x 6", Gr 8

16шт.

23

426-12104

BOLT,Hex, 3/4" - 10 x 6-1/2", Gr 8

32шт.

24

86557052

BOLT,Hex, 3/4" - 10 x 7 1/2", Gr 8

8шт.

25

426-12128

BOLT,Hex, 3/4" - 10 x 8", Gr 8

8шт.

26

86539260

BOLT,Hex, 1" - 8 x 3", Gr 8

10шт.

27

311864A1

REFLECTOR

Retroreflective Amber 1.375" x 7.25", Start Year: 01-AUG-08

4шт.

28

350336A1

DECAL

Danger - opener safety lock, Start Year: 01-AUG-08

1шт.

29

350335A1

DECAL

wing lock-up valve, Start Year: 01-AUG-08

1шт.

30

312479A1

DECAL

warning pictorial, Start Year: 01-AUG-08

1шт.

Выбрано товаров: 38