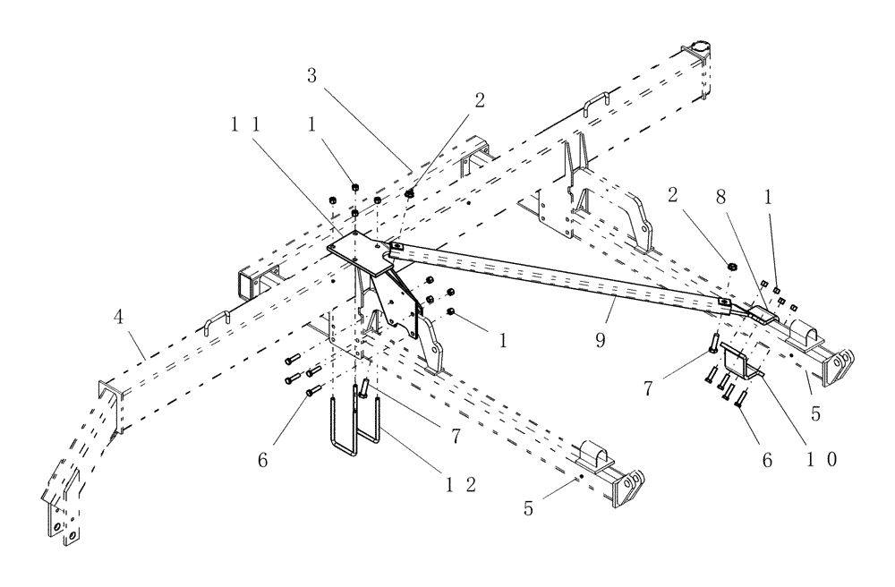
Запчасти Case IH SDX30 (1.040.1) - WING BRACE (12) - FRAME

Схема запчастей Case IH SDX30 - (1.040.1) - WING BRACE (12) - FRAME
10
8
4
12
1
6
2
11
2
1
1
9
7
3
7
6
5
5
FIT
1:1
100%

Артикул

Название

Примечание

Количество

1

280375

NUT,3/4"-10, GC

24шт.

2

232-53416

FLANGE NUT,1"-8, G8

4шт.

3

306176A1

TUBE,1854 mm Length

wing end

1шт.

4

306260A2

FRAME

wing truss LH

1шт.

Includes: Two Decals 350336A1

1шт.

4

87410708

FRAME

wing truss RH

1шт.

Includes: Two Decals 350336A1

1шт.

5

306265A1

TUBE,2899.5 mm Length

wing 30', Years: -31-AUG-02

2шт.

5

86984019

TUBE

wing 30' front, Start Year: 01-SEP-02

1шт.

5

86987484

TUBE

wing 30' rear LH, Start Year: 01-SEP-02

1шт.

Includes: Decals 311863A1 and 311865A1

1шт.

5

86987485

TUBE

wing 30' rear RH, Start Year: 01-SEP-02

1шт.

Includes: Decals 311863A1 and 311865A1

1шт.

6

87337

BOLT,Hex, 3/4" - 10 x 3", Gr 5

16шт.

7

88962

BOLT,Hex, 1" - 8 x 3 1/2", Gr 5

4шт.

8

425009A1

BRACKET

bolting plate LH

1шт.

Shown

1шт.

8

425008A1

PLATE

bolting RH brace

1шт.

Not Shown

1шт.

9

425010A1

TUBE

wing brace

2шт.

10

425013A1

PLATE

bolting

2шт.

11

425016A1

PLATE

bolting brace LH

1шт.

Shown

1шт.

11

425015A1

PLATE

bolting brace RH

1шт.

Not Shown

1шт.

12

425169A1

U-BOLT

BOLT "U" us 3/4"-10 6 1/8" w 11 1/2" d, Years: -31-MAR-02

4шт.

12

439409A1

U-BOLT

BOLT "U" us 3/4"-10 6 5/32" wide x 12" deep, G5, Start Year: 01-SEP-02

4шт.

Выбрано товаров: 27