Запчасти Case IH 1210 (39.110.05) - VACUUM AIR SYSTEM - 6 ROW RIGID MOUNTED (39) - FRAMES AND BALLASTING

Схема запчастей Case IH 1210 - (39.110.05) - VACUUM AIR SYSTEM - 6 ROW RIGID MOUNTED (39) - FRAMES AND BALLASTING
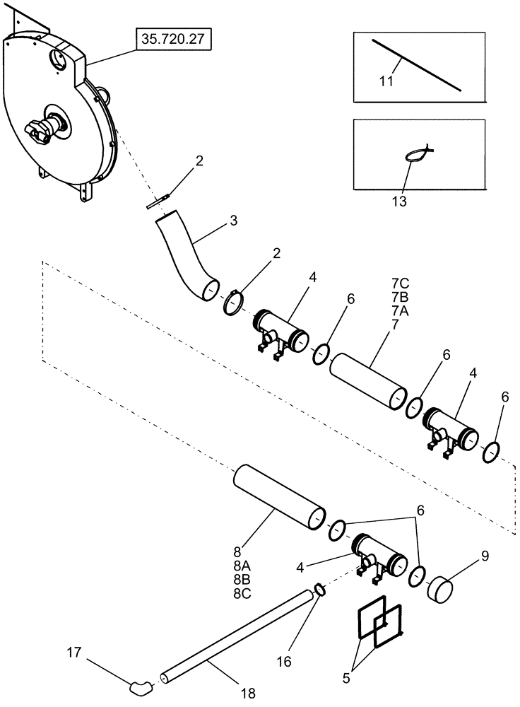
7c
2
9
16
2
6
5
7
17
8b
11
18
35.720.27
8c
3
4
6
4
13
6
6
8
8a
4
7a
7b
FIT
1:1
100%

Артикул

Название

Примечание

Количество

2

9706924

HOSE CLAMP,103.1mm - 127mm

4шт.

3

251079A2

HOSE

vacuum fan

2шт.

3

362013A1

HOSE,114.30 mm ID x 7620.00 mm

1шт.

4

300766A1

TEE

vacuum manifold

6шт.

5

112620A1

CABLE TIE

CABLE STRAP 34"

1шт.

6

238-3347

O-RING,4.225" ID x 4.645" OD x 0.21"

10шт.

7

308302A1

TUBE,116.88 mm ID, 125 mm OD, 584 mm Length

vacuum 5" x 584 mm long

2шт.

6 Row 36" Spacing

1шт.

Tube replacements may be cut to required lengths from bulk tube 362014A1

1шт.

7a

307971A1

TUBE,116.88 mm ID, 125 mm OD, 444 mm Length

vacuum 5" x 444 mm long

2шт.

6 Row Rigid Trailing and Rigid Mounted

1шт.

Tube replacements may be cut to required lengths from bulk tube 362014A1

1шт.

7b

307972A1

TUBE,116.88 mm ID, 125 mm OD, 647 mm Length

vacuum 5" x 647 mm long

2шт.

6 Row 38" Spacing

1шт.

Tube replacements may be cut to required lengths from bulk tube 362014A1

1шт.

7c

328201A1

TUBE,116.88 mm ID, 125 mm OD, 695 mm Length

vacuum 5" x 695 mm long

2шт.

6 Row 40" Spacing

1шт.

Tube replacements may be cut to required lengths from bulk tube 362014A1

1шт.

7 & 8

362014A1

TUBE,116.88 mm ID, 125 mm OD, 6096 mm Length

vacuum 5" x 6096 mm (20' roll)

1шт.

8

344907A1

TUBE,116.88 mm ID, 125 mm OD, 708 mm Length

vacuum 5" x 708 mm

2шт.

6 Row 36" Spacing

1шт.

Tube replacements may be cut to required lengths from bulk tube 362014A1

1шт.

8a

301441A1

TUBE,116.88 mm ID, 125 mm OD, 556 mm Length

vacuum 5" x 556 mm long

2шт.

6 Row Rigid Trailing and Rigid Mounted

1шт.

Tube replacements may be cut to required lengths from bulk tube 362014A1

1шт.

8b

301442A1

TUBE,116.88 mm ID, 125 mm OD, 759 mm Length

vacuum 5" x 759 mm long

2шт.

6 Row 38" Spacing

1шт.

Tube replacements may be cut to required lengths from bulk tube 362014A1

1шт.

8c

308301A1

TUBE,116.88 mm ID, 125 mm OD, 810 mm Length

vacuum 5" x 810 mm long

2шт.

6 Row 40" Spacing

1шт.

Tube replacements may be cut to required lengths from bulk tube 362014A1

1шт.

9

300767A1

CAP

vacuum manifold end

2шт.

11

238600A3

HOSE,6.35 mm ID x 1730.00 mm

1шт.

13

112620A1

CABLE TIE

CABLE STRAP 34"

4шт.

16

82012728

COLLAR,50mm - 65mm, Worm Gear

6шт.

17

87500119

TUBE

90º 50 mm - vacuum

6шт.

18

87501726

HOSE

vacuum 2" x 50' bulk

6шт.

Выбрано товаров: 37