Запчасти Case IH 1220 (35.720.27) - FAN ASSEMBLY (35) - HYDRAULIC SYSTEMS

Схема запчастей Case IH 1220 - (35.720.27) - FAN ASSEMBLY (35) - HYDRAULIC SYSTEMS
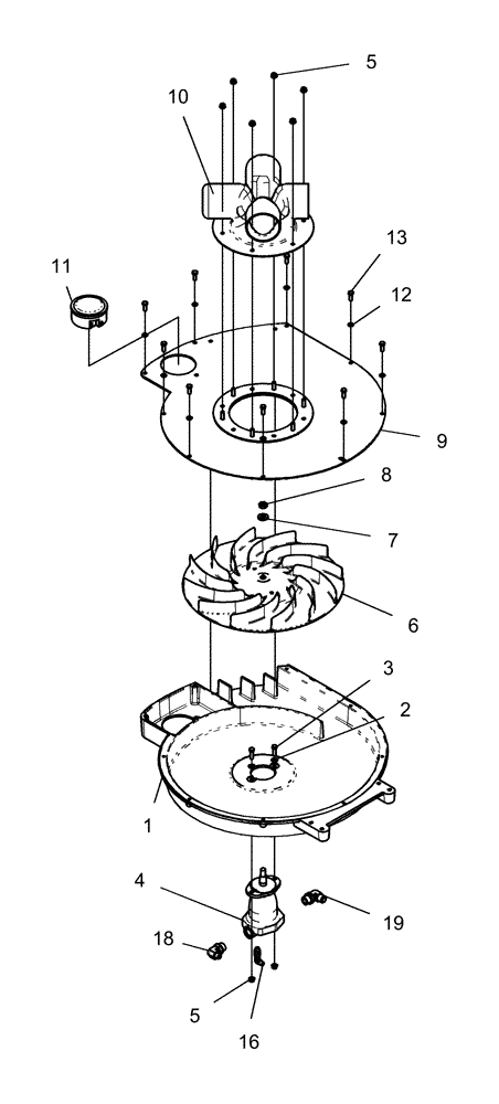
1
12
18
4
5
5
8
3
9
16
19
6
7
13
2
10
11
FIT
1:1
100%

Артикул

Название

Примечание

Количество

1

323944A2

HOUSING

impeller

1шт.

2

87016

WASHER,0.41" ID x 0.81" OD x 0.07" Thk

2шт.

3

88011

BOLT,Hex, 3/8" - 16 x 1 1/4", Gr 5

2шт.

4

278188A1

MOTOR

9.8 cm3 (.6 in3) displacement, fan drive

1шт.

4

278188A1R

REMAN-HYD MOTOR

Remanufactured Hydraulic Pump

1шт.

4

278188A1C

REMAN-HYD MOTOR

Return Number

1шт.

4

55555C1

KEY

1/4" square

1шт.

4

D63349

SEAL

motor shaft

1шт.

4

14461080

O-RING,0.103" Thk x 3.237" ID, -152, Cl 5, 75 Duro

1шт.

4

271429

SNAP RING,1.625", Int, #162

1шт.

5

247780

SERRATED NUT,Flg, USR, 3/8"-16

8шт.

6

241856A2

FAN

21" curved blade

1шт.

7

86624189

WASHER,0.66" ID x 1.31" OD x 0.15" Thk

1шт.

8

86624024

THIN NUT,5/8"-18, Thin, G8

1шт.

9

87606562

PLATE

Front 21" With Decal

1шт.

10

330000A3

MANIFOLD

two inlet

1шт.

6 and 8 Row Rigid Trailing

1шт.

10

327076A3

MANIFOLD

four inlet, 4 1/2" od stacker bar

1шт.

11

238599A2

VACUUM GAUGE

Attaching Hardware NSS

1шт.

11

240788A1

ELBOW

1/8" npt filter vent (brass)

1шт.

11

86624128

FITTING,1/4" Hose x 1/8" NPTF, Barbed

1шт.

12

80680

LOCK WASHER,3/8 0.381 CST ZND

9шт.

13

88206

BOLT,Hex, 3/8" - 16 x 1", Gr 5

9шт.

14

237-6006

O-RING,0.078" Thk x 0.468" ID, -906, Cl 6, 90 Duro

1шт.

15

76350

HYD CONNECTOR,9/16" - 18 ORB x 9/16" - 18 JIC

1шт.

16

86629586

90 ELBOW,9/16" - 18 JIC x 9/16" - 18 Fem Sw

1шт.

17

167266

O-RING,0.116" Thk x 0.924" ID, -912, Cl 6, 90 Duro

2шт.

18

87329785

ELBOW,90 Degree, 1-1/16" - 12 ORB x 3/4" - 16 JIC

1шт.

19

322894

90 ELBOW,1-1/16" - 12 JIC x 1-1/16" - 12 ORB

1шт.

Выбрано товаров: 29