Запчасти Case IH 1220 (55.100.06) - ELECTRICAL - AFS IMPLEMENT CONNECTOR MOUNTING, MX180 - MX270 MAGNUM TRACTOR (55) - ELECTRICAL SYSTEMS

Схема запчастей Case IH 1220 - (55.100.06) - ELECTRICAL - AFS IMPLEMENT CONNECTOR MOUNTING, MX180 - MX270 MAGNUM TRACTOR (55) - ELECTRICAL SYSTEMS
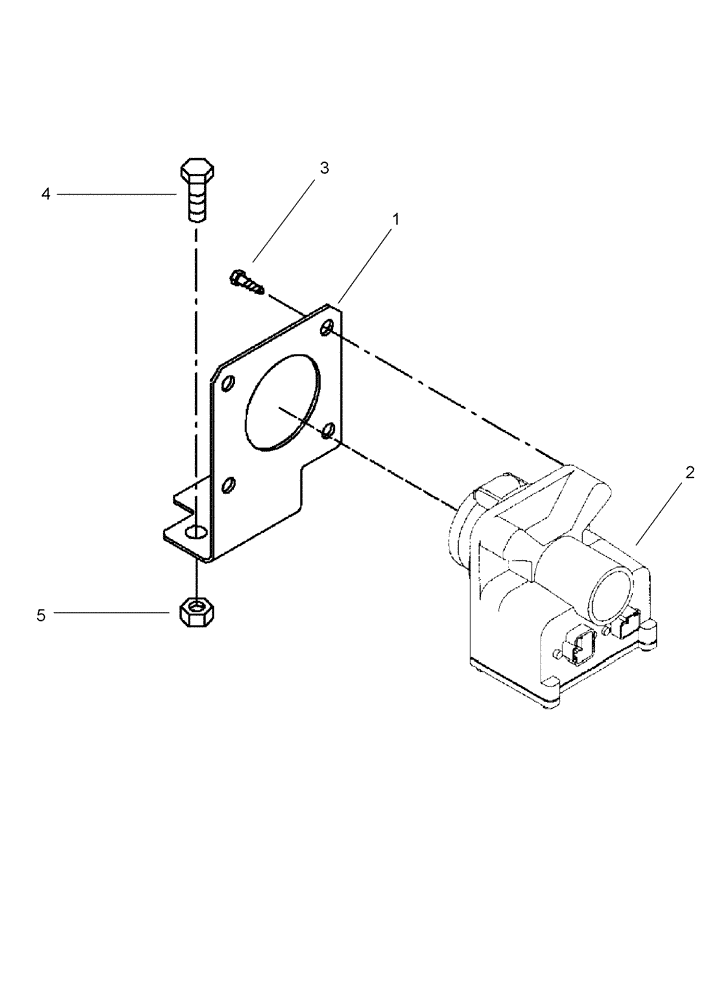
1
4
5
3
2
FIT
1:1
100%

Артикул

Название

Примечание

Количество

1

87413002

BRACKET, SUPPORTING

air brake couplers NAO

1шт.

2

323597A1

MULTIPOLE CONNECTOR

implement jumper board

1шт.

3

86624122

SELF-TAP SCREW,Hex Hd, M6.3 x 16

4шт.

4

9804258

BOLT,Hex, M8 x 1.25 x 20mm, Cl 8.8

2шт.

5

86528579

NUT,M8 x 1.25

2шт.

6

87557087

CABLE TIE

CABLE STRAP 11" with stainless locking clip

1шт.

Included in the AFS display installation kit, but are not shown

1шт.

7

278316A2

CLIP

retainer

3шт.

Included in the AFS display installation kit, but are not shown

1шт.

8

19268

SELF-TAP SCREW,Hex Hd, #10 x 1/2"

2шт.

Included in the AFS display installation kit, but are not shown

1шт.

Выбрано товаров: 11