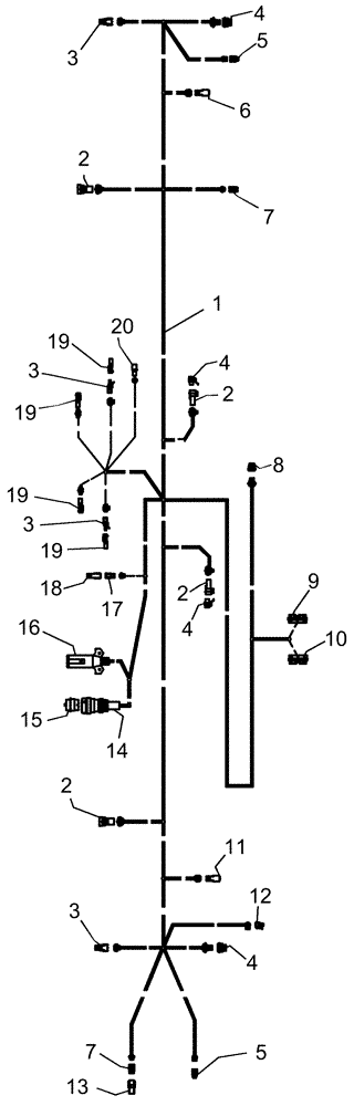
Запчасти Case IH 1220 (55.100.21) - ELECTRICAL - HARNESS 87755299, MOUNTED STACKER, RIGID MOUNTED MECHANICAL (55) - ELECTRICAL SYSTEMS

Схема запчастей Case IH 1220 - (55.100.21) - ELECTRICAL - HARNESS 87755299, MOUNTED STACKER, RIGID MOUNTED MECHANICAL (55) - ELECTRICAL SYSTEMS
5
19
3
4
4
2
19
14
6
2
19
12
3
4
7
15
5
3
3
8
11
17
13
16
7
4
18
10
2
9
19
2
20
1
FIT
1:1
100%

Артикул

Название

Примечание

Количество

1

87755299

HARNESS

mounted stacker and rigid mounted mechanical drive ISOBUS

1шт.

2

296483A1

ELEC CONNECTOR,Male, 5 Pin

Packard 150 series receptacle

4шт.

3

87692855

CONTACT HOUSING,Male, 2 Cavities

plastic 2c plug

4шт.

4

296482A1

ELEC CONNECTOR,Female, 5 Pin

Packard 150 series plug

4шт.

5

194788A1

CONNECTOR, 2-POLE

2 Cavity

2шт.

6

277905A1

ELEC CONNECTOR,Male, 4 Pin

plastic 4c receptacle

1шт.

7

87696551

CONTACT HOUSING,Female, 3 Pole

cab plastic plug 3c

2шт.

8

256348A1

ELEC CONNECTOR,Female, 6 Pin

6 Pin, Packard

1шт.

9

87268798

MULTIPOLE CONNECTOR,Female, 30 Pole

30c plug b key

1шт.

10

87268797

MULTIPOLE CONNECTOR,Female, 30 Pole

30c b plug

1шт.

11

277905A1

ELEC CONNECTOR,Male, 4 Pin

plastic 4c receptacle

1шт.

12

198456A1

ELEC CONNECTOR,Female

3-Way Receptacle ES-A7380

1шт.

13

87696545

CONTACT HOUSING,Male, 3 Pole

cab plastic rcp 3c

1шт.

14

279043A1

ELEC CONNECTOR,Female, 9 Pin

metal 9c plug

1шт.

15

788614

PROTECTING COVER,2" OD x 1.7" Long

dust 23 con rcp Deutsch

1шт.

16

121646C1

TERMINAL CONNECTOR,Female

metal 7c plug c/w cable protector

1шт.

17

225316C1

ELEC CONNECTOR,Female, 2 Pin

2 Cavity

1шт.

18

225315C1

ELEC CONNECTOR,Male, 2 Pin

Cab Plastic Receptacle 2C

1шт.

19

87692877

MULTIPOLE CONNECTOR,Male, 2 Cavities

plastic 2c receptacle

4шт.

20

1160576C1

ELEC CONNECTOR,Male, 2 Pin

2 contact

1шт.

Выбрано товаров: 20