Качественные детали и логистика
Оригинальные и аналоговые запчасти с доставкой по России, Казахстану и Беларуси
©2022 PartSell ООО "Система" ИНН 2463123282 ОГРН 1212400004838
Центральный офис: г. Красноярск, Академика Киренского, д.87, пом.4
Телефон: 8 (800) 777-65-74 Email: zakaz@partsell.ru
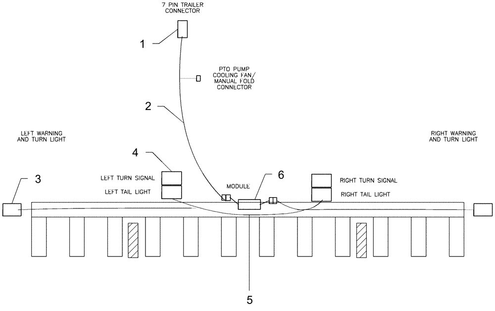
(55.404.07) - ELECTRICAL - EARLY RISER III - TRANSPORT LIGHTING LAYOUT
№
Артикул
Название
Примечание
Количество
1
121646C1
TERMINAL CONNECTOR,Female
metal 7c plug c/w cable protector
1шт.
2
87503593
CABLE
lighting, 1200 trailing planter
Rigid Trailing
87414572
HARNESS
lighting, 1200 rigid and stacker planters
Rigid Mounted and Mounted Stacker
3
87564157
WARNING LIGHT
assembly amber
2шт.
4
307122A1
LAMP
stop, tail and turn
5
405214A1
lighting, 1200 planter, bar
6
402333A1
CONTROL
module, transport lighting
Выбрано товаров: 0