Запчасти Case IH 1220 (75.200.23) - ACCUROW, COMPONENTS LAYOUT (75) - SOIL PREPARATION

Схема запчастей Case IH 1220 - (75.200.23) - ACCUROW, COMPONENTS LAYOUT (75) - SOIL PREPARATION
11
6
2
9
10
5
6
15
16
8
12
14
4
5
7
1
13
3
FIT
1:1
100%

Артикул

Название

Примечание

Количество

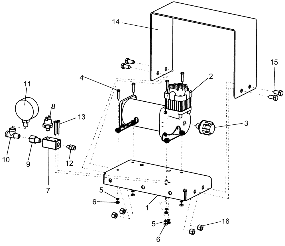
1

84169495

BASE

Compressor

1шт.

2

84169421

AIR COMPRESSOR

1шт.

2

47454056R

REMAN-COMPRESSOR

1230 MOUNTED STACKER PLANTER EARLY RISER® SERIES (7/08-), Reman for New PN 84169421

1шт.

2

47454056C

CORE-COMPRESSOR

Return Number

1шт.

3

47454057

AIR FILTER

assembly 5 Micron

1шт.

4

463-11016

SCREW,Hex Hd, #10-24 x 1"

4шт.

5

80684

LOCK WASHER,4.9mm ID x 8.48mm OD x 1.19mm Thk

6шт.

6

87304

NUT,#10-24

6шт.

7

84143619

MANIFOLD

air distribution block

1шт.

8

84143639

PRESSURE SWITCH

pneumatic

1шт.

9

87306797

ADAPTER,1/4"-18 Fem NPTF x 1/4"-18 NPTF Male

1шт.

10

217-51

TEE,1/4"-18 NPTF Fem x 1/4"-18 NPTF Male Run

1шт.

11

21380

GAUGE

pressure 0-160 psi

1шт.

12

84256879

FITTING

Straight, 1/4" PTC x 1/8" npt

1шт.

13

463-11024

SCREW,Hex Hd, #10-24 x 1 1/2"

2шт.

14

84169093

SHIELD

compressor assembly

1шт.

15

88434

BOLT,Hex, 3/8" - 16 x 3/4", Gr 5

4шт.

16

87039402

NUT,3/8"-16, GB

4шт.

Выбрано товаров: 18