Запчасти Case IH 1220 (35.100.03) - HYDRAULIC SYSTEM - DRIVE/CARRYING WHEELS, 6 ROW RIGID TRAILING (35) - HYDRAULIC SYSTEMS

Схема запчастей Case IH 1220 - (35.100.03) - HYDRAULIC SYSTEM - DRIVE/CARRYING WHEELS, 6 ROW RIGID TRAILING (35) - HYDRAULIC SYSTEMS
16
14
35.116.09
35.116.08
19
24
3
6
1
6
6
20
11
16
13
22
10
18
7
5
8
5
3
21
16
11
4
6
25
20
26
3
19
18
15
4
10
9
8
2
21
17
20
1
3
5
3
20
5
16
12
9
2
17
23
FIT
1:1
100%

Артикул

Название

Примечание

Количество

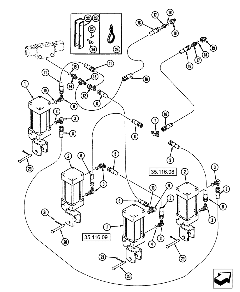
1

86991982

HYDRAULIC CYLINDER,Double Acting, 31.75mm Rod, 203.2mm Stroke

3 1/4" x 8", 3000 psi, double acting

2шт.

2

86991981

HYDRAULIC CYLINDER,Double Acting, 31.75mm Rod, 203.2mm Stroke

3" x 8", 3000 psi, double acting

2шт.

3

87329788

90 ELBOW,90 Degree, 9/16"-18, 37 Degree x 3/4"-16, O-Ring

6шт.

4

128825

O-RING,0.087" Thk x 0.644" ID, -908, Cl 6, 90 Duro

6шт.

5

810205C1

HYDRAULIC HOSE,6.35mm ID x 1820mm L, SAE 100R17

1/4" x 70" fl

2шт.

6

1284301C1

HYDRAULIC HOSE

3/8" x 45" fl

2шт.

7

76355

TEE,9/16" - 18 JIC x 9/16" - 18 JIC x 9/16" - 18 JIC

1шт.

8

1284369C1

HYDRAULIC HOSE

3/8" x 130" fl

1шт.

9

92781C1

RESTRICTOR

3/8" C-Z 2.46 orifice

2шт.

10

128825

O-RING,0.087" Thk x 0.644" ID, -908, Cl 6, 90 Duro

2шт.

11

813006C2

HYDRAULIC HOSE

3/8" x 85" fl

1шт.

12

86513014

TEE,9/16" - 18 JIC x 9/16" - 18 JIC x 9/16" - 18 JIC

1шт.

13

129274

TEE,9/16" - 18 JIC x 9/16" - 18 JIC x 9/16" - 18 JIC

1шт.

14

525646

HYD CONNECTOR,7/8" - 14 ORB x 9/16" - 18 JIC

1шт.

15

167269

O-RING,0.097" Thk x 0.755" ID, -910, Cl 6, 90 Duro

1шт.

16

1284255C1

HYDRAULIC HOSE,9.53mm ID x 4700mm L

3/8" x 185" fl

2шт.

17

128817

HYD CONNECTOR,3/4" - 16 ORB x 9/16" - 18 JIC

2шт.

18

128825

O-RING,0.087" Thk x 0.644" ID, -908, Cl 6, 90 Duro

2шт.

19

87506450

QUICK MALE COUPLING

1/2"m-tip x 1/2" fb poppet style

2шт.

20

86624078

HEADED PIN,3/4" x 3 1/4", G5

4шт.

21

87402

COTTER PIN,1/4" OD x 1-1/4" OAL

4шт.

22

1261241C93

STOP

cylinder bracket with decal

2шт.

23

1254230C2

WARNING DECAL

1шт.

23

141614A2

DECAL

cylinder stop (French)

1шт.

24

86624081

HEADED PIN,9.53mm OD x 57.15mm L

2шт.

25

86624096

COTTER PIN,Int, 3/16 x .080"

2шт.

26

87557084

CABLE TIE,14"

CABLE STRAP 14" with stainless locking clip

1шт.

Выбрано товаров: 27