Запчасти Case IH 1220 (35.116.15) - HYDRAULIC CYLINDER - 9652, 4" X 24", 12 ROW NARROW FOLD MOUNTED STACKER (35) - HYDRAULIC SYSTEMS

Схема запчастей Case IH 1220 - (35.116.15) - HYDRAULIC CYLINDER - 9652, 4" X 24", 12 ROW NARROW FOLD MOUNTED STACKER (35) - HYDRAULIC SYSTEMS
13
5
17
8
16
13
3
4
12
14
11
15
9
19
10
18
14
2
1
7
6
FIT
1:1
100%

Артикул

Название

Примечание

Количество

0

9652

HYDRAULIC CYLINDER,Double Acting, 44.5mm Rod, 610mm Stroke

4" x 24" Monarch 3000 psi no pins 1 3/4" rod 1/2" fb ports inline

1шт.

0

9652R

REMAN-HYD CYLINDER

1230 MOUNTED STACKER PLANTER EARLY RISER® SERIES, 12 ROW NARROW FOLD MOUNTED STACKER, 4" x 24" Monarch 3000 psi no pins 1 3/4" rod 1/2" fb ports inline (7/08-)

1шт.

0

9652C

CORE-HYD CYLINDER

Return Number

1шт.

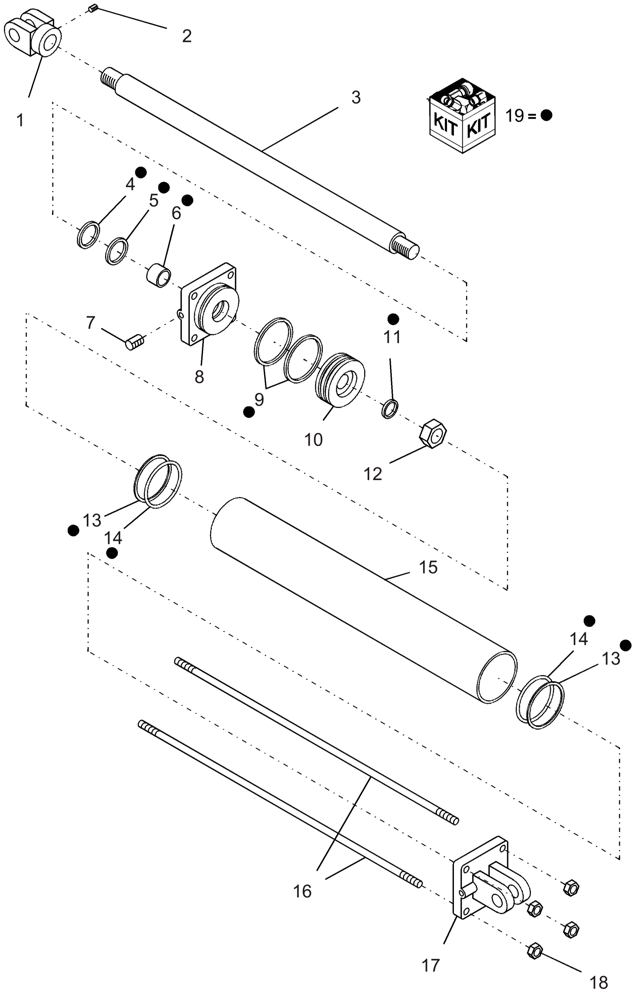
1

8945

CLEVIS

cyl rod, Monarch 1 pin (#492658)

1шт.

2

87314803

SET SCREW,Hex Skt, 3/8" - 16 x 1/2"

1шт.

3

8935

SHAFT

cylinder, 1 3/4" rod 1 1/2" -12 thread

1шт.

2a

1029632

PLUG

nylon 5/16" od x 1/4" pln solid

1шт.

4

NSS

NOT SOLD SEPARAT

wiper

1шт.

Included in repair kit 9674V2

1шт.

5

NSS

NOT SOLD SEPARAT

u-cup

1шт.

Included in repair kit 9674V2

1шт.

6

NSS

NOT SOLD SEPARAT

wear ring

1шт.

Included in repair kit 9674V2

1шт.

7

71100209

PLUG,Hex Soc, 3/4"-16 ORB

1шт.

8

51200138

CYLINDER END CAP

cap, end rod, Monarch 4" x 1 3/4"

1шт.

9

NSS

NOT SOLD SEPARAT

o-ring

2шт.

Included in repair kit 9674V2

1шт.

10

9673

PISTON

4" Monarch psp seal psi (#494735)

1шт.

11

NSS

NOT SOLD SEPARAT

o-ring

1шт.

Included in repair kit 9674V2

1шт.

12

232-46318

LOCK NUT,1 1/8"-12, GC

1шт.

13

NSS

NOT SOLD SEPARAT

o-ring backup

2шт.

Included in repair kit 9674V2

1шт.

14

NSS

NOT SOLD SEPARAT

o-ring

2шт.

Included in repair kit 9674V2

1шт.

15

8936

TUBE

cylinder, 4" x 24"

1шт.

16

87409493

BOLT

cylinder tie rod 4" x 24"

4шт.

17

87409432

HEAD

cylinder base 4" bore, 2, 3/4"-16 orb

1шт.

18

86643107

NUT,5/8" - 18, Gr 8

5/8"-18, G8

8шт.

19

9674V2

SEAL KIT

cylinder repair 4" Monarch 1 3/4" rod

1шт.

Выбрано товаров: 30